输送带输煤采样技术研究现状及发展趋势

张 佳,尹君驰,王 宏,李川江,马 博,肖 萍

(新疆工程学院 机电工程学院,新疆 乌鲁木齐 830023)

摘 要:作为煤炭质量检测的第一环节,煤炭采样技术在实际生产运用中有着十分重要的作用。基于我国煤炭产业升级和采样技术深度发展,从不同领域用煤企业实际需求出发,介绍了目前我国煤炭采样方式主要有人工采样和机械采样方式,机械采样根据应用场合又分为汽车煤采样、火车煤采样、溜管输煤采样和输送带输煤采样;综述了目前我国煤炭采样技术采用的采样标准,综述了输送带输煤采样技术在国内外的应用现状及发展历程;归纳了输送带输煤采样装置按采样位置不同分为输送带端部采样装置和输送带中部采样装置,分析了输送带端部采样装置和输送带中部采样装置的几种常见类型,并系统介绍了采样装置不同类型的结构、工作原理以及存在的主要问题;通过对目前输送带输煤采样技术及装备的现状分析,总结了目前我国输送带输煤采样技术存在的4个主要问题:①大多数采样作业未严格按照采样标准进行;②采样技术的基础研究还不够深入,采样设备的关键结构还存在一定缺陷;③采样设备智能化、自动化程度低;④采样设备管理人员专业素质不高。因考虑将智能化控制及检测技术与采样技术深度融合,不断完善采样标准、提高采样设备自动化、智能化程度以及提高输送带输煤采样机械适应能力,是未来我国输送带输送采样技术的发展方向。

关键词:煤炭;采样技术;采样装置;输送带输煤采样;煤炭质量检测

0 引 言

煤炭采样,是指从一批原煤中,通过科学的方法取出一小部分煤样,保证该煤样在成分和性质上都能代表原批煤炭的取样的过程[1]。作为对煤炭质量检测的第一环节,煤炭采样在实际生产运用中有着十分重要的作用。对一个用煤单位而言,原煤质量很大程度上影响着企业的生产效率和产品质量。一批原煤质量究竟如何,依靠的是质检部门的检测,根据实践统计,在整个煤炭检测流程中,若以方差来反映误差,则在对整个流程误差分析中,采样误差占80%,制样误差占16%,化验误差占4%。不难看出,在整个煤炭质检过程中,采样是影响煤炭检测精度的重要因素[2]

当前,我国对于煤炭采样的方式主要分为2类:人工采样和机械采样。2种采样方式在现行的国家标准中都有相应的规定。传统的人工采样方式采样结果容易受到很多因素的影响,例如:采样操作人员的专业素质、采取煤样的颗粒粒度、采样工具的尺寸规格以及采样环境位置等因素[3]。这极易造成采得的煤样代表性差,质检结果误差大的情况。相比于人工采样,机械化采样能够很好地避免这些因素的影响,并且机械化采样能够代替人工,适应于许多危险、嘈杂等恶劣的工作环境。机械化采样能有效地降低工人劳动强度和劳动成本,机械化采样俨然已成为未来采样技术领域的发展主题[4]。机械化采样依据其应用场合可分为汽车煤采样、火车煤采样、溜管输煤采样和输送带输煤采样等。目前,在我国的绝大多数煤矿、选煤厂以及活性炭公司中,对煤炭的运输采用输送带输送方式为主,这就决定了煤炭输送带输煤采样的应用逐渐增加。因此,输送带输煤采样技术的研究对于我国煤炭产业生产有着十分重要的应用价值。

1 输送带输煤采样技术研究现状

1.1 输送带输煤采样的标准和依据

为提高煤炭采样结果的代表性,2001年12月国际标准化组织制定了国际标准ISO13909:2001《硬煤和焦煤机械采样》,该标准为首次颁布的较为完整的标准[5]。该标准为当时煤炭采样方法,采样机的设计、采样性能评价提供主要参考依据。

随着采样标准的应用以及完善,我国目前采用的煤炭采样标准有2个:

1)GB/T 19494—2004《煤炭机械化采样》[6]。该标准参照国际标准ISO13909:2001《硬煤和焦煤机械采样》,并结合我国实际情况,于2004年颁布,主要介绍了采样的基本原则以及采样方案如何选取,采样设备的技术要求,以及煤样制备和制样装置的设计原则,近些年,我国煤炭机械化采样主要以标准进行参考。

2)GB 475—2008《商品煤样人工采取方法》[7]。该标准结合国外先进理念以及我国采样现状,于2008年颁布,其中规定了煤炭人工采样的定义和专业术语,人工采样的一般原则,采样方法以及人工采样工具的选择,给人工采样作业提供技术指导。

1.2 国外发展现状

国外对于煤炭采样技术的研究起步较早,早在20世纪60年代初期,以美国、英国等为代表的西方国家就开展了对煤炭开采及燃煤系统的采样技术研究,之后在制定了一系列煤质标准的同时,对煤炭采样方法、工具及煤炭分析仪器也做了相应的规定。

在输送带输煤采样技术领域,国外研究起步也是早于我国,世界上许多煤炭出口及使用大国高度重视输送带输煤采样技术,对此开展了深入的研究,发展至今,相应的煤炭输送带输送过程采样装置产品已经比较成熟。在诸多国外生产输送带输煤采样装置的厂家中,尤其以美国的江比郎公司为代表,其下的煤炭采样系统,体系众多,功能庞大,其产品更是远销世界上多个国家和地区,江比郎公司也因此一度成为美国输送带输煤采样设备重要的制造商。图1为江比郎公司生产的输送带中部采样装置[8]

图1 江比郎公司生产的输送带中部采样装置
Fig.1 Sampling device for the middle of the
belt produced by Ebirou Company

该采样装置主要包括一次采样器、下料管、物料输送带、破碎器、二次采样器、缩分器、集样器、余料返回机构以及电控系统组成,采样时,一次采样器的铲斗与运行输送带成90°,铲斗起动将输送带上的物料全断面截取,并将物料通过下料管输送至物料输送带上,随后经破碎器将物料进一步破碎,达到相应的粒度要求后,再由二次采样器进行第二次采样,最后由缩分器分成4份装入集料器中,多余出来的物料通过余料返回机构输送至原输送带上,该采样装置功能全面,采样后的物料粒度均匀,缺点是一次采样器再进行采样时,铲斗的运行轨迹为整圆,容易刮伤输送带或者造成划痕。

1.3 国内发展现状

煤炭作为我国的主体能源之一,其采样制样技术发展一直以来都深受重视。相比于国外,虽然我国煤炭输送采样设备的研究起步较晚,但经过不断的努力也取得了长足的发展。新中国成立初期,我国煤炭生产基本依靠人力和畜力,在对煤炭的采样中更是完全依靠于人工采样[9]。20世纪60年代后,我国开始从国外引进大批煤炭生产机械设备,一些国外较为简易的输送带输煤采样技术也被引进到国内。在见证了国外机械采样设备的高精度、高效率采样后,虽然国内许多用煤企业都想引进这些采样设备,但由于国外机械化采样设备造价不菲,引进成本高,许多企业只能望而却步。进入70年代,国内已经有了一套完整的采样体系,相应的采样设备也能够满足一般的煤堆采样,但输送带输煤采样机械的研发仍旧存在一些问题,例如没有明确的参考标准,采样设备功能单一等。

80年代后,国内生产煤炭机械化采样设备的逐渐增多,输送带输煤采样技术的研究人员增多,出现了很多研发生产厂家。

图2 输送带中部采样装置
Fig.2 Sampling device in the middle of the belt

中国矿业大学孟庆春等[10]研制了一种输送带中部煤样自动采集装置,主要包括机架、电机、减速器、主轴以及采样铲,电机通过减速器驱动主轴旋转,主轴带动采样铲旋转,采样时,采样铲采样铲停在输送带的一侧,采样开始,电机驱动采样铲旋转,沿煤流横断面刮扫一次,将输送带上的样煤刮扫至输送带一侧的集样槽中。再次采样时,采样铲到达到输送带另一侧,控制器可控制电机反向旋转,采样铲沿相反方向再次采样一次。该采样装置结构简单,采样效果较好,但采样铲在运动过程中容易刮伤输送带。

徐州宇克称重技术有限公司的YKTC规格的输送带头部采样机,如图3所示,以及徐州赫斯顿测控技术有限公司的HSD-YD型输送带端部采样装置,如图4所示。两者的采样原理大致相同,都是在旋转式头部采样机按所编程序,每隔一定时间间隔采样头旋转一周,从输送带机头部下落的物料流中采集一次子样,子样经过溜管进入样品给料机,给料机将初级样品连续均匀地输入破碎机,破碎机按规定的粒度要求进行破碎,破碎后的子样经过次级采样机进行二次采样缩分,最终样品进入收集罐内,余料输入斗提机或螺旋输送机等设备返回到主物料流中[11]

图3 YKTC型输送带端部采样机
Fig.3 YKTC belt end sampling machine

图4 HSD-YD型输送带端部采样机
Fig.4 HSD-YD belt end sampling machine

赛摩公司的S70型初级刮板式采样机,如图5所示,S70型初级刮板式采样机由采样头、驱动装置、位置检测装置和带防尘罩的钢结构件组成。采样头由不锈钢材料制成,并配有平衡块,装在钢结构架上,它由制动马达通过减速机驱动,带动一个扇形切割器形采样机旋转一周,从运动的输送带上刮取宽度与切割器开口相同的一个完整的横断面的样品,进而完成整个采样过程。

图5 S70型初级刮板式采样机
Fig.5 S70 primary scraper sampling machine

2 输送带输煤采样装置分类

根据采样设备在输送机上的采样位置的不同,可将输送带输煤采样装置分为输送带端部采样装置和输送带中部采样装置两大类[12-13]

2.1 输送带端部采样装置

输送带端部采样装置安装于输送机的端部位置,常见的输送带端部采样机可分为以下两类:

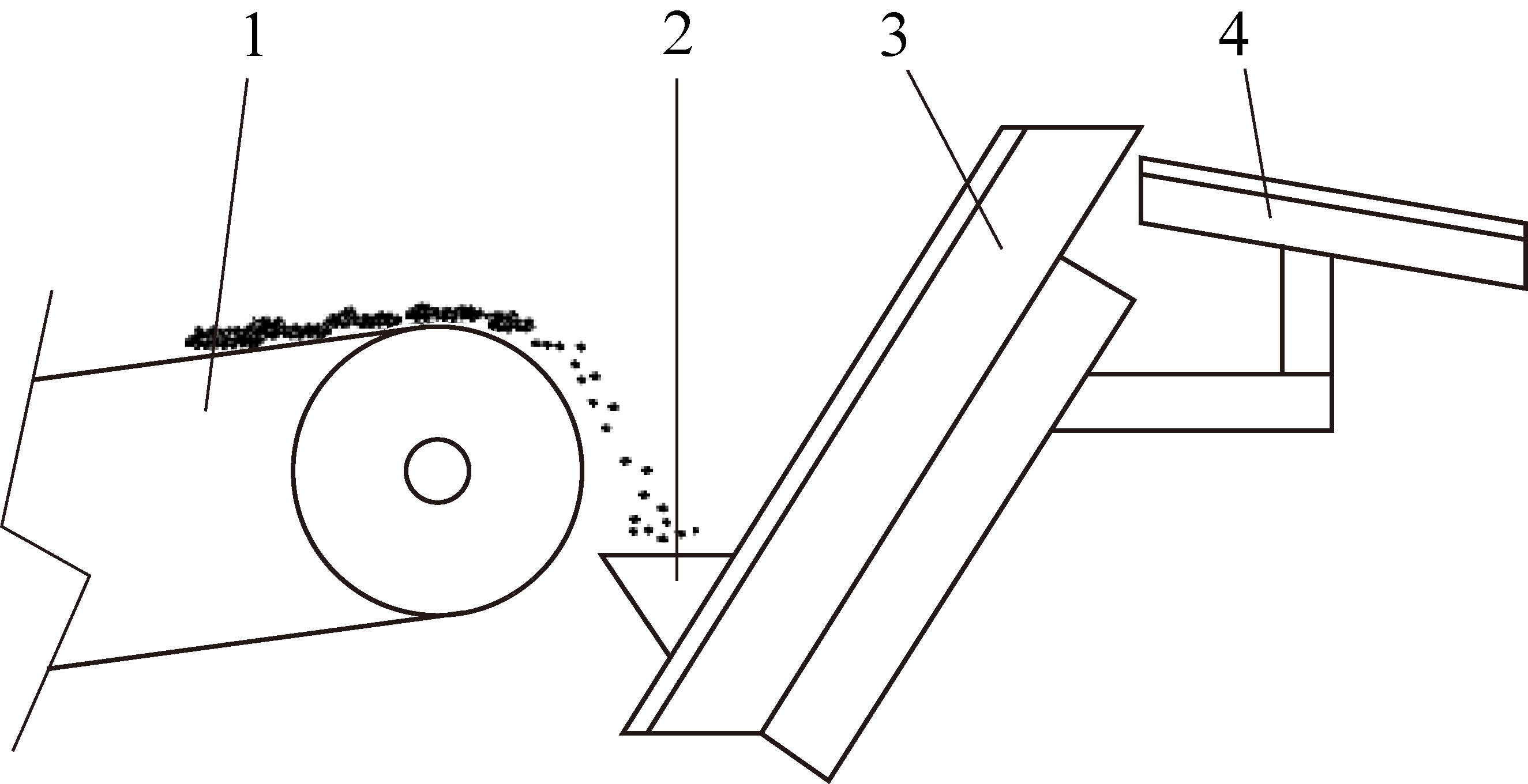
1)斗子提升式采样机。斗子提升式采机结构简图如图6所示,整个装置由采样斗、斗子提升机和集样槽组成,在采样时采样斗运动至A点位置,原煤通过落体运动进入采样斗中,之后,斗子提升机将采样斗提升至B点,并将采得的煤样倒入采样槽中完成采样过程。

1—输送机;2—采样斗;3—斗子提升机;4—集样槽
图6 斗子提升式采样装置示意
Fig.6 Schematic of bucket lifting sampling device

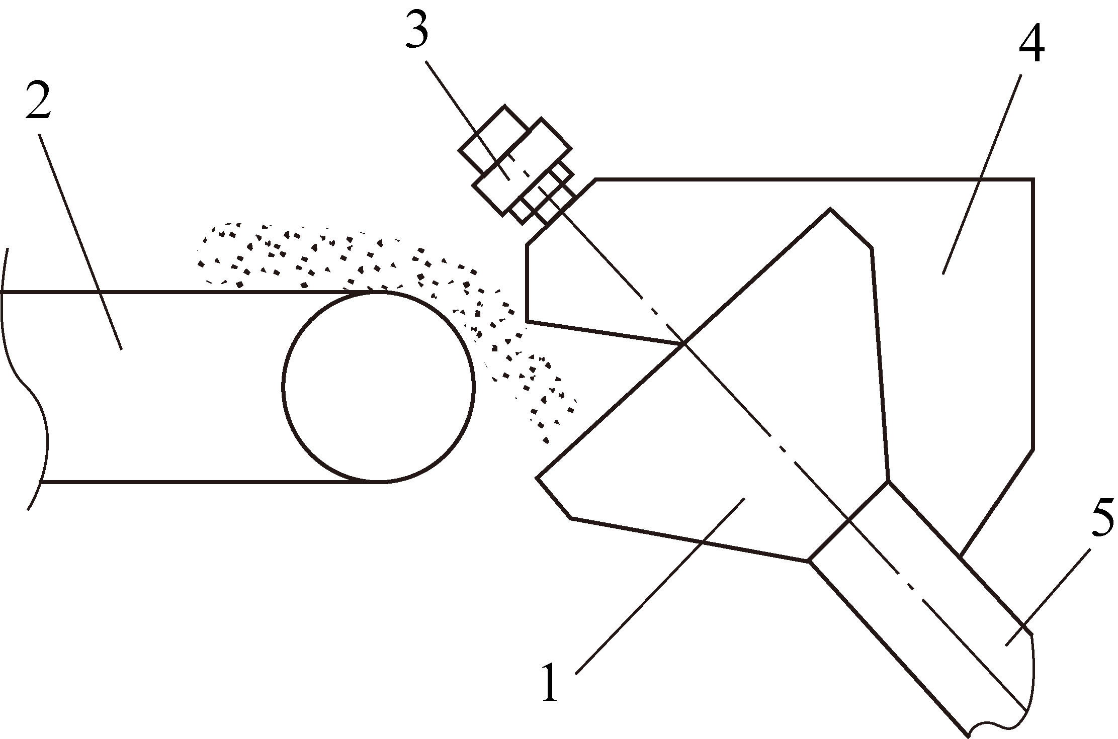
2)旋转漏斗式采样装置。旋转漏斗式采样装置主要由旋转电机、旋转采样斗以及溜管等组成,其结构简图如图7所示。工作时,旋转电机带动旋转采样斗转至煤流下端接收原煤进行采样,达到采样质量后,旋转采样斗旋转至一端位置,结束采样[14]

1—旋转采样斗;2—输送机;3—旋转电机;4—防尘罩;5—溜管
图7 旋转漏斗式采样装置示意
Fig.7 Schematic of rotating funnel sampling device

对比2类常见的输送带端部采样装置可以看出,输送带端部采样装置结构相对简单,但由于其安装位置为输送机的端部,所以往往占用的空间较大,并且在这类端部采样装置中,工作的原理大都是通过接收做斜抛运动的煤流来实现采样,这就导致采样接收装置承受的冲击大,相应传动部件承受的负载也大。

2.2 输送带中部采样装置

输送带中部采样装置种类很多,常用的可分为两类:液压式采样装置和旋转刮板式采样装置。

1)液压式采样装置。液压式采样装置由2个液压缸A、B以及机架、刮板输送机槽等部分组成,装置采用双液压缸驱动,其结构如图8所示。工作时液压缸B拉动液压缸A向上左运动,此时液压缸A处于伸出状态,其端部刮煤板刮取输送带截面煤样,煤样通过左侧滑槽进入集煤装置。当液压缸A被拉至左侧限位时,液压缸A内部进入回油状态端部缩回,缩到设定长度后液压缸B伸出推动液压缸A回到最初采样位置[15]

1—刮板输送机槽;2—伸缩液压缸A;3—伸缩液压缸B;
4—机架;5—输送带
图8 液压式采样装置结构示意
Fig.8 Schematic of hydraulic sampling device structure

液压式采样装置结构简单、工作可靠,能够完成煤炭采样工作,但由于其推动方式为液压推动,所以刮煤板运动速度较低,这样的采样速度对煤样的代表性有一定影响。

2)旋转刮板式采样装置。旋转刮板式采样装置由采样头、驱动装置、位置检测装置和带防尘罩的钢结构件组成。其结构如图9所示。

1—输送机;2—采样头;3—防尘罩;4—刮板输送机槽
图9 旋转刮板式采样装置结构示意
Fig.9 Schematicof the structure of the rotating scraper
sampling device

旋转刮板式采样装置采样方式为通过旋转采样刮板进行取样,这类装置出现较晚,技术较为成熟,采用PLC控制,工作时按照所编好的程序,每隔一定时间段电机带动采样头旋转一周,采样头上的刮煤板刮取整个煤流截面作为煤样,当采样头运动到刮板输送机槽位置时,行程开关检测到并发出信号,电机稍作停顿,等煤样完全通过刮板输送机槽后,电机返回初始停止位置,煤样则通过刮板输送机槽进入储煤罐,以此完成整个采样过程。这类采样装置采样造价低,能完成相应的采样,但由于在实际的输送带输煤过程中,输送带截面并非标准圆形,因而这类采样装置很难做到全断面采样,这对采样的精度有一定的影响[16]

3 存在问题

1)大多数采样作业未严格按照采样标准进行采样。目前,我国现行的商品煤采样相关标准主要有GB 475—2008《商品煤样人工采取方法》以及GB/T 19494—2004《煤炭机械化采样》,《煤炭机械化采样》标准规范了采样的一般原则,采样方案以及采样装备的设计,通过输送带输煤采样技术的研究现状看出,大多数输送带输煤采样设备没有严格按照采样标准进行规范采样,未对采样时间间隔以及采样数量精确确定,从而导致后期制样以及化验阶段存在误差,导致采样结果不精确[17]。此外,随着不同产业对煤炭采样需求量增加,现行国家采样标准未能及时更新,没有根据不同产业进行细化,不能满足不同产业的煤炭采样需求。

2)采样设备结构原理简单,不够优化。通过上述2类输送带输煤采样装置原理对比可以看出:输送带端部采样装置虽然结构简单,能够对煤炭进行自动采样,但由于其采样原理为依靠煤炭的抛物运动将煤炭收集至采样斗,使得采样斗承受的冲击较大,相应的机械负载也就较大,并且输送带端部采样装置对于采取煤样的量不宜进行控制。输送带中部采样装置依靠刮煤板刮取煤流作为煤样,设计结构紧凑,但现有的输送带中部采样装置的设计中,往往将输送带截面当成圆弧处理,这就导致采样装置在进行采样时并很难实现全断面采样,采得的煤样缺乏代表性。此外,输送带中部采样装置采样时由于需要接触输送带刮取煤样,这就容易刮伤输送带,并且刮煤板两侧的刮板也容易影响输送机的正常工作,对于带速较高的输送机以及最大过煤高度较大的输送机,输送带中部采样装置显然不太适合。

3)采样设备智能化、自动化程度低。近些年来,随着众多需煤企业对于煤炭质量要求的提高,煤炭质检越来越严格,传统的人工采样由于其采样精度不能得到保证,因此正逐步被机械化采样所取代,但在一些特殊场合,由于不具备安装机械采样装置的条件,人工采样依靠其采样灵活的方式仍发挥着很大的作用。一方面人工采样受到采样的方式方法、样品粒度、人员素质、工具规格以及环境位置等因素的影响,极易造成采得的煤样代表性差,误差大的情况;另一方面人工采样对工人而言劳动强度大,劳动风险也较高。现有的机械化采样装置能够对样煤进行采样,在样品收集,罐装方面还需要人工进行参与,自动化,智能化程度不高。随着自控化控制技术的飞速发展,自动化,智能化逐渐应用在工业、农业、国防等各个领域,现有的机械化采样技术很难适应现实需要。

4)采样设备管理人员专业素质低,管理不够完善。输送带采样方式由于采样代表性好,结构简单,操作简便等优点,在用煤企业采样作业中应用越来越多,然而,在采样设备的管理上存在疏忽,且管理人员的通常未经过专业培训,对采样的标准和要求理解不深,不重视批次留样量,采样间隔不做调整,从而影响总采样的准确性[18]。此外,管理人员通常只对采样设备的可靠性和稳定性进行观察,不注重采样设备的采样性能以及采样准确性,不利于采样技术的改进以及长远发展[19]

4 展 望

近年来,通过国内用煤企业以及科研单位的不懈努力,我国输送带输煤采样技术已经由被动仿制进入自主创新研发的新阶段,随着众多需煤企业对于煤炭质量要求越来越高,需求越来越多,未来我国输送带输煤采样技术重点应放在以下几个方面:

1)完善采样标准,规范采样技术要求。近些年,随着用煤企业对煤炭质量要求更高,相关科技工作者主要开展采样技术以及设备研究,以实现高质量的采样效果。科学的采样标准是采样质量的关键因素之一,但目前的采样标准、采样技术要求已经不能满足不同产业实际生产需求,实现煤炭采样技术不断发展,必须进一步完善更新国家采样标准,以及根据不同产业制定不同采样技术要求,为各产业采样设备的发展提供理论指导,对采样设备技术参数提供设计依据,同时对采样管理人员进行规范要求。

2)结合机械电子、自动化控制等技术,提高皮带采样技术智能化作业水平。目前,输送带输煤采样技术还停留在半自动化、自动化作业层面,初步能够完成定时采样作业,如果结合智能化控制、机电液驱动等技术,以及借鉴成熟的机械视觉以及智能检测技术,一方面可提高采样机械的作业效率以及采样精度,另一方面有效降低了管理人员的劳动强度[20]

3)提高输送带输煤采样机械适应能力,满足多种型号输送带采样需求。输送机的种类较多,各用煤企业因需求不同,选择不同型号的输送机,在安装采样设备时,通常需要根据用煤企业所选用输送机型号进行定制,皮带采样机械适应能力不强,在后续研发生产中,因注重采样机械适应能力的提升,调整采样机架以及采样器的结构尺寸,以满足不同型号尺寸的输送机需求。

5 结 语

1)煤炭采样是煤样检验的先期基础性作业,发展煤炭采样技术与装备是相关产业的需求,也是提升煤炭工业高质量的重要支撑。通过系统收集梳理相关资料,目前我国目前采用的煤炭采样标准有两个:国家标准GB/T 19494—2004《煤炭机械化采样》和国家标准GB 475—2008《商品煤样人工采取方法》,随着不同产业的用煤需求,煤炭采样的国家标准还需要根据不同产业、不同采样方式进一步细化和完善。

2)介绍了国内外输送带输煤采样技术及设备发展概况,归纳了输送带输煤采样装置按采样位置不同分为输送带端部采样装置和输送带中部采样装置,分析了输送带端部采样装置和输送带中部采样装置的几种类型,以及不同类型的结构和工作原理。

3)目前,我国输送带输煤采样技术虽然已取得一定进展,但仍然存在一些问题,如采样标准更新不及时,采样设备智能化、自动化程度低,采样装置管理人员专业素质不高等,随着用煤企业需求量增加,煤炭采样设备应结合计算机、自动化控制等技术,提高采样设备自动化作业水平;从理论上突破,提高输送带输送采样机械适应能力,根据不同产业用需求,细化和完善采样标准,对于加快我国自动化智能化采样机械的研发,促进煤炭产业发展具有重要意义。

参考文献(References):

[1] 安香菊.电厂煤炭全自动化机械采制样装置现状分析及其改进建议[J].山东工业技术,2018(21):153-154.

AN Xiangju.Analysis and recommendations to improve the situation Sampling mechanical devices fully automated coal powe plant[J].Shandong Industrial Technology,2018(21):153-154.

[2] 韩银成.煤质检验在选煤过程中的指导作用[J].山东工业技术,2017(16):59.

HAN Yincheng.The guiding role of coal quality inspection in the process of coal preparation[J].Shandong Industrial Technology,2017(16):59.

[3] 薛宝东,梁文彬.发电厂入厂煤人工采样和机械采样对比试验分析[J].价值工程,2011,30(15):41.

XUE Baodong,LIANG Wenbin.Comparative test analysis of manual and mechanical sampling of incoming coal from power plants[J].Value Engineering,2011,30(15):41.

[4] 韩建辉,钱 锋.关于煤炭采样方式及问题的探讨[J].山东化工,2019,48(22):117-118,122.

HAN Jianhui,QIAN Feng.Discussion on coal sampling methods and problems[J].Shandong Chemical Industry,2019,48(22):117-118,122.

[5] 冯 涛,连进京,何 军,等.煤炭采样国际标准应用中的问题探讨[J].煤质技术,2017(1):53-57.

FENG Tao,LIAN Jinjing,HE Jun,et al.Discussion on problems in the application of international standards for coal sampling[J].Coal Quality Technology,2017(1):53-57.

[6] 修淑云,曹长武.ISO 13909:2001与我国煤炭机械采样标准的制定[J].中国标准导报,2003(2):38-41.

XIU Shuyun,CAO Changwu.ISO 13909:2001 and the formulation of my country’s coal machinery sampling standards[J].China Standard Guide,2003(2):38-41.

[7] 冯 涛,谷凯军,姜兴旺.煤炭人工采样国际标准与同类标准的比较分析[J].煤质技术,2010(1):46-48.

FENG Tao,GU Kaijun,JIANG Xingwang.Comparative analysis of international standards for coal manual sampling and similar standards[J].Coal Quality Technology,2010(1):46-48.

[8] 吴永宽.美国江比朗公司的煤采样系统[J].煤质技术,2000(4):40-42.

WU Yongkuan.Coal sampling system of american jiangbilang company[J].Coal Quality Technology,2000(4):40-42.

[9] 张 楠.关节式煤炭采样机工作装置动力学仿真分析[D].西安:西安建筑科技大学,2017.

ZHANG Nan.Dynamic simulation analysis of working device of articulated coal sampler[D].Xi’an:Xi’an University of Architecture and Technology,2017.

[10] 孟庆春,陈光柱,张来宾.皮带输送机上煤样自动采集装置的设计[J].煤炭技术,2012,31(1):23-24.

MENG Qingchun,CHEN Guangzhu,ZHANG Laibing.Design of automatic coal sampling device on belt conveyor[J].CoalTechnology,2012,31(1):23-24.

[11] 姚元书.胶带端部采制样技术研究[J].煤质技术,2015(2):16-18,30.

YAO Yuanshu.Research on sampling technology of tape end[J].Coal Quality Technology,2015(2):16-18,30.

[12] 赵卫强. 薄煤层刮板输送机技术现状与改进[J]. 煤炭科学技术, 2020, 48(3):83-87.

ZHAO Weiqiang. Technical status and improvement of thin coal seam scraper conveyor[J]. Coal Science and Technology, 2020, 48(3): 83-87.

[13] 王文清,田柏林,冯海明,等. 基于激光测距矿用带式输送机多参数检测方法研究[J]. 煤炭科学技术, 2020, 48(8):131-138.

WANG Wenqing, TIAN Bailin, FENG Haiming, et al. Research on multi-parameters detection method of mine belt conveyor based on laser ranging[J]. Coal Science and Technology, 2020, 48(8):131-138.

[14] 程 建,刘志良.煤炭机械化采样系统的工作原理及设备选型[J].煤炭加工与综合利用,2004(3):29-31.

CHENG Jian,LIU Zhiliang.Working principle and equipment selection of coal mechanized sampling system[J].Coal Processing and Comprehensive Utilization,2004(3):29-31.

[15] 王海江.带式输送机自动采样装置的研制与应用[J].煤矿机电,2015(5):67-69.

WANG Haijiang.Development and application of automatic sampling device for belt conveyor[J].Coal Mine Electromechanical,2015(5):67-69.

[16] 张永顺.电厂输煤皮带样煤采集自动化系统[J].可编程控制器与工厂自动化,2008(5):122-123.

ZHANG Yongshun.Automatic coal sampling collection system for coal conveying belt in power plant[J].Programmable Controller and Factory Automation,2008(5):122-123.

[17] 刘晓华.商品煤采样性能试验的研究[D].西安:西安科技大学,2013.

LIU Xiaohua.Research on sampling performance test of commercial coal[D].Xi’an University of Science and Technology,2013.

[18] 杨文承.浅析榆神能源公司煤质管理存在问题及改进措施[J].煤质技术,2018(6):49-51.

YANG Wencheng.Analysis on the problems and improvement measures of coal quality management in Yushen Energy Company[J].Coal Quality Technology,2018(6):49-51.

[19] 王良东.电厂入厂煤胶带机械采制样装置管理现状分析及建议[J].煤质技术,2014(1):28-29,32.

WANG Liangdong.Analysis and Suggestions on the Management Status Quo of the Mechanical Sampling Device of the Coal Adhesive Belt in Power Plant[J].Coal quality technology,2014(1):28-29,32.

[20] 侯小明,罗 军,张 成.自动化与智能化胶带采制样机在黔东电厂的应用[J].煤质技术,2016(5):30-32,35.

HOU Xiaoming,LUO Jun,ZHANG Cheng.Application of automatic and intelligent belt sampling prototype machine in Qiandong Power Plant[J].Coal Quality Technology,2016(5):30-32,35.

Research status and development trend of belt coal sampling technology

ZHANG Jia,YIN Junchi,WANG Hong,LI Chuanjiang,MA Bo,XIAO Ping

(College of Mechanical Electronic,Xinjiang Institute of Engineering, Urumqi 830023,China)

Abstract:As the first link of coal quality testing, coal sampling technology plays an important role in the actual production and application. Based on the upgrading of China’s coal industry and the in-depth development of sampling technology, starting from the actual needs of coal-using enterprises in different fields, it is introduced that the current coal sampling methods in China mainly include manual sampling and mechanical sampling. According to the application situation, mechanical sampling is divided into automobile coal sampling, train coal sampling, chute coal sampling and conveyor belt coal sampling. The sampling standards of coal sampling technology in China are summarized, and the application status and development of coal sampling technology with conveyor belt at home and abroad are summarized. The coal sampling devices of conveyor belt are divided into conveyor belt end sampling devices and conveyor belt middle sampling devices according to different sampling positions. Several common types of conveyor belt end sampling devices and conveyor belt middle sampling devices are analyzed, and and the different types of sampling devices are systematically introduced. Through the analysis of the current situation of coal sampling technology and equipment of conveyor belt, four main problems existing in coal sampling technology of conveyor belt in China are summarized : ① Most of the sampling operations are not carried out in strict accordance with the sampling standards ; ② the basic research of sampling technology is not deep enough, and the key structure of sampling equipment still has certain defects ; ③ the sampling equipment is intelligent and the degree of automation is low; ④ the professional quality of the sampling equipment management personnel is not high. Considering the deep integration of intelligent control and detection technology and sampling technology, continuously improving sampling standards, improving the automation and intelligence of sampling equipment, and improving the adaptability of conveyor belt coal conveying sampling machinery are the future development direction of conveyor belt conveying sampling technology in China.

Key words:coal; sampling; sampling technology; sampling standard; sampling device; coal conveying sampling by conveyor belt

移动扫码阅读

张 佳,尹君驰,王 宏,等.输送带输煤采样技术研究现状及发展趋势[J].煤炭科学技术,2022,50(9):200-206.

ZHANG Jia,YIN Junchi,WANG Hong,et al.Research status and development trend of belt coal sampling technology[J].Coal Science and Technology,2022,50(9):200-206.

收稿日期:2021-12-25

责任编辑:周子博

DOI:10.13199/j.cnki.cst.2020-1296

基金项目:乌鲁木齐市科技局资助项目(Y161020001);新疆工程学院科研基金资助项目(2019xgy162112)

作者简介:张 佳(1987—),男,新疆乌鲁木齐人,副教授,硕士。E-mail:304165686@qq.com

中图分类号:TQ533

文献标志码:A

文章编号:0253-2336(2022)09-0200-07