矿震是矿山在采掘过程中采场围岩应力场失稳的异常状态,表现为局部弹性能突然释放而造成煤岩体震动。矿震不同于冲击地压,但矿震会诱发冲击地压,研究表明,矿震能量达到104 J时,便有可能诱发冲击[1]。从冲击地压矿井现场采掘活动来看,矿震的产生很难避免,尤其是频繁的大能量矿震将对采场围岩稳定和人员生命安全带来最直接的威胁。矿震及冲击地压是当前煤矿的典型动力灾害之一,国内外研究学者对其进行了大量深入的研究。曹安业[2]借鉴地震学参量,对矿震震源破裂机理进行了研究,并得到了矿震辐射能量的传播模式与衰减规律。肖江等[3]认为急倾斜煤层中采场煤柱连锁失稳导致上覆坚硬岩层的大面积垮落是产生矿震的主要原因,并提出“空间结构破坏型矿震”观点。姜福兴等[4]认为矿震发生一是采空区上方顶板“活化”,导致滑落或剪切失稳;二是顶板岩层移动线外扩,造成高应力集中区大范围失稳。潘俊锋等[5]通过动静加载组合试验,发现在动载破坏中,原始静载荷的大小对试件动力破坏起到加速作用。针对煤层上覆坚硬岩层活动诱发的矿震,研究人员主要从采掘活动造成顶板大面积悬顶角度考虑,并提出预裂顶板的防治措施[6-9]。文献[10-14]认为地质构造带尤其是断层构造是矿震的频发区域,采掘活动引起的断层活化是矿震产生的主要根源。上述研究在矿震发生机理及防治技术研究上均取得一定的成果,但对于既无法扰动厚硬顶板又很难促进断层活化的实体煤巷道掘进过程中的矿震发生没有给予很好的解释。
以核桃峪矿千米采深条件下实体煤巷道掘进期间的矿震发生特征和诱发的冲击破坏为基础,对矿震发生时的巷道围岩响应状态进行分析,结合理论分析与现场实际情况,对2804工作面矿震发生机制和诱冲机理进行研究。在此基础上,开展2804工作面掘进期间冲击地压防治实践。
核桃峪井田位于甘肃省庆阳市正宁县西南部,属于宁正煤田,主采煤层为8号煤层,平均厚度12.74 m,倾角2°~7°,结构简单。根据井田内钻孔柱状图,首采盘区平均埋深为966.9 m,局部超过1 000 m。井田构造总体上为一向北西方向平缓倾斜的复式单斜构造,受其南侧彬县—黄陵坳褶曲构造活动影响,呈现出向北东至北东东方向展布的宽缓隆起与凹陷,其主体为罗家堡背斜,背斜南侧发育有间距1.0~2.5 km大致呈翅状排列的2组背、向斜。根据核桃峪矿首采盘区三维勘探结果,首采盘区分布有28条断层,其中落差在10 m以上的有13条。
首采盘区地应力测试结果表明:该区域最大水平主应力为30.34 MPa,最小水平主应力为15.48 MPa,垂直应力为24.32 MPa,属于高应力区域,最大水平主应力方向为NNE方向,与巷道夹角38°。核桃峪煤矿所采8号煤层具有弱冲击倾向性,经评价煤层具有中等冲击危险。目前尚未回采,正在进行首采工作面的掘进作业,工作面两巷道沿底掘进,留设厚1.5~2.0 m底煤,掘进期间曾发生多次矿震事件,表现为巨大声响和震动,并伴有顶板急剧下沉和底板瞬间鼓起等动力现象。
2804工作面作为首采工作面,两巷均为实体煤巷道,掘进初期,大部分微震监测事件能量在104 J以下,其中能量低于103 J的微震事件占比达到94.6%。随着巷道继续掘进,开始出现声响较为巨大的煤炮,并伴有采场震动,顶板掉渣等现象,对比微震监测系统,造成矿震现象的微震事件能量均在104 J以上。能量最大的一次微震事件发生在2019年9月21日回风巷掘进工作面后方110 m处,位于向斜轴部区域,能量达到1.3×105 J,此次震动造成巷道20 m范围顶板瞬间下沉,下沉量300~400 mm,部分锚索托盘变形外翻,同时伴有200 mm左右底鼓,两帮变形100~200 mm。
2804工作面巷道开挖后,围岩应力重新分布并进入二次平衡状态。围岩由浅至深依次分为破坏区、塑性区和弹性区[15]。
由于煤体强度与围压强度呈正比关系,因此开挖前煤体在三向应力作用下并未发生破坏,外力做功以弹性变形能的形式储存在煤体之中。巷道开挖后,煤体发生卸压破坏,根据能量守恒原理,巷道系统能量发生转化,一部分转化为巷道围岩的可释放变形能(弹性能),造成围岩局部能量的积聚,另一部分则为耗散能,用于劣化煤体、裂缝破坏、产生声响、震动等。
2804工作面受大采深、地质构造影响,原岩应力场呈现非均匀性,在构造区域原岩应力及积聚的变形能都远高于其他区域。在上述高围压环境下,煤体的迅速开挖,一方面造成巷道塑性破坏区的卸压速率高于其他区域,使得弹性能向耗散能迅速转化,煤岩体更易发生破坏;而另一方面巷道弹性区内仍受高围压作用,蓄能能力增强,产生的能量积聚也高于其他区域。同时,上述能量变化导致巷道弹塑性交界区两侧的能量压降较大[16],使得极限平衡区失稳可能性增加。
一般情况下,矿震主要发生在地质构造比较复杂、构造应力较大、断裂活动较显著、岩层较坚硬的矿区。而在实体煤巷道掘进期间,对顶板及断层的扰动较弱,顶板断裂和断层活化的可能性较小,因此其矿震发生主要来自巷道围岩快速卸压带来的煤岩体破裂,造成煤岩体中聚集的弹性能以震动波形式向外释放。根据前述分析,在千米采深和断层、向斜构造影响下的高地应力异常区域,由巷道开挖带来的卸压破坏,使得塑性破坏区弹性能向耗散能迅速转化,矿震甚至冲击破坏便成为能量过快释放的一种形式。
2804工作面区域内断层及向斜构造带来水平构造应力的不均匀分布,而应力大小又与采深成正相关。在该区域进行巷道开挖必然带来高差应力,而根据摩尔准则,煤岩体破坏与差应力大小是密切相关的[17],因此,高应力区是核桃峪矿实体煤巷道掘进时矿震发生的必要条件,在不存在高应力条件时,即便存在断层构造,也很难出现矿震现象。
根据前述分析和工作面矿震显现情况,实体煤巷道掘进期间的矿震现象主要源于巷道围岩卸压作用下弹性变形能的突然释放,其震源位置较浅,释放能量相对较小,大部分情况仅表现为声响和震动,并未造成冲击破坏。但由于巷道围岩应力重新分布需要一定周期,在稳定之前,矿震现象较为频繁,单次矿震虽不足以造成冲击破坏,但局部区域的频繁矿震则会造成冲击危险性的增加。
根据2804工作面巷道掘进期间10个月的微震监测分析,能量在104 J以上微震事件的共有72次,分布如图1所示。从空间位置来看,大能量微震事件主要集中在邻近断层和向斜轴部区域,从掘进位置来看,微震发生又主要集中在掘进工作面后方150 m范围内。

图1 2804工作面掘进期间104 J以上微震事件分布情况
Fig.1 Distribution of large energy microseisms during driving of No.2804 working face (microseisms above 104 J)
2804工作面矿震事件发生时除能量1.3×105 J微震事件造成巷道显著变形外,其他仅表现为巨大煤炮和震动,巷道并未发生肉眼可见的破坏和变形。为掌握矿震对巷道破坏的影响,利用现场巷道围岩变形监测系统对大能量微震发生时的巷道围岩响应情况进行分析。此处以2019-06-26—06-28发生的2次大能量微震事件为例,分析巷道围岩响应情况,2次微震事件情况见表1。
表1 能量104 J以上微震事件详情
Table 1 Details of microseismic events with energy more than 104 J

时间1980年国家大地坐标系/mXYZ能量/J发生位置2019-06-28T20:42:013650155339071302544.53×104运输巷2019-06-26T17:07:113650160239071292631.98×104运输巷
根据微震发生时间,对应微震发生地点查询邻近巷道围岩监测系统数据,图2为2次大能量微震事件发生时,围岩监测系统的数据响应情况。

图2 围岩监测系统的数据响应情况
Fig.2 Data response of surrounding rock monitoring system
由图2围岩监测系统的数据响应情况可得,6月26日大能量微震事件发生时,顶板浅基点位移从6 mm跳增至12 mm,深基点位移则从20 mm突降至4 mm,锚索受力情况未发生明显变化。而6月28日微震事件发生时,该区域顶板深基点位移数据从不足5 mm跳增至46 mm,浅基点变化不明显,顶板锚索所受阻力直接由34 kN跳增至46 kN。结合其他微震数据及现场情况分析,当矿震能量超过104 J时,现场在表现为声响和震动的同时,巷道围岩在同一时间也会发生肉眼难以观察的变形和破坏,并且上述变化均为瞬间出现且无任何前兆;当微震事件能量超过105 J时,现场则会发生明显破坏现象。
矿震发生时对巷道产生冲击破坏的影响主要表现在以下2个方面。
1)矿震震源对煤岩体的破坏作用。根据震源破裂机制,矿震本身就以煤岩体的破裂为表现形式。由于煤体的原生裂缝存在,采掘影响下的矿震震源表现为形成破裂面并沿破裂面错动,即一般位错震源[18-19],主要表现拉张破裂与剪切破裂。因此,位于巷道附近的矿震发生时可直接对巷道围岩造成破坏,甚至诱发冲击。
2)矿震波叠加静载对煤岩体的破坏作用。矿震发生后,其释放能量以矿震波的形式向四周传播,对周边煤岩体的扰动形式表现为压缩和拉伸[20]。矿震波在传播过程中,在巷道边界会发生反射作用,并与入射波进行叠加,使得巷道围岩的震波传播路径极为复杂,但最终会造成所传播能量与围岩内初始积聚能量的叠加,当实际叠加能量超过围岩承载极限时,便会造成破坏并可能引发冲击。
核桃峪煤矿巷道低应力区,在矿震扰动下,围岩塑性破坏范围会进一步增加,能量全部用于劣化煤体,不会发生冲击,但会产生累计损伤,降低围岩的抗冲击能力;对于巷道高应力区,叠加矿震产生的能量超过围岩平衡极限后,便会转化为动能进而引发冲击破坏。矿震诱冲机制从能量转化及传播角度其流程如图3所示。

图3 核桃峪矿实体煤巷道冲击破坏能量传递流程
Fig.3 Energy transfer process of impact failure of solid coal roadway in Hetaoyu Mine
根据核桃峪煤矿巷道矿震发生机制及诱冲原理,2804工作面掘进期间的防冲工作主要从以下方面开展:①降低巷道开挖时的能量压降,从而减少矿震发生;②耗散巷道围岩高应力区的积聚能量,避免叠加后能量超限;③提高巷道破碎区支护强度,增加抗冲击能力。通过采取针对性的现场防治措施,保障2804工作面安全贯通。
针对掘进工作面前方煤岩体积聚的原始变形能,通过大直径卸压钻孔达到耗能调压的目的。一方面降低开挖后巷道边界的能量压降,另一方面提前调整前方应力分布,降低开挖时巷道围岩的卸压强度。通过上述措施,均可以缓和能量释放,从而减少大能量矿震现象。
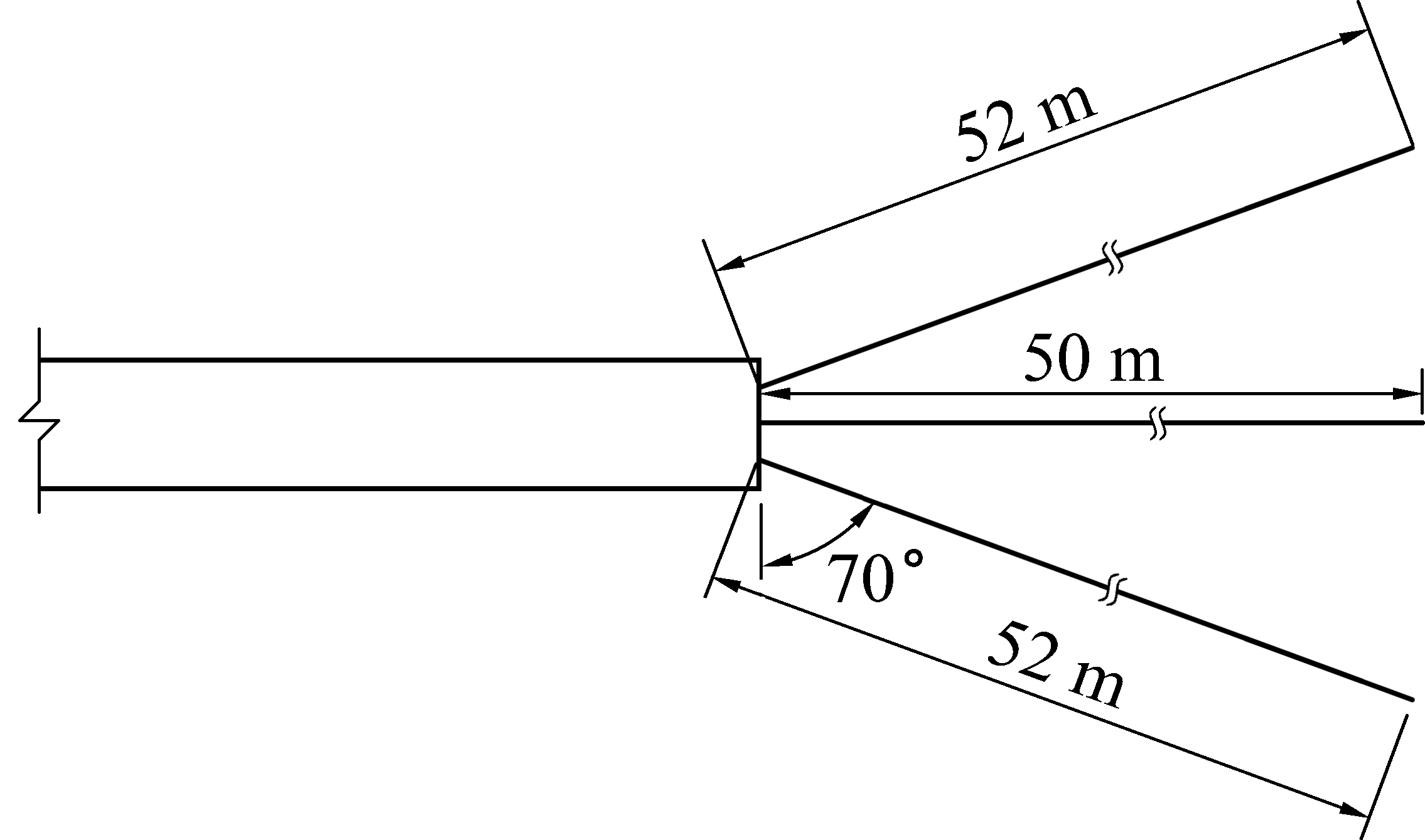
具体施工方式:在掘进工作面施工3个超前大直径卸压钻孔,孔径153 mm,孔深50 m,两侧钻孔向巷帮偏移20°,孔深为52 m,其布置参数如图4所示。当掘进工作面至卸压孔底部距离小于10 m时,补打下一轮钻孔,如此循环,即始终保证掘进工作面前方10 m处于卸压范围。

图4 掘进工作面钻孔布置
Fig.4 Layout of head-on drilling
巷道开挖后,应力重新分布,在围岩内会形成应力集中区。高应力区在矿震扰动下存在冲击危险,因此采取帮部卸压,耗散围岩内的积聚能量。帮部卸压措施为:巷道两帮各施工1排卸压孔,孔深20 m,间距1.6 m,孔径ø153 mm(图5)。

图5 巷道帮部卸压钻孔
Fig.5 Pressure relief drilling of roadway side
受大采深及多次矿震的累加损伤影响,巷道存在围岩破碎、顶板下沉等情况,针对上述问题,提出锚索补强的支护优化方案,增加巷道围岩系统的抗冲击能力。具体措施为,在原锚杆支护基础上补打ø21.8 mm锚索,顶锚索长度8 m,每排由2根增至4根,增加帮部锚索支护,长度4.3 m,每排布置3根,锚索间排距1 600 mm×1 600 mm,安装在两排锚杆间,拉拔力至250 kN。支护断面如图6所示。

图6 巷道支护强度优化方案
Fig.6 Optimization scheme of roadway support strength
2804工作面自“9.21”冲击显现后,开始采取上述防治措施,至2020年1月,工作面实现贯通。掘进过程中大能量微震事件的时间分布如图7所示,在9月份开展上述卸压工作后,大能量事件数量急剧减少,降幅最大达到55%,同时由于加强了支护,大能量事件也未对巷道造成冲击破坏,保障了2804工作面的顺利贯通。

图7 大能量微震事件时间分布
Fig.7 Time distribution of high energy microseismic events
1)核桃峪煤矿在千米采深条件下进行实体煤巷道掘进时,频繁发生矿震现象,当矿震能量超过104 J时,除发生巨响和震动外,巷道围岩会伴有肉眼难以观察的轻微破坏。
2)实体煤巷道开挖后,在地质构造形成的高应力区发生卸压作用,并造成巷道围岩弹性区与塑性破坏区的高能量压降,同时巷道围岩边界的高差应力也促使能量快速释放,从而产生矿震。
3)实体煤巷道矿震诱发冲击地压主要原因:矿震震源造成的煤岩体破裂,使得围岩强度降低;其产生的矿震波在传播过程与巷道围岩积聚能量叠加,使得极限平衡区累加能量超过其承载阈值。
4)2804工作面掘进期间,采用超前长距离钻孔降低巷道开挖时的能量压降,帮部钻孔耗散围岩所积聚弹性能,同时增加帮锚索提高巷道破碎区支护强度,实现了工作面安全贯通。
[1] 齐庆新,窦林名.冲击地压理论与技术[M].徐州:中国矿业大学出版社,2008.
[2] 曹安业.采动煤岩冲击破裂的震动效应及其应用研究[D].徐州:中国矿业大学,2009.
[3] 肖 江,王金安,索永录.急斜煤层浅部矿震机理及防治[J].辽宁工程技术大学学报(自然科学版),2010,29(1):13-16.
XIAO Jiang,WANG Jin’an,SUO Yonglu.Mechanism of mine-induced earthquake at shallow part of steep coal seam and prevention measures[J].Journal of Liaoning Technical University(Natural Science),2010,29(1):13-16.
[4] 姜福兴,姚顺利,魏全德,等.重复采动引发矿震的机理探讨及灾害控制[J].采矿与安全工程学报,2015,32(3):349-355.
JIANG Fuxing,YAO Shunli,WEI Quande,et al. Tremor mechanism and disaster control during repeated mining[J].Journal of Mining &Safety Engineering,2015,32(3):349-355.
[5] 潘俊锋,刘少虹,杨 磊,等.动静载作用下煤的动力学特性试验研究[J].中国矿业大学学报,2018,47(1):206-212.
PAN Junfeng,LIU Shaohong,YANG Lei,et al. Experimental study of dynamic characteristics of coal under static and dynamic loads[J].Journal of China University of Mining &Technology,2018,47(1):206-212.
[6] 李 康,陈建强,赵志鹏,等.临空巷道冲击地压耦合致灾因素及时空演化过程研究[J].煤炭科学技术,2019,47(12):76-82.
LI Kang,CHEN Jianqiang,ZHAO Zhipeng,et al.Study on disaster-causing factors and evolution process of rock burst in roadway near gob[J].Coal Science and Technology,2019,47(12):76-82.
[7] 翟明华,姜福兴,朱斯陶,等.巨厚坚硬岩层下基于防冲的开采设计研究与应用[J].煤炭学报,2019,44(6):1707-1715.
ZHAI Minghua,JIANG Fuxing,ZHU Sitao,et al. Research and application of mining design based on prevention of rock burst under giant thickness hard strata[J].Journal of China Coal Society,2019,44(6):1707-1715.
[8] 吕鹏飞,包鑫阳,董红娟.矿井工作面回采对微震活动的影响研究[J].中国矿业,2020,29(5):120-125.
LYU Pengfei,BAO Xinyang,DONG Hongjuan.Research on influence of micro seismic activety by working face mining in coal mine[J].China Mining Magazine,2020,29(5):120-125.
[9] 朱广安,窦林名,王红胜,等.临断层孤岛面冲击危险与断层滑移数值反演[J].煤炭学报,2020,45(2):533-541.
ZHU Guang’an,DOU Linming,WANG Hongsheng,et al. Back analysis of rock burst risk and fault slip due to mining in the island panel along fault[J].Journal of China Coal Society,2020,45(2):533-541.
[10] 潘一山,李忠华,章梦涛.我国冲击地压分布、类型、机理及防治研究[J].岩石力学与工程学报,2003,22(11):1844-1851.
PAN Yishan,LI Zhonghua,ZHANG Mengtao.Distribution,type,mechanism and prevention of rockburst in China[J].Chinese Journal of Rock Mechanics and Engineering,2003,22(11):1844-1851.
[11] 蔡 武,窦林名,王桂峰,等.煤层采掘活动引起断层活化的力学机制及其诱冲机理[J].采矿与安全工程学报,2019,36(6):1193-1202.
CAI Wu,DOU Linming,WANG Guifeng,et al. Mechanism of fault reactivation and its induced coal burst caused by coal mining activities[J].Journal of Mining &Safety Engineering,2019,36(6):1193-1202.
[12] 吕大钊,亢晓涛,聂书遥.冲击地压煤层大型构造区巷道掘进防冲技术研究与应用[J].煤矿现代化,2019(6):46-48,51.
LYU Dazhao,KANG Xiaotao,NIE Shuyao.Research and application of roadway driving and scouring prevention technology in large structural area at rockburst coal seam [J].Coal Mine Modernization,2019(6):46-48,51.
[13] 蒋 华.向斜轴区域采场围岩破裂特征及其与微震活动的相关性研究[D].北京:北京科技大学,2020.
[14] 王保齐,朱斯陶,周 涛,等.深井煤层大巷矿震发生机理及防治研究[J].煤炭技术,2020,39(3):5-8.
WANG Baoqi,ZHU Sitao,ZHOU Tao,et al. Study on the occurrence mechanism and prevention of earthquake in deep coal seam roadway [J].Coal Technology,2020,39 (3):5-8.
[15] 窦林名.采矿地球物理理论与技术[M].北京:科学出版社,2014.
[16] 郭红军.实体煤巷道掘进围岩卸荷能量演化规律与冲击机理研究[D].徐州:中国矿业大学,2019.
[17] 张月征,纪洪广,侯昭飞.基于摩尔-库仑强度理论的岩石冲击危险性判据[J].金属矿山,2014,32(11):138-142.
ZHANG Yuezheng,JI Hongguang,HOU Zhaofei.Rock impact risk criterion based on Mohr Coulomb strength theory [J].Metal Mine,2014,32 (11):138-142.
[18] 陈 凡.煤矿矿震破裂机制及其震源力学参量响应规律研究[D].徐州:中国矿业大学,2019.
[19] 李 晗,姚振兴.基于“剪切+张裂”一般位错模型频率域求解微震震源机制[J].地球物理学报,2018,61(3):905-916.
LI Han,YAO Zhenxing.Source mechanism of microseisms based on the frequency domain of the general dislocation model of “shear+tension crack”[J].Chinese Journal of Geophysics,2018,61(3):905-916.
[20] 潘一山,贾宝新,王 帅,等.矿震震波传播规律的三维模型及其应用[J].煤炭学报,2012,37(11):1810-1814.
PAN Yishan,JIA Baoxin,WANG Shuai,et al. Three dimensional model of seismic wave propagation law of mine earthquake and its application[J].Journal of China Coal Society,2012,37 (11):1810-1814.