采矿科学与工程

浅埋薄基岩工作面溃水溃砂模拟试验及影响因素分析

杨俊哲1,吴作启2,李宏杰3,4,张 彬3,4,季文博3,4

(1.国能神东煤炭集团有限责任公司,陕西 榆林 719315;2.中煤科工生态环境科技有限公司,北京 100013;3.煤炭科学技术研究院有限公司 安全分院,北京 100013;4.煤炭资源高效开采与洁净利用国家重点试验室,北京 100013)

摘 要:针对榆神府矿区首层煤炭资源开采过程中在通过古冲沟区域时多次发生溃水溃砂灾害的问题,探究了古冲沟区域埋深浅、基岩薄、松散层厚且含水的工作面溃水溃砂灾害发生机理,利用自主研发的溃水溃砂启动测试仪实现了浅埋薄基岩厚松散含水层工作面溃水溃砂灾害过程的室内试验模拟。根据溃水溃砂灾害现场特征确定了水头高度、裂缝特征(裂缝宽度和倾角)、砂土体厚度和密实度、黏土层厚度等6个溃水溃砂启动影响因素,基于正交试验原理设计并实施了25组水砂溃涌启动模拟试验,通过总结25组系列试验的试验特征得到了溃水溃砂灾害孕灾过程规律:渗水水量增大水变浑水砂突涌。利用极差分析法定量研究了不同影响因素对溃水溃砂灾害启动的影响程度,得到了水头高度是影响溃水溃砂灾害发生的最主要因素,影响程度占比为37.5%,进而提出了采前疏放水是减少溃水溃砂灾害发生的有效措施。对比分析了不同水头高度条件下溃水溃砂灾害的孕灾与灾害特征,研究得到了灾害启动临界水力坡降与其他影响因素的数学关系,为溃水溃砂致灾机理的研究提供依据。溃水溃砂启动前松散含水层内部孔隙水压力突降的试验特征为现场灾害监测与预警提供了依据。

关键词:溃水溃砂;浅埋薄基岩;灾害监测与预警;厚松散含水层;水头高度

0 引 言

近年来,众多专家学者对薄基岩厚松散含水层工作面溃水溃砂事故开展了大量研究工作。许家林等[1-2]提出了覆岩体系中关键层的判别方法以及不同关键层组合条件对覆岩破坏特征的影响机制。黄庆享[3-5]通过陕北浅埋煤层保水开采的模拟研究与采动损害实测,揭示采动覆岩裂缝主要由上行裂缝和下行裂缝构成,采动断裂带的导通性决定着覆岩隔水层的隔水性。试验分析上行断裂带发育高度的计算公式,模拟测定下行断裂带的发育深度,基于采动裂缝发育程度与采高和隔水岩组的关系,提出以隔采比为指标的隔水性判据。侯忠杰[6-7]基于“短砌体梁”结构和“台阶岩梁”结构理论,对浅埋煤层砌体梁理论的适用性开展了研究,论证了组合关键层理论在揭示浅埋煤层覆岩破坏机理中的适用性。文献[8-11]分析了溃砂颗粒在突水溃砂过程中的受力情况,研究了水力坡度对水砂启动的影响机理以及溃水溃砂过程中孔隙水压力变化规律,形成了一整套溃水溃砂机理、预警、防治的理论技术体系,并在现场实践中取得了良好的应用效果。杨伟峰等[12-14]利用模拟试验和理论分析对浅埋薄基岩煤层开采条件下基岩破断机理及水砂流运规律开展了系统研究。许延春等[15-17]通过开展了含黏砂土流动性试验和厚松散层内部微变形规律研究,探讨了砂土体特征对溃水溃砂灾害启动的影响机理,针对裂缝岩体损伤开展了注浆加固效果试验,得到了不同岩性定量评价注浆效果的方法,为现场实践提供了理论依据。伍永平等[18]以泥砂启动理论为基础,分析了西部浅埋煤层采场条件下工作面溃水溃砂机理,以含水层高度为判定依据,给出了溃水溃砂发生条件的理论表达式。郭惟嘉等[19]研制了新型的岩层结构运动演化数控机械模拟试验系统,从模拟试验角度再现了覆岩涌水溃砂灾害孕育、发展及发生的全过程,获得了工作面开采过程中覆岩变形破坏、裂缝发育扩展、水砂通道形成及水砂突涌参数和特征。蔡光桃等[20]对采煤垮落带、断裂带上覆松散土层在有采动裂缝的情况下发生渗透变形破坏的种类、机理进行了研究,得出了上覆松散土层发生从上往下渗透变形破坏的临界水力坡度与松散土层的物理力学性质和裂缝宽度的关系。

众多专家基于溃水溃砂灾害从覆岩裂缝、松散层砂土体属性方面以试验模拟角度对薄基岩厚松散含水层工作面溃水溃砂机理开展了深入研究并取得了丰硕成果。但薄基岩厚松散含水层工作面溃水溃砂是一个很复杂的工程科学问题,其发生机理与煤层开采高度、基岩厚度、工作面位置、松散层厚度、松散层土体性质、水头高度及开采速度等多因素相关。

通过自主研发的水砂启动条件测试仪,利用正交试验原理设计不同影响因素组合条件下水砂启动试验。获得了不同试验条件下水砂溃涌试验特征,定量研究了整个灾害启动过程中砂土体内部孔隙水压力变化规律。分析了不同影响因素对水砂启动的影响程度,可以为榆神府矿区薄基岩厚松散含水层工作面安全开采提供经验参考。

1 水砂溃涌启动测试仪的研发与试验方案

1.1 试验背景

神府东胜煤田探明储量223.6 Gt,占全国煤炭资源探明储量的1/3,相当于70个大同矿区、160个开滦矿区,是我国目前探明储量最大的煤田,也是世界七大煤田之一。该煤田首层煤炭资源普遍赋存深度为100~150 m,平均煤层厚度为5 m,煤层浅而厚、基岩薄、上覆松散层厚度大是该煤田首采煤层典型赋存特征。首层煤炭资源开采过程中发生过多次溃水溃砂事故,灾害现场如图1所示(哈拉沟煤矿22402工作面)。

图1 溃水溃砂灾害现场
Fig.1 Scene of water collapse and sand disaster

榆神府矿区松散层主要是第四系和新近系松散砂层,具有较好的富水性。局部地区存在薄厚不均的黏土层。浅埋薄基岩工作面开采后,上覆岩层发生垮落破坏,由此形成的纵向贯通裂缝与上覆松散层连通,从而形成溃砂通道。若上覆松散层存在含水层时,则势能较高的潜水就会形成水源并向下流动,为松散砂的运动提供动力,最终在工作面造成溃水溃砂事故。所以溃水溃砂灾害发生需具备2个条件:①自身的水文地质条件;②上覆岩层断裂会产生纵向贯通裂缝,为水砂沿裂缝运移至工作面提供了必要条件。

但由于整个灾害的孕育与发展都在覆岩内部进行,无法对孕灾过程和灾害特征形成有效观测与定量研究。为实现溃水溃砂灾害的试验室模拟,通过试验设备的可视化功能和监测信息的定量获取与分析,再现不同影响因素组合条件下水砂溃涌启动过程及运移规律,有针对性地对溃水溃砂启动机制开展系统化研究。

1.2 试验设备研发

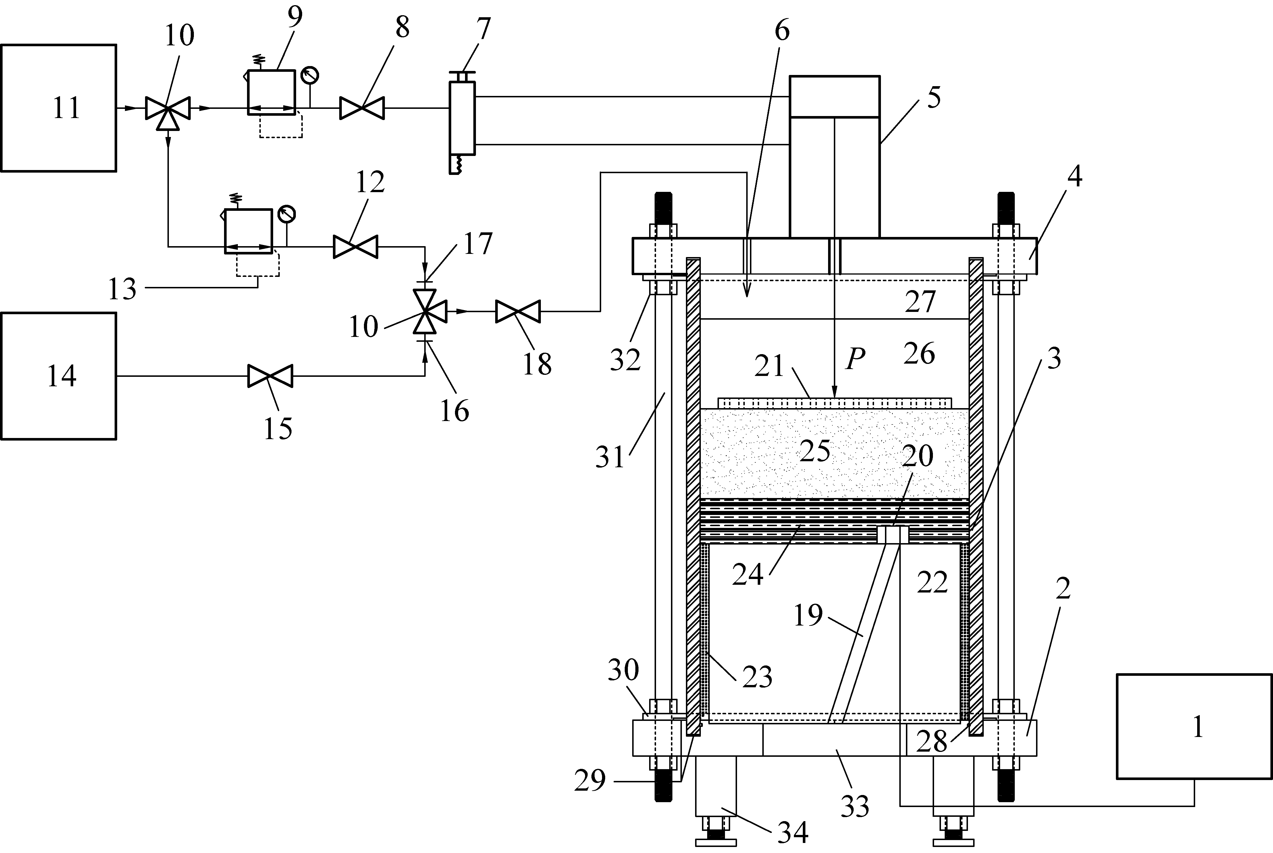
采用预制混凝土裂缝试件模拟覆岩层的裂缝形式,包括裂缝宽度和倾角,裂缝特征通过相似材料模拟试验获得。黏土及砂土密实度和上覆荷载根据模拟松散层厚度及容重计算获得,试验过程中通过气压推动土压力补充板进行荷载施加。水头压力通过气压补给水面实施加载。

将预制好的裂缝混凝土试样放在压力仓底盘上,覆盖亚克力板圆筒,圆筒与下底板之间设置1层橡胶垫以保证装置气密性,拧紧螺栓并灌入砂土,通过压力盘来控制土体的压实度,借助气压泵实现对土体的压实。为了保证测量准确性,在整个加压过程中应保证装置内的土体被压缩密实。压力室为直径400 mm,高度1 220 mm的亚克力圆筒,装置上方有1个注压孔与压力管连接,利用气压泵对压力室内的水进行加压,该装置能实现变水头的前提条件是保证装置的密闭性,通过调节气压来实现水头高度变化,气压与水头转化关系为1个标准大气压,试验装置如图2所示。松散层内部预埋孔隙水压力传感器并通过导线联通外部信息采集仪,从而获得整个试验过程中孔隙水压力变化信息。

1—水压力信息采集器;2—底座;3—透明亚克力桶;4—顶盖;5—气缸;6—注水/进气孔;7—气压反转控制阀;8—截止阀A;9—气压控制阀A;10—三通接头;11—气泵;12—截止阀B;13—气压控制阀B;14—水源;15—截止阀C;16—快速接头A;17—快速接头B;18—截止阀D;19—裂缝通道;20—水压力传感器;21—土压力补充板;22—基岩;23—嵌缝砂;24—黏土层;25—砂层;26—水层;27—空气;28—密封橡胶圈;29—亚克力桶固接槽;30—法兰片;31—螺杆;32—螺母;33—旋转螺塞;34—调平支座
图2 水砂溃涌启动测试仪结构设计
Fig.2 Test instrument structure design of water and sand burst start test

1.3 试验方案

试验拟定探究的影响因素包括:水头高度、裂缝特征(裂缝宽度和倾角)、砂土体厚度和密实度、黏土层厚度等。

根据正交试验原理和各影响因素实际工况范围共设定25组试验:根据前述换算结果,1个标准大气压101 kPa约为10 m的水头高度,根据现场情况分别模拟水头高度4、6、8、10、15 m。通过相似材料模拟试验确定采动影响下裂缝宽度为6、10、12、15、20 mm。裂缝角度设定为67.5°、70.0°、75.0°、80.0°和90.0°。根据矿区实际的情况,部分地点存在厚度不等的黏土层,试验设定黏土层厚度分别为0、5.0、7.5、10.0、12.5 cm。设置上覆松散砂土层厚度为15.0、17.5、20.0、25.0、30.0 cm(说明:第5组试验中基岩层高度、黏土层厚度和砂土层厚度的总厚度超过试验仪器纵向最大可容高度,因此该组试验采用砂土层高度27.5 cm代替30 cm)。根据实际工况条件计算并设计砂土体密实度为0.40、0.45、0.50、0.55、0.60。

2 试验现象描述与分析

模型安装完毕之后,连接孔隙水压力传感器读数仪,打开底座堵漏托盘,记录孔隙水压力观测数据,同时记录试验现象。托盘移开后,沿裂缝附近两侧点状漏水,渗水过程中水滴下落速度通常是均匀的。

当水滴匀速滴落过程结束后,开始加速下落,同时其滴水过程通常伴随孔隙内砂的流出,滴落物为砂水混合物。这是由于前期静水压力的渗透作用,导致土体内部形成渗流通道。基岩上部的水、渗透砂土和黏土达到贯穿裂缝,并在自重的作用下形成水头差,此时裂缝中的砂土在动水力作用下被冲刷下来,形成轻微的管涌现象。黏土层起到一定的阻水效果,黏土层较厚的试验组次中水滴匀速下落和加速下落过程均较薄黏土层时长。

水滴或水砂混合物加速下落后,逐渐形成连续的水砂混合物,流速增大而后突然间下落,即发生溃水溃砂。裂缝顶部周围的土体将沿着圆锥面不断下滑,形成较大范围的漏斗。圆锥形漏斗半径大小约为模型直径的1/3,漏斗顶部达到砂层顶部,漏斗下部约在黏土层以上。整个试验过程概况如图3所示。

图3 试验过程概况
Fig.3 Experimental process overview

根据上述试验现象,对发生溃水溃砂形式进行如下归纳总结:①整个试验过程中仅有水滴的下落并无上部松散砂体或者黏土流出,此类现象主要是水的渗透作用造成的,此类现象归结为渗水;②随着渗水作用逐渐发展,基岩层上部松散砂体形成微弱的渗流通道,在动水力作用下,基岩层上部砂土体沿渗水通道少量流出,此类现象归结为渗水管涌;③试验过程中水的流速在某一时刻突然增大但松散砂土层中土体流出量较少,此类现象归结为突水管涌;④试验过程中水流速在某一时刻突然增大且持续保持较高的水流速度,松散砂土和黏土均突然间倾泻而下的现象归结为溃水溃砂,溃砂后松散砂层上部将形成坍塌漏斗。

3 水砂溃涌启动影响因素分析

不同试验条件下松散砂土层溃水溃砂结果见表1。对不同水头高度条件下孔隙水压力数据进行分析,当水头高度为4 m,黏土层厚度大于7.5 cm时,松散砂土仅发生渗水现象,不会发生溃水和溃砂破坏,主要是由于此时水力坡降较小,其产生的动水力作用未能对上覆松散砂土或黏土造成渗透破坏。

表1 溃水溃砂的形式分析
Table 1 Form analysis of water and sand inrush

试验组别水头高度/m裂缝宽度/mm裂缝角度/(°)黏土层厚度/cm砂土层厚度/cm密实度试验现象水力坡降14890.0015.00.45渗水管涌22.86241067.55.017.50.50渗水管涌17.78341270.07.520.00.55渗水14.55441575.010.025.00.60渗水11.43542080.012.527.50.65渗水10.0066867.57.525.00.65渗水管涌18.46761070.010.030.00.45渗水管涌15.00861275.012.515.00.50突水管涌21.82961580.0017.50.55溃水溃砂30.001062090.05.020.00.60溃水溃砂24.00118870.012.517.50.60渗水管涌26.671281075.0020.00.65溃水溃砂35.561381280.05.025.00.45突水管涌26.671481590.07.530.00.50溃水溃砂21.331582067.510.015.00.55溃水溃砂32.001610875.05.030.00.55溃水溃砂28.5717101080.07.515.00.60溃水溃砂44.4418101290.010.017.50.65溃水溃砂36.3619101567.512.520.00.45突水管涌30.7720102070.0025.00.55溃水溃砂36.362115880.010.020.00.50突水管涌50.0022151090.012.525.00.55溃水溃砂40.0023151267.5030.00.60溃水溃砂46.1524151570.05.015.00.65溃水溃砂75.0025152075.07.517.50.45溃水溃砂60.00

黏土层的阻水作用主要表现在阻碍水在松散层中的流动,黏土层厚度≥20 cm的组次试验现象均表现为渗水;当水头高度为4~8 m,黏土层厚度为0~10 cm,裂缝宽度为8~10 mm时存在渗水管涌破坏现象;当水头高度为6~15 m,黏土层厚度为5~15 cm,裂缝宽度为8~12 mm时,水力坡降较仅产生渗水现象的试验组次大,动水力将带走上部松散砂土或黏土中较细的颗粒而形成突水管涌现象;随着水头高度的增大、黏土层厚度减小、裂缝宽度的增大,水力坡降进一步增大,溃水溃沙现象逐渐显现。整个试验的总体规律为水头高度较高、裂缝宽度较大、黏土层较薄、水力坡降较大的试验条件会导致溃水溃砂现象的发生。将前述4种试验现象的隶属度赋值并根据接近赋值的程度判断其渗透破坏形式:渗水隶属度为0,渗水管涌为1,突水管涌为2,溃水溃砂为3。

依据正交试验数据处理方法采用平均值计算得到各种试验控制条件的隶属度,根据隶属度和极差判定各因素影响趋势及影响程度,各试验条件对应的隶属度及极差见表2。

表2 各试验条件对应的隶属度及极差
Table 2 Subordinate values and range of each experimental condition

水头高度/m隶属度裂缝宽度/mm隶属度裂缝角度/(°)隶属度40.481.690.02.662.0102.267.52.082.4122.070.01.6102.8152.275.02.2152.8202.480.02.0极差2.4极差0.8极差1.0黏土层厚度/cm隶属度砂土层厚度/cm隶属度密实度Dr隶属度02.615.02.40.452.45.02.417.52.20.502.27.52.020.02.00.552.010.01.825.01.80.602.010.01.630.02.00.651.8极差1.0极差0.6极差0.6

注:

根据表2,将不同水头高度、裂缝宽度、裂缝角度、黏土层厚度、砂土层厚度、砂土密实度对应的隶属度进行绘图,得到水头高度与隶属度关系,如图4所示。

图4 水头高度与隶属度关系
Fig.4 Relationship between head height and membership value

采用极差分析法分析各因素对溃水溃砂启动条件的影响。各影响因素对溃水溃砂启动影响最重要的因素为水头高度,影响程度占37.5%。

4 水对水砂启动影响分析

4.1 水力坡降对水砂启动影响分析

水力坡降是指沿渗透途径水头损失与渗透途径长度的比值。临界水力梯度是指渗流破坏阶段的后阶段濒临流砂时对应的水力梯度。管涌破坏的临界水力梯度可根据其与土中细粒含量或土的渗透系数关系确定。

根据表1中试验结果可知,临界水力坡降与水头高度差、裂缝密度、裂缝倾角、黏土层厚度、砂土层厚度、砂土层的密实度和颗粒级配等有较为密切联系,将前述试验现象根据水力坡降大小划分为渗水无管涌型和管涌型破坏2大类,如图5所示。

图5 水力坡降与破坏类型对照
Fig.5 Hydraulic slope and damage type comparison chart

根据水力坡降划分松散砂土破坏类型,有4组试验将出现仅有渗水而无管涌的现象,有21组试验发生管涌型破坏。表1中仅有3种渗水无管涌的形式出现,这与各组试验中使用的现场砂土试样的颗粒级配不完全一致有关,但采用水力坡降划分松散砂土的破坏类型仍具有较高的精度,可用于判断富水条件下松散砂土渗透破坏的类型。根据21组发生管涌和溃水溃砂渗透破坏的临界水力坡降和对应试验条件的关系,采用数学回归分析方法计算临界水力坡降Jcr见式(1)。

Jcr=33.91+3.84Δh+0.09lD-0.03lα-1.34hc-

1.35hs+5.74Dr

(1)

R2=0.959

式中:Δh为水头高度差;lD为裂缝宽度;lα为裂缝角度;hc为黏土层厚度;hs为砂土层厚度;Dr为砂土密实度;R2为决定系数。

4.2 不同水头高度条件下孔隙水压力变化特征分析

根据试验中测得的不同试验条件下的孔隙水压力测试结果绘制孔隙水压力全过程变化曲线如图6所示,Sn为第n组试验。

由图6可知,初始阶段孔隙水压力随时间增长,主要是由于初期模型内部水头高度不断增加,而松散砂层内部渗流通道尚未形成,孔隙水压力逐渐增大。当水头高度达到设定水头高度时,静水压力作用下,裂缝内水均匀渗出,孔隙水压力基本保持均匀不变或略有降低。

图6 孔隙水压力全过程特征
Fig.6 Pore water pressure full process characteristic

随着渗水通道形成,水流速度逐渐增加,此时孔隙水压力出现下降,且下降速度较快。若试验过程中仅存在渗水而无管涌破坏,试验后期孔隙水压力会维持在一个恒定的数值,且这个数值较低,介于0~3.5 kPa。第3至第5组试验表现为上述特征。若试验过程中出现了渗水管涌破坏,则下落的水砂混合物中携带少量泥砂,此时砂土内部形成一定渗透通道,孔隙水压力将逐渐降低甚至接近0,第1,2,6,7和11组试验表现为上述特征。若试验过程中产生管涌或者溃砂时,涌砂和溃砂口形成后,裂缝上部含水层内部孔隙水压力急剧降低,溃涌过程结束后,裂缝上方孔隙水压力的降低几乎都不同程度地出现了较大的负压,这可能是裂缝中松散砂土突然下降后形成真空负压的缘故,这与实际开采过程覆岩出现垮落或破坏而形成的抽冒现象具有一致特征。随后孔隙水压力以较快的速度恢复到0附近,并在试验后期始终保持在0附近,表明模型上下已经通透,裂缝顶部形成邻空面。第8—10组、第12—25组试验均出现上述特征。

5 结 论

1)利用自行研发的水砂溃涌启动测试仪开展了不同影响条件下溃水溃砂灾害模拟试验,实现了溃水溃砂灾害过程的室内重现,得到了灾害演化特征并定量研究了不同影响因素对灾害启动的影响程度。水头高度在所有影响条件中贡献最大,影响程度占37.5%,实际生产中可通过采前疏放水降低松散含水层水头高度的方法减少溃水溃砂灾害的发生。

2)根据正交试验结果开展了水力坡降对溃水溃砂灾害启动影响的定量分析,结果显示临界水力坡降与水头高度差、裂缝宽度、裂缝倾角、黏土层厚度、砂土层厚度、砂土层的密实度和颗粒级配等因素有关,通过数学回归分析方法拟合得到灾害启动时临界水力坡降计算公式。

3)通过对比分析系列模拟试验过程中孔隙水压力监测结果,得到了溃水溃砂灾害从孕灾到发生的孔隙水压力变化特征。灾害发生前都存在孔隙水压力突降的灾害特征,可以为现场灾害监测与预警提供依据。

参考文献(References):

[1] 许家林,朱卫兵,王晓振.松散承压含水层下采煤突水机理与防治研究[J].采矿与安全工程学报,2011,28(3):333-339.

XU Jialin,ZHU Weibing,WANG Xiaozhen. Study on water-inrush mechanism and prevention during coal mining under unconsolidated confined aquifer [J]. Journal of Mining and Safety Engineering,2011,28(3):333-339.

[2] 许家林,王晓振,刘文涛,等.覆岩主关键层位置对导水裂缝带高度的影响[J].岩石力学与工程学报,2009,28(2):380-385.

XU Jialin,WANG Xiaozhen,LIU Wentao,et al. Effects of primary key stratum location on the height of water flowing fracture zone [J]. Chinese Journal of Rock Mechanics and Engineering,2009,28(2):380-385.

[3] 黄庆享.浅埋煤层保水开采隔水层稳定性的模拟研究[J].岩石力学与工程学报,2008,28(5):987-992.

HUANG Qingxiang. Simulation of clay aquifuge stability of water conservation mining in shallow-buried coal seam [J]. Chinese Journal of Rock Mechanics and Engineering,2008,28(5):987-992.

[4] 黄庆享.浅埋煤层覆岩隔水性与保水开采分类[J].岩石力学与工程学报,2010,29(S2):3622-3627.

HUANG Qingxiang. Impermeability of overburden rock in shallow buried coal seam and classification of water conservation mining [J]. Journal of Rock Mechanics and Engineering,2010,29 (S2):3622-3627.

[5] 黄庆享.浅埋煤层保水开采岩层控制研究[J].煤炭学报,2017,42(1):50-55.

HUANG Qingxiang. Research on roof control of water conservation mining in shallow seam [J]. Journal of China Coal Society,2017,42(1):50-55.

[6] 侯忠杰.地表厚松散层浅埋煤层组合关键层的稳定性分析[J].煤炭学报,2000,25(2):127-131.

HOU Zhongjie. Analysis of combinatorial key strata stability in shallow coal seam with thick loose bed [J]. Journal of China Coal Society,2000,25(2):127-131.

[7] 侯忠杰.对浅埋煤层“短砌体梁”“台阶岩梁”结构与砌体梁理论的商榷[J].煤炭学报,2008,33(11):1201-1204.

HOU Zhongjie. Concept of both short voussoir beam and step beam in shallow seam and voussoir beam theory [J]. Journal of China Coal Society,2008,33(11):1201-1204.

[8] 隋旺华,蔡光桃,董青红.近松散层采煤覆岩采动裂缝水砂突涌临界水力坡度试验[J].岩石力学与工程学报,2007,26(10):2084-2091.

SUI Wanghua,CAI Guangtao,DONG Qinghong. Experimental research on critical percolation gradient of quicksand across overburden fissures due to coal mining near unconsolidated soil layers [J]. Chinese Journal of Rock Mechanics and Engineering,2007,26(10):2084-2091.

[9] 隋旺华,董青红.近松散层开采孔隙水压力变化及其对水砂突涌的前兆意义[J].岩石力学与工程学报,2008,27(9):1908-1916.

SUI Wanghua,DONG Qinghong. Variation of pore water pressure and its precursor significance for quicksand disasters due to mining near unconsolidated formations [J]. Chinese Journal of Rock Mechanics and Engineering,2008,27(9):1908-1916.

[10] 梁艳坤,隋旺华,朱 涛,等.哈拉沟煤矿垮落带破碎岩体溃砂的离散元数值模拟研究[J].煤炭学报,2017,42(2):470-476.

LIANG Yankun,SUI Wanghua,ZHU Tao,et al. Numerical simulation of quicksand through the broken rocks in caving zone due to coal mining based on DEM [J]. Journal of China Coal Society,2017,42(2):470-476.

[11] 隋旺华,张改玲,姜振泉,等.矿井溃砂灾害化学灌浆治理技术现状及关键问题研究途径探讨[J].工程地质学报,2008,16(S1):73-77.

SUI Wanghua,ZHANG Gailing,JIANG Zhenquan,et al. The state-of-the-art of chemical grouting treatment for quicksand hazards in coal mines and the prospect of several key problems [J]. Journal of Engineering Geology,2008,16(S1):73-77.

[12] 杨伟峰,隋旺华,吉育兵,等.薄基岩采动裂缝水砂流运移过程的模拟试验[J].煤炭学报,2012,37(1):141-146.

YANG Weifeng,SUI Wanghua,JI Yubing,et al. Experimental research on the movement process of mixed water and sand flow across overburden fissures in thin bedrock induced by mining [J]. Journal of China Coal Society,2012,37(1):141-146.

[13] 杨伟峰.薄基岩采动破断规律与安全开采分析[J].工程地质学报,2008,16(S1) :570-573.

YANG Weifeng. Analysis of the mining failure regularity and safety mining in thin bedrock [J]. Journal of Engineering Geology,2008,16(S1):570-573.

[14] 杨伟峰.薄基岩采动破断及其诱发水砂混合流运移特性研究[D].徐州:中国矿业大学,2009.

[15] 许延春.含黏砂土流动性试验[J].煤炭学报,2008,33(5):496-499.

XU Yanchun. Fluidity test on sand blended with clay [J]. Journal of China Coal Society,2008,33(5):496-499.

[16] 许延春,刘世奇,高玉兵,等.厚松散层内部微变形规律研究[J].煤炭科学技术,2014,42(10):10-14.

XU Yanchun,LIU Shiqi,GAO Yubing,et al. Research on tiny deformation law in thickness alluvium [J]. Coal Science and Technology,2014,42(10):10-14.

[17] 许延春,李见波.注浆加固工作面底板突水“孔隙-裂缝升降型”力学模型[J].中国矿业大学学报,2014,43(1) :49-55.

XU Yanchun,LI Jianbo. “Pore-fractured lifting type” mechanical model for floor water inrush of the grouting enforcement working face [J]. Journal of China University of Mining and Technology,2014,43(1):49-55.

[18] 伍永平,卢名师.浅埋采场溃砂发生条件分析[J].矿山压力与顶板控制,2004,3:57-58,61.

WU Yongping,LU Mingshi. Analysis of the conditions of sand occurrence in shallow mining stope [J]. Mine Pressure and Roof Management,2004,3:57-58,61.

[19] 郭惟嘉,王海龙,陈绍杰,等.采动覆岩涌水溃砂灾害模拟试验系统研制及应用[J].岩石力学与工程学报,2016,35(7):1415-1422.

GUO Weijia,WANG Hailong,CHEN Shaojie,et al. Development and application of simulation test system for water and sand inrush across overburden fissures due to coal mining [J]. Chinese Journal of Rock Mechanics and Engineering,2016,35(7):1415-1422.

[20] 蔡光桃,武 伟.采煤冒裂带上覆松散土层渗透变形机理与试验研究[J].煤矿安全,2008,39(10):11-14.

CAI Guangtao,WU Wei. Research on seepage mechanism of over burden soil layers above fractured rock mass due to mining coal [J]. Safety in Coal Mines,2008,39(10):11-14.

Simulation test of water and sand burst in shallow and thin bedrockface and analysis of influencing factors

YANG Junzhe1,WU Zuoqi2,LI Hongjie3,4,ZHANG Bin3,4,JI Wenbo3,4

(1.CHN Energy Shendong Coal Group Corporation,Yulin 719315,China;2.CCTEG Ecological Environment Technology Co.,Ltd.,Beijing 100013,China;3.Mine Safety Technology Branch of China Coal Research Institute,Beijing 100013,China;4.State Key Laboratory of Coal Mining and Clean Utilization,Beijing 100013,China)

Abstract:Aiming at the problem of multiple water and sand disasters in the ancient gully area during the mining process of the first layer of coal resources in Yushenfu Mining Area,the problem of shallow buried depth,thin bedrock,thick loose layer and water in the ancient gully area was explored. The water and sand burst disaster mechanism of the working face,the self-developed water and sand burst start tester was used to realize the indoor test simulation of the water burst and sand burst disaster process of the shallow buried and thin bedrock thick loose aquifer. According to the site characteristics of the water and sand disaster,six factors affecting the initiation of water and sand burst,including water head height,the fracture characteristics (fracture size and inclination),the thickness and compactness of the sand body,and the thickness of the clay layer. The design was based on the principle of orthogonal experiment,and 25 sets of water-sand burst start-up simulation tests were carried out. By summarizing the test characteristics of 25 series of experiments,the law of the process of disasters caused by water and sand disasters was obtained: water seepage - water volume increase - water mixing - water sand sand bursts. The degree of influence of different influencing factors on the initiation of water and sand disasters was quantitatively studied by using the range analysis method. It is found that the height of the head is the most important factor affecting the occurrence of water and sand disasters,and the influence degree is 37.5%. Furthermore,it is proposed that draining water before mining is an effective measure to reduce the occurrence of water and sand disasters. A comparative analysis of the hazards and disaster characteristics of water burst and sand burst disasters under different water head heights was made,and the mathematical relationship between the critical hydraulic slope initiation of the disaster and other influencing factors was obtained,which provides a basis for the research on the mechanism of water and sand burst disaster.The experimental characteristics of the pore water pressure drop in the loose aquifer before the start of water and sand burst provides a basis for on-site disaster monitoring and early warning.

Key words:water and sand burst; shallow and thin bedrock; disaster monitoring and early warning;thick loose aquifer;water head height

中图分类号:TD823TD745

文献标志码:A

文章编号:0253-2336(2021)10-0001-08

移动扫码阅读

杨俊哲,吴作启,李宏杰,等.浅埋薄基岩工作面溃水溃砂模拟试验及影响因素分析[J].煤炭科学技术,2021,49(10):1-8.doi:10.13199/j.cnki.cst.2021.10.001

YANG Junzhe,WU Zuoqi,LI Hongjie,et al.Simulation test of water and sand burst in shallow and thin bedrock face and analysis of influencing factors[J].Coal Science and Technology,2021,49(10):1-8.doi:10.13199/j.cnki.cst.2021.10.001

收稿日期:2021-03-20

责任编辑:朱恩光

基金项目:煤炭科学技术研究院有限公司科技发展基金资助项目(2019CX-Ⅱ-13)

作者简介:杨俊哲(1964—),男,陕西洋县人,教授级高级工程师,博士。E-mail:yjunzhe@163. com