我国充填采煤技术回顾及发展现状

胡炳南1,2,刘鹏亮1,3,崔 锋1,3,王浩宇1,3

(1.煤炭科学研究总院,北京 100013;2.中煤科工集团北京土地整治与生态修复科技研究院有限公司,北京 100013;3.中煤科工开采研究院有限公司,北京 100013)

摘 要:煤矿充填开采技术在固体废弃物处置、控制采煤沉陷、提高资源采出率和建设生态矿山等方面发挥着举足轻重的作用。自20世纪初至今,世界矿山充填开采技术已有百年的发展历史。根据资料分析,按照充填材料类型划分,20世纪矿山充填技术经历了废石干式充填、水砂充填、低浓度尾砂胶结充填和膏体充填4个发展阶段,回顾了当时我国充填采煤技术的应用和发展历程以及水砂充填、矸石自溜充填等主要充填工艺。21世纪以来,我国充填采煤技术取得了快速发展,形成了固体、膏体和超高水3种充填材料和应用于综采、连采工作面的2种充填工艺,固体废弃物利用种类、充填效果、机械化程度、整体技术水平大幅提升,对充填材料及其制备输送,工作面充填工艺特点进行了归纳总结,尤其是剖析了综采工作面充填的特点及生产效率制约因素,提出应从新型装备研发、临时护顶技术、充填空间高效密封措施等方面减少充填各环节时间。最后,结合实践效果,从充填采煤能力、地表下沉系数、充填开采增加成本、资源采出率和技术适用条件方面对固体充填综采、膏体充填综采、超高水充填综采、固体充填连采、膏体充填连采5种充填采煤方式进行了分析,为各矿选择适合自身的充填方式提供了依据。

关键词:充填开采;固体充填;膏体充填;超高水充填;充填材料;充填工艺

0 引 言

世界充填采矿技术已有百年的发展历史。我国自新中国成立以来,也一直在进行煤矿充填技术的探索。伴随着采煤方法的革新、充填材料和工艺的发展,这项技术的应用和发展已经走过了60多年的历史。实施充填开采的矿井成功实现了控制地表沉陷、释放“三下”压煤、处理固体废弃物、安全生产等目标,达到了综合治理的目的。然而,由于充填开采增加充填系统和规模化的充填材料投入,工作面充填工序占用采煤时间,充填开采效率偏低、效益较差一直是阻碍推广应用的主要原因,因此亟须通过理论、技术与装备不断创新推动充填采煤技术发展。

煤矿井下充填作为采空区一项处理措施,一直以来承担处理固体废弃物和控制采煤沉陷的双重功能。当前,国家对生态环境保护高度重视,矿山固体废弃物减排和生态建设日益严格和紧迫,充填开采的重要作用愈加凸显[1-3]。2014年和2016年有关部委出台的《煤矸石综合利用管理办法》和《中华人民共和国环境保护税法》对煤矿矸石地面排放提出了严格的整治要求和措施,多省也相继发文限制并逐步取消煤矿矸石山。与此同时,相关部门也通过资源税减免,产能增量置换等方式加大对充填开采的支持力度,充填开采相关内容已成为绿色矿山建设评价指标体系及考核评分中的重要内容。充填开采在现在和未来将是重要的煤矿环保技术措施。

基于此,笔者在对20世纪国内外充填采矿技术和我国主要充填采煤工艺回顾的基础上,从充填材料和充填工艺2方面阐述了21世纪我国煤矿充填开采技术的特点和研究现状,剖析了充填工序影响综采工作面推进度的原因及解决方向,并对未来发展提出了展望。

1 20世纪国内外充填采矿技术回顾

1.1 国内外矿山充填开采发展历程

1915年,澳大利亚的塔斯马尼亚芒特莱尔和北莱尔矿应用废石充填矿房,成为世界上最早有计划的充填采矿。之后,国内外的许多金属矿山和煤矿进行了多种形式的充填开采探索和实践。按照充填材料的类型,截至20世纪末,矿山充填经历了4个发展阶段:20世纪40年代以前,以废石干式充填为主,但由于其效率低、生产能力小和劳动强度大,满足不了采矿工业发展的需要,自50年代以后废石干式充填所占比重逐年下降;20世纪40—50年代,以水砂充填为主,采用管道输送,充填效率得以提升,波兰水砂充填法采煤曾经占到总产量的50.2%。但由于水力充填开采需要脱排水,系统复杂、成本高等原因,后期逐渐减少;20世纪60—70年代,应用了低浓度尾砂胶结充填,该充填材料排水量减少,且充填体具备胶结体自立能力,但仍存在比较严重的泌水;20世纪80—90年代,开发了高浓度、膏体充填材料,该材料固结体强度进一步提高,且基本无泌水现象,采空区充填率达到95%以上。这4个发展阶段,反映了人们在充填采矿的应用实践中,针对存在的问题,逐步改进优化,追求更高的机械化程度、更高的效率、更好的岩层移动控制效果的探索过程。

国外矿山和国内金属矿开展充填采矿最早,矿井数量也最多,在充填技术的研究应用方面发挥了引领作用[4]。德国首先进行了风力充填开采试验,之后,DMT公司研究了高浓浆“尾管”充填技术,尾管随支架一起移动,可进行连续高效率高浓度膏状充填注浆;美国在Illinois某矿从地面打钻充填采空区,以提高资源采出率,保护建筑物;波兰进行了多个城镇下水砂充填开采,1967年波兰水砂充填法采煤占到总产量的50.2%;南非以粉煤灰作为充填料,进行了房柱法分层充填开采,增加了煤柱的稳定性,保护了地面建筑物。国内金属矿也较早开展了充填开采研究和应用。20世纪50年代初,废石干式充填开采成为金属矿山处理采空区的主要方法之一,1955年地下开釆的有色金属矿山中废石干式充填占38.2%,在黑色金属矿山地下开采中达到54.8%。20世纪70年代中国凡口铅锌矿、招远金矿和焦家金矿率先应用细砂胶结充填。我国金川有色金属公司二矿区1999年8月初步建成膏体充填泵送系统,1999年11月通过了鉴定,之后铜绿山铜矿、湖田铝土矿、咯拉通克铜矿等也建设了膏体充填泵送系统。

1.2 20世纪我国煤矿主要充填技术

充填技术在我国煤矿的应用和发展相对滞后,但也形成了具有煤炭生产特色的充填开采技术。最先应用且范围最广、影响最大的是水砂充填,1952年起该充填方式逐渐在抚顺、扎赉诺尔、阜新、鹤岗、辽源、蛟河、井陉、新汶等矿区推广应用,1957年水砂充填采煤量达1 117万t,占到了全国煤炭产量的15.58%,成为我国充填采煤应用史上的高峰。除此之外,还曾经应用废油母页岩、矸石、卵石等作为充填材料,释放了包括河流、村庄、建筑物等压覆的煤炭资源。20世纪我国煤矿充填开采典型实例见表1。以下以水砂充填和矸石自溜充填为例,介绍当年我国煤炭企业充填开采的工艺特点。

表1 20世纪我国煤矿充填开采典型实例
Table 1 Typical examples of filling mining in China in 20 century

序号煤矿煤层倾角及厚度采煤方法及充填方法应用目的应用年份充填材料1新汶矿务局缓倾斜厚、中厚煤层走向长壁水砂充填小汶河下采煤1956—1973河砂2抚顺胜利矿倾斜特厚煤层V型倾斜长壁上行水砂充填建筑物下采煤1964—1972废油母页岩3焦作演马庄矿缓倾斜厚煤层走向长壁风力充填村庄下采煤1968—1970矸石4井陉四矿缓倾斜厚煤层走向长壁上行水砂充填绵河下采煤1969—1972河砂、卵石5南京青龙山矿倾斜薄煤层倾斜短壁矸石自溜充填建筑物下采煤1970矸石6淮南孔集矿缓倾斜中厚煤层平板型掩护支架矸石自溜充填滨河含水砂层下采煤1970—1979碎石7蛟河矿乌林立井缓倾斜厚煤层走向长壁矸石水力充填水稻田下采煤1971—1977矸石8辽源太信矿三井缓倾斜中厚煤层走向长壁风力充填预防地面水渗漏1972—1973山砂9广州二矿急倾斜中厚煤层倾斜短壁矸石自溜充填村庄下采煤1986—1989矸石

1.2.1 水砂充填

水砂充填是将砂子、碎石或炉渣等加水制成质量分数较低的砂浆,利用管道、钻孔等自流输送到待充填地点进行充填的工艺。在水砂充填中水仅作为输送物料的载体,充入采空区后,充填料留在采空区,水渗滤出去,沿巷道水沟流入水仓,通过排水和排泥设施将渗滤出的清水和随清水流失的细泥排出地表。水砂充填系统包括:充填料开采、加工、选运系统;贮砂、水砂混合系统;输砂管路系统;供水及废水的处理系统。充填工艺为:当工作面(单体支柱支护)推进到最大控顶距时,在最小控顶距线的一排支柱上沿工作面全长,拉上多趟草绳,然后钉上帘子;在采场下部充填区一侧布置工作面临时沉淀池;连接充填管;通知注砂室进行充填工作。在充填中逐渐拆管,且根据顶板的具体情况,回收支柱复用[4]

1.2.2 矸石自溜充填

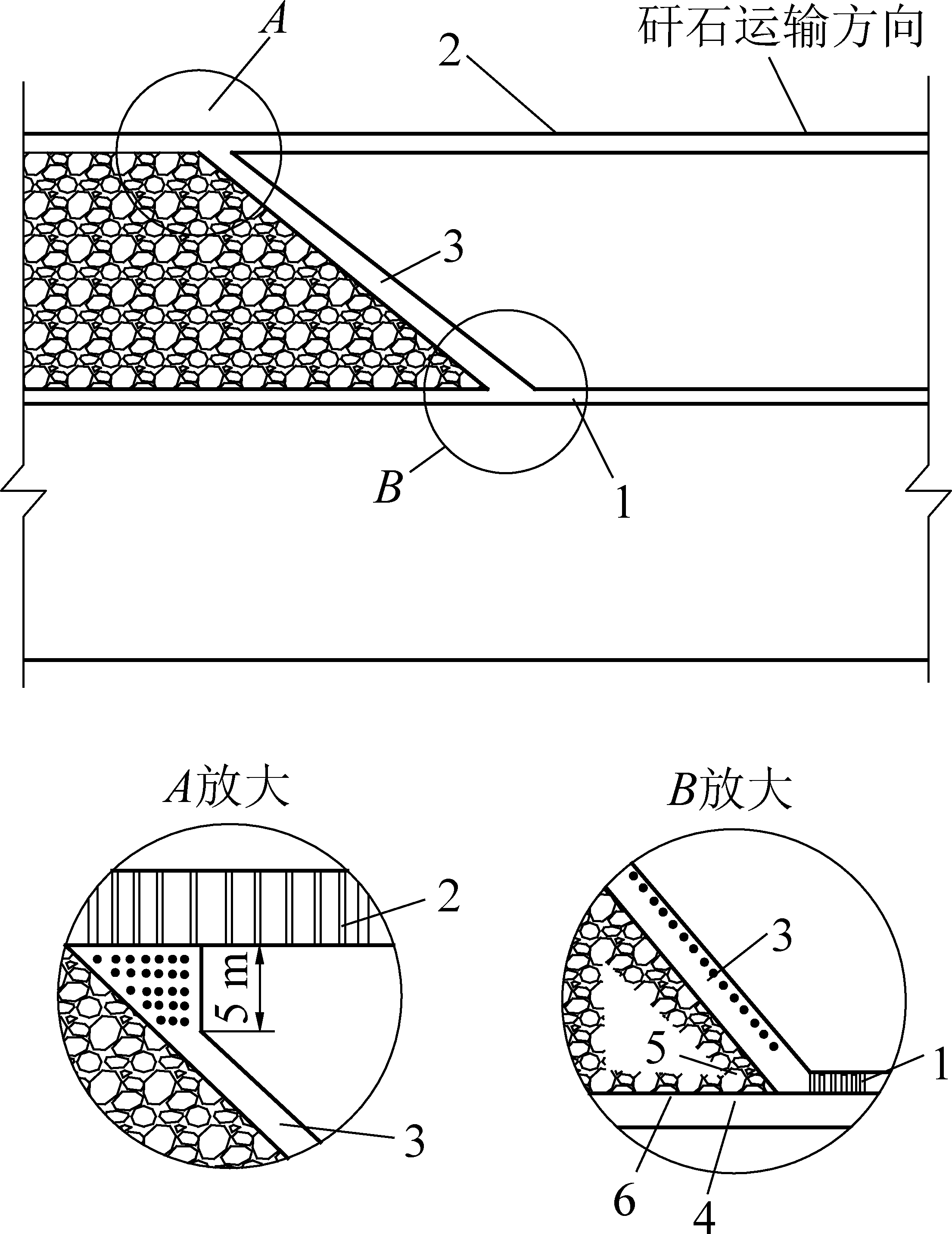
矸石自溜充填适用于倾斜或急倾斜煤层。广州二矿北三采区建筑物下压煤采用了矸石自溜充填开采。主采11号煤平均厚度1.2 m,倾角50°,倾斜阶段高约30 m,走向长115 m。工作面伪倾斜布置如图1所示。

1—区段运输平巷;2—区段回风平巷;3—回采工作面;4—下区段回风平巷;5—挡矸墙;6—底梁
图1 伪倾斜布置工作面走向长壁矸石充填法巷道布置
Fig.1 Roadway arrangement of long wall gangue filling method in pseudo inclined face

充填前在最小控顶线打密集支柱,用回柱绞车将最小控顶距外的一排支柱从下而上全部回收形成1个溜矸道;然后,在密集支柱外由下向上钉上竹笆,同时回收采空区侧的3排支柱,一次钉竹笆和回撤支柱的倾斜长度6 m。接着,由容积0.6 m3的翻斗车自图1中A处翻倒矸石进行采空区充填。按上述的钉笆、加柱、充填的顺序,一直将矸石充填到本区段回风巷为止[5]

2 21世纪我国充填采煤技术进步

进入21世纪以来,全社会环境保护意识进一步提升,充填开采技术作为重要的绿色开采手段被放在重要位置。2002年以后,煤炭行业从低谷中走出,效益逐渐好转,并开启了“黄金十年”。在此背景下,煤矿充填技术得到快速发展。2003年,毗邻邢台市区的邢东矿率先探索应用矸石巷式充填方法,实现了矸石不上井,产生了典型的示范效应[6];2006年,新汶泉沟矿实现了普采工作面的矸石充填,新汶孙村矿试验成功综采工作面矸石似膏体自流充填,太平煤矿开始应用以泗河砂为骨料的膏体泵送充填开采,长壁工作面矸石和膏体充填技术同时实现突破;2007年,新汶翟镇矿实现了综合机械化采煤工作面矸石充填;2008年,峰峰陶一矿实现了综采工作面超高水充填。上述历程表明,2003年—2008年相继研发和工业性试验成功固体、膏体、超高水3种不同类型充填材料和连(巷)采、综采充填工艺以及相应装备,并形成了井下充填开采的基本模式,有力地促进了我国煤矿充填开采技术发展,至今仍以此为基础进行改进和发展,多项研究成果达到矿山充填领域国际先进或领先水平。

2.1 充填材料及其制备输送

煤矿开采地表沉陷是煤层开采破坏岩层原有平衡状态,采空区周围岩(煤)体发生在垂直方向和水平方向上的缓慢或突发性变形、破坏和运动的结果。充填开采岩层控制的原理是通过对采空区充填物料实现对顶板的支撑,达到上覆岩层结构的“永久”平衡。但不同类型的充填材料在压力作用下力学性能不同,从而对上覆岩层的控制效果也存在差异。

2.1.1 固体充填材料

1)材料性能。固体充填材料是将满足一定粒径要求(一般≤150 mm)的固体块体或颗粒直接进行使用,其优点是充填系统较简单,成本较低。目前应用最多的是矸石,其次是粉煤灰、建筑垃圾等。多位学者对固体充填材料压缩特性进行了研究,得出了较为一致的结论[7-10],以矸石为例,固体充填材料的压缩大致可以分为3个阶段(图2):第1阶段为初步压实阶段。虽然载荷较低,但矸石块体间初始空隙量大,随着互相挤压,空隙减小,压缩量快速增加;第2阶段为破裂压密阶段。此阶段主要是矸石块体的变形、破坏,压碎矸石对细小空隙进一步填充、压密。第3阶段为整体稳定压实阶段。矸石的压缩变形量随着应力的增大以线性方式逐渐趋于平稳。

图2 矸石充填材料压实曲线
Fig.2 Compaction curve of gangue filling material

矸石充填材料大部分变形发生于前期,压缩变形幅度呈逐渐减小趋势,变形特性由散体介质逐渐向连续介质转换。在10~20 MPa应力作用下,矸石充填体的压缩量一般为30%~40%,矸石在初始较小应力(1~2 MPa)的作用下,其压缩量约为总压缩量的50%。相同压力下矸石压缩率与级配密切相关:在单一级别颗粒试验中,较细颗粒材料的压缩率低;在混合级配中,符合泰波理论压缩率最低。泰波理论(又称最大密度曲线n幂公式)认为矿质混合料组的级配曲线应在一定的范围内波动,其公式如下:

P=100(d/D)1/n

式中:P为通过百分率;n为级配指数;d为各级粒径;D为混合料最大粒径。

n在0.5附近变化时,对密实度影响较小;n为0.3~0.7,密实度尚可;n为0.35~0.45,工作性好(工艺性能好);n为0.45~0.50,密实度最大。

2)材料制备和输送。固体充填材料一般采用井下掘进或洗选矸石以及地面矸石山的矸石,采用破碎机破碎至150 mm以下。井下矸石采用矿车或带式输送机(在适时位置设置矸石仓和破碎机)输送至充填地点;为实现地面固体物料合理运输至井下,研发了固体物料垂直投料系统,即从地面垂直开掘一条投料孔至井下,并安装投料管作为固体物料的输送通道,固体物料即可从地面直接投放[11]

2.1.2 膏体充填材料

1)材料性能。膏体充填材料是由骨料(一般粒径≤15 mm)、胶凝材料、外加剂和水按照一定比例搅拌混合制成,质量分数一般70%~80%,在管路输送过程不沉淀、不离析,进入充填区域后几乎不泌水[12],凝固后形成单轴抗压强度1~5 MPa的固结体,起到支撑顶板和覆岩的效果。有学者从材料性能、应用效果等角度将该类充填材料进一步细化为似膏体或高浓度,但由于原材料来源广泛,材料特性差异巨大,膏体指标量化具有一定困难[13],目前学界尚无公认的对膏体、似膏体和高浓度的区分标准,暂以膏体统称。

膏体各组成物料中,除采用矸石作为骨料外,建筑垃圾、细河砂、风积砂等也得到应用;胶结料一般采用水泥、粉煤灰等,近年来在利用工业废渣(尤其是利用钢渣、矿渣和粉煤灰)制备胶凝材料方面取得了一定研究成果;外加剂对于调节充填材料凝固时间、流动性能等方面的能力逐渐增强,外加剂种类日益广泛。膏体充填材料存在先浆体后固体2种状态,相比固体充填材料,浆体具有流动性,在充填区域接顶率高;凝固后成为密实的固结体,强度高、压缩率小,因此在控制覆岩移动和地表沉陷方面具有明显优势。膏体充填材料配比应满足浆体状态时管道输送要求和固体状态时强度要求。充填体强度对充填效果起决定作用,合理的充填体强度不但影响采矿成本,而且影响充填体的力学行为[14]。影响充填体强度的因素主要有胶结材料种类与加入量、料浆浓度、颗粒级配及骨料的化学成分等。煤矿长壁工作面全采全充法所需膏体单轴抗压强度为2~4 MPa,相当于软弱岩石,膏体压缩率0.5%~1.0%,变形表现为明显的塑性破坏,如图3所示。

图3 某膏体单轴应力-应变曲线
Fig.3 Uniaxial stress-strain curves of a paste

2)材料制备和输送。为满足工作面充填的需求,要求的充填能力较大(一般为150~200 m3/h),制备膏体材料的充填站一般设置在地面。以矸石膏体为例,充填材料制备和输送系统包括:原料矸石供给、成品矸石制备、除尘、膏体配比搅拌、泵送、充填管道、控制阀、电气集中控制、附属设施及配套等。

膏体料浆按照输送动力分为泵送和自流2种方式。由于管道输送阻力损失较大,80%以上的充填矿井依靠泵送加压才能实现料浆输送。泵送设备使得充填系统设备投资增加,复杂性提高,应尽可能采用自流充填。作者及其团队2012年针对我国西北环境脆弱区煤炭资源大规模开采与生态环境保护的矛盾,开发了以当地地表广泛赋存的毛乌素沙漠风积砂为骨料的膏体充填材料,塑性黏度、屈服应力值仅为相同浓度矸石料浆的1/10~1/8,管道输送半工业性试验测得其管输阻力损失仅0.820 5 kPa/m,在榆阳煤矿设计建立了倍线14.9(管路总长度2 350 m、垂深158 m)的自流输送系统[15],突破了膏体自流倍线不超过4~6的传统认识,为已公开文献世界矿山自流充填最大倍线,如图4所示。应深入研究物料构成对膏体管输阻力损失影响机制,解决当前膏体管道输送阻力损失偏大的问题,扩大自流输送的应用比例。

图4 榆阳煤矿管道输送示意及与典型矿井自流倍线对比
Fig.4 Schematic diagram of pipeline transportation in Yuyang Coal Mine and comparison with self current double line of typical coal mine

2.1.3 超高水充填材料

1)充填材料性能。超高水材料与水混合制成浆体,经水化反应形成的固结体中水体积可达95%及以上,而材料本身所占体积小于5%。超高水材料由A、AA、B和BB这4种材料组成:A料主要以铝土矿、石膏等独立炼制成主料并配以复合超缓凝分散剂AA使用,加水制成A浆体;B料由石膏、石灰混磨成主料并配以少量复合速凝剂BB使用,加水制成B浆体;A,B这2种浆体以1∶1比例在充填地点混合后使用[16]。超高水充填体由于所需固料少、含水量大,摆脱了实施充填开采依赖传统大宗固体物料的束缚。

超高水材料速凝早强,有利于工作面充填效率的提高。A、B两料单浆液可持续30~40 h不凝固,混合以后材料可在8~90 min快速水化并凝固。固结体初凝强度可达到最终强度的20%,7 h抗压强度可达到最终强度的60%~90%,后期强度增长较慢,28 d强度可达到0.66~1.50 MPa。存在的主要缺点是,超高水材料固结体由钙矾石、铝胶和游离水等构成,钙矾石是其中的主要物质,因此,该材料不适于在干燥、开放、高温环境中使用。

2)材料制备及输送。超高水材料浆体制备子系统的构成由其工艺决定,包括来料接收后的储料、储水、水称量、料称量、混合搅拌、浆体储备等。浆体输送子系统实现从浆体制备点的储浆池(或桶)到使用点前混合处的连续传送。由于超高水材料充填工艺采用双浆输送系统,A、B单浆液在充填到目的地之前,必须实现充分混合,一般通过使用混合三通、混合器及混合管来完成。

2.2 工作面充填工艺

随工作面推进在顶板冒落之前及时进行充填,相比冒落区或离层带充填,能实现最大的充填量,达到最好的岩层控制效果和固体废弃物处理量。因此,随工作面推进充填是当前主要充填方式,并形成了以综采工作面充填和连采面充填为代表的工艺。

2.2.1 综采工作面充填

综采充填工作面采煤与运煤系统布置与传统综采完全相同,为实现充填材料从地面到充填工作面的高效连续输送,需布置1个充填运输系统。工作面推进按照“采煤-充填”交替循环的方式进行,即每采几刀煤,对产生的采出空间进行一次充填,交替前进。根据调研,综采充填能力目前为10~30万t/a,少数突破40万t/a,距高产高效尚有较大差距。在此有必要剖析综采工作面充填的特点及生产效率制约因素,为提出相应的解决方案提供基础。

1)综采工作面固体充填的特点及生产效率制约因素。该技术在同一液压支架掩护下实现采煤与充填作业,因此固体充填液压支架是综采固体充填的关键设备。其后方增加了一部高度可以调节的底卸式刮板输送机,通过抽板溜槽的开启和关闭实现矸石的漏放,支架底座装捣实机构,提高后方固体充填材料的密实度,如图5所示。综采固体充填工作面一般采用一刀一充的方式,充填工序为:顺平后部底卸式刮板输送机→放矸→捣实→放矸→工作面前挂网→割煤→推移前部刮板输送机→移架→下个循环。

图5 综采工作面矸石充填
Fig.5 Gangue filling in fully-mechanized mining face

固体充填液压支架几经改进,结构不断优化,对不同条件的适应性不断增强。但实践过程中主要存在以下2个问题有待解决:①由于矸石刮板输送机采用软连接吊挂于支架的后顶梁下部,工作环境比在工作面内差,相对于安设在底板上工作的刮板输送机稳定性不高,容易出现故障和机电事故,而由于空间小而使其维修难度大;②矸石充填物易与刮板输送机中板粘结,工作阻力加大,尤其是停机后物料不能清理,刮板输送机槽上粘附的物料固化,致使刮板输送机启动阻力增大[17]。上述2个问题使得工作面充填作业效率较低,此外为提高密实度而进行的夯实作业,使得充填占用时间超过采煤时间,降低工作面推进速度。

2)膏体(超高水)充填的特点及效率制约因素。膏体和超高水材料通过管道输送至综采工作面后方充填空间,充填空间吊挂充填包,充填浆液在充填包内凝固成型。工作面充填支架与固体充填支架架型不同,除满足对工作面采煤、充填作业空间顶板的支护作用外,还起到隔离的作用。膏体(超高水)充填,如图6所示。

图6 综采工作面膏体(超高水)充填示意
Fig.6 Schematic diagram of paste(ultra high water)filling in fully-mechanized ming face

充填工序主要包括:充填空间顶板维护及密封、充填作业及充填材料的凝固。其中,充填空间顶板的维护及密封对充填效果和充填效率的影响较大。

充填空间顶板的维护。根据综采工作面充填工艺,每个充填空间相当于1条随工作面推进而移动的开切眼,由于采空区范围较小,顶板一般不发生冒落,但不可避免产生掉块现象。这对在该空间内实施作业的工人造成安全威胁,同时掉块也可能将充填包砸破,造成充填漏浆。目前主要采用2种措施:①支架后方设置后尾梁,工人在后尾梁下作业;②对顶板采取临时支护措施。两者都可起到相应的作用,但也存在各自的缺点:前者设置的后尾梁具有一定的厚度(200~300 mm)和长度(1.5 m左右),占用空间无法充填,降低了充填率,受后尾梁长度限制充填步距难以增加;后者则增加了支护顶板的工序和时间,也增加了支护成本。

充填空间的密封。综采工作面充填空间呈六面体,由上循环充填体外立面、两端头煤壁(或沿空留巷挡墙)、顶底板、支架后部挡墙构成。膏体或超高水充填空间必须密闭,且侧面强度能够承受浆体的侧压力,满足这2个要求的关键在于支架后部挡墙位置。目前主要采用2种措施:①吊挂充填包;②在支架后部挡墙采空区侧沿挡墙铺设土工布至顶底板,阻隔浆体向工作面流动。两者的缺点在于:前者增加辅助材料成本较高,后者工序占用工时较多。

3)充填综采工作面“采煤-充填”循环中各工序的时间占比。以宽度100 m的充填开采工作面为例,按照一个作业循环时间为24 h,垮落法综采和充填综采各工序时间占比如图7所示。

图7 垮落法综采和充填综采每24小时各工序时间对比
Fig.7 Comparison of time proportion of each working procedure every 24 hours between general fully-mechanized mining and filling fully-mechanized mining

可以看出:①垮落法综采条件下2班采煤、1班检修,可采煤10刀。②固体充填综采条件下,采煤3刀用时4 h,充填16 h,检修8 h,充填相关时间约为采煤的4倍。③膏体充填综采条件下,采煤3刀用时4 h,密封8 h,充填4 h,凝固(检修)8 h,充填相关时间约为采煤时间的5倍;若采用超高水材料,凝固时间缩短,采煤刀数可增加为4刀,用时5 h,充填相关时间也达到了采煤时间的4倍。

综上可得,在充填综采中,充填相关工序的时间大幅超过了采煤时间,使得采煤刀数由10刀减小至3~4刀,生产效率降低约70%。因此,应针对综采工作面充填的特点,建议固体充填综采从优化底卸式刮板输送机结构等方面,膏体和超高水充填综采应从提高充填空间临时护顶和密封效率等方面入手提高充填效率。

2.2.2 连采工作面充填

连采工作面(连续采煤机短壁开采工作面)采煤形成若干支巷,为独立空间,因此连采充填工艺与综采工作面充填工艺相区别,大体为:首先进行支巷的掘进、充填,待充填体满足强度要求后,将支巷间煤柱进行回收,根据需要对回收后的空间进行充填,如图8所示。该技术特点与优势如下:掘、采、充3个工序分布在不同支巷,可实现自然隔离,采充互不干扰,平行作业;采充生产系统简单、设备人员投入少、生产管理简单、安全程度高;采用的充填材料包括固体、膏体、超高水材料等;适用于边角煤、保护煤柱等较小范围不规则煤体开采。目前已在内蒙古裕兴矿业有限公司、山西晋城无烟煤矿业集团有限公司王台铺矿等多个煤矿得到应用,单工作面生产能力可达到40万t/a。

图8 连采充填分阶段实施示意
Fig.8 Schematic diagram of continuous mining and filling in stages

2.3 不同充填采煤方式的适用性

采用不同的充填材料和工作面充填工艺,可以形成固体充填综采、膏体充填综采、超高水充填综采、固体充填连采、膏体充填连采等多种充填采煤方式。

实践效果表明,各充填采煤方式分别具有如下特点:①固体充填综采:工作面宽度100 m左右,1刀1充,每天割煤约3刀,生产能力一般20~40万t/a,下沉系数主要取决于充填率和粒径级配,一般为 0.15~0.35,吨煤增加充填成本50元左右,资源采出率85%以上,适用于煤层稳定、普通保护体场合。②膏体充填综采:工作面宽度100 m左右,2~3刀1充,生产能力一般20~40万t/a,下沉系数主要取决于充填率和充填体抗压强度,一般为0.10~0.30,吨煤增加充填成本100~150元,资源采出率85%以上,适用于煤层稳定、重要保护体场合。③超高水综采充填:工作面宽度100 m左右,3~4刀1充,生产能力一般30~50万t/a,下沉系数主要取决于充填率和充填体抗压强度,一般为0.25~0.45,吨煤增加充填成本100~150元,资源采出率85%以上,适用于缺少固体充填材料、单一煤层、普通保护体场合。④矸石充填连采:充填采煤能力取决于支巷掘进速度,可达到20~40万t/a,下沉系数主要取决于充填率和充填体抗压强度,一般为0.10~0.30,吨煤增加充填成本100~150元,资源采出率85%以上,适用于边角煤、不规则煤体及重要保护体场合。煤矿企业应结合自己的地质采矿条件、实施充填开采的目的等选择适宜的方式。

3 结论与展望

1)世界充填采矿技术已有百年的发展历史。我国煤矿充填开采技术经过60多年尤其是近20年的快速发展,形成了固体、膏体和超高水充填材料体系及综采和连采充填工艺,在我国绿色矿山建设领域发挥了重要作用。

2)综采充填工作面实现了充填开采的机械化,提高了充填效率和充填效果,但距高产高效尚有较大差距,充填相关工序挤占采煤时间,相比非充填条件生产能力降低70%左右。应从新型装备研发、临时护顶技术、充填空间高效密封措施等方面减少充填各环节时间。

3)当前,我国煤炭行业绿色发展明显提速,生态文明建设理念深入人心。充填开采必将发挥越来越重要的作用,应拓宽充填材料及技术的研究范围,如加强建筑垃圾、生活垃圾等作为充填材料的可行性研究。

参考文献(References):

[1] 刘建功,李新旺,何 团.我国煤矿充填开采应用现状与发展[J].煤炭学报,2020,45(1):141-150.

LIU Jiangong,LI Xinwang,HE Tuan.Application status and prospect of backfill mining in Chinese coal mines[J].Journal of China Coal Society,2020,45(1):141-150.

[2] 许家林,轩大洋,朱卫兵.充填采煤技术现状与展望[J].采矿技术,2011,11(3):24-30.

XU Jialin,XUAN Dayang,ZHU Weibing.Current situation and Prospect of filling coal mining technology[J].Mining Technology,2011,11(3):24-30.

[3] 胡炳南.我国煤矿充填开采技术及其发展趋势[J].煤炭科学技术,2012,40(2):40-44.

HU Bingnan.Backfill mining technology and development tendency in China coal mine[J].Coal Science and Technology,2012,40(2):40-44.

[4] 胡炳南.煤矿充填开采技术[C]//地下开采现代技术理论与实践.北京:煤炭工业出版社,2002:277-281.

[5] 李凤明.矸石自溜充填法开采建筑物下压煤可行性初探[J].煤矿开采,1994,4(2):44-47.

LI Fengming.Discussion on the feasibility of mining coal under building pressure with gangue self sliding and filling method[J].Coal Mining Technology,1994,4(2):44-47.

[6] 胡炳南,张文海,高庆潮,等.矸石充填巷式开采永久煤柱试验研究[J].煤炭科学技术,2006,34(11):46-48.

HU Bingnan,ZHANG Wenhai,GAO Qingchao.Test research on permanent pillar mining with coal refuse backfilling[J].Coal Science and Technology,2006,34(11):46-48.

[7] 刘鹏亮.矸石充填材料应力应变特征实验研究[J].矿业安全与环保,2019,46(4):13-16.

LIU Pengliang.Experiental study on stress and strain characteristic of gangue filling material[J].Mining Safety & Environmental Protection,2019,46(4):13-16.

[8] 朱川曲,周 泽,李青锋,等.矸石充填材料压缩力学特性试验研究[J].湖南科技大学学报:自然科学版,2015,30(4):1-6.

ZHU Chuanqu,ZHOU Ze,LI Qingfeng,et al.Experimental study on the compression properties of gangue[J].Journal of Hunan University of Science & Technology:Natural Science Edition,2015,30(4):1-6.

[9] 姜振泉,赵道辉,隋旺华,等.煤矸石固结压密性与颗粒级配缺陷关系研究[J].中国矿业大学学报,1999,28(3):212-213.

JIANG Zhenquan,ZHAO Daohui,SUI Wanghua,et al.Study on relationship between consolidation-compactness and size grade shortage of coal gangue[J].Journal of China University of Mining & Technology,1999,28(3):212-213.

[10] 张德辉,李 辉.连续级配矸石压缩性能的试验研究[J].辽宁工程技术大学学报:自然科学版,2011,30(3):337-340.

ZHANG Dehui,LI Hui.Experimental study on compression performance of continuous grading gangue[J].Journal of Liaoning Technical University:Natural Science,2011,30(3):337-340.

[11] 巨 峰,张吉雄,安百富.充填采煤固体物料垂直投料井施工工艺研究[J].采矿与安全工程学报,2012,29(1):38-43.

JU Feng,ZHANG Jixiong,AN Baifu.Key construction technology of vertical feeding bore hole for solid materials in backfilling coal mining[J].Journal of Mining & Safety Engineering,2012,29(1):38-43.

[12] 常庆粮.膏体充填控制覆岩变形与地表沉陷的理论研究与实践[D].徐州:中国矿业大学,2009.

CHANG Qingliang.Research on theory and practice of mining induced overlying strata deformation and surface subsidence with paste backfilling[D].Xuzhou:China University of Mining and Technology,2009.

[13] 吴爱祥,杨 莹,程海勇,等.中国膏体技术发展现状与趋势[J].工程科学学报,2018,40(5):517-525.

WU Aixiang,YANG Ying,CHENG Haiyong,et al.Status and propects of paste technology in China[J].Chinese Journal of Engineering,2018,40(5):517-525.

[14] 张新国.煤矿固体废弃物膏体充填关键技术研究[D].泰安:山东科技大学,2012.

ZHANG Xinguo.Research on key technology of coal mine solid waste paste backfilling[D].Taian:Shandong University of Science and Technology,2012.

[15] 刘鹏亮,张华兴,崔 锋,等.风积砂似膏体机械化充填保水采煤技术与实践[J].煤炭学报,2017,42(1):118-126.

LIU Pengliang,ZHANG Huaxing,CUI Feng,et al.Technology and practice of mechanized backfill mining for water protection with aeolian sand paste-like[J].Journal of China Coal Society,2017,42(1):118-126.

[16] 冯光明,李乃梁,丁 玉.煤矿超高水材料充填工艺系统与实践[J].矿业工程研究,2019,34(1):13-22.

FENG Guangming,LI Nailiang,DING Yu.Process system of filling with supper high-watermaterials and practice in coal mine[J].Mineral Engineering Research,2019,34(1):13-22.

[17] 裴家峰.充填刮板输送机的研究[J].中外企业家,2015(15):197.

PEI Jiafeng.Research on filling scraper conveyor[J].Chinese and Foreign Entrepreneurs,2015(15):197.

[18] 胡炳南,张华兴,申宝宏.建筑物、水体、铁路及主要井巷煤柱留设与压煤开采指南[M].北京:煤炭工业出版社,2017.

HU Bingnan,ZHANG Huaxing,SHEN Baohong.Guidelines for coal pillar reservation and coal mining under pressure in buildings,water bodies,railways and main shafts[M].Beijing:China Coal Industry Publishing House,2017.

Review and development status of filling coal mining technology in China

HU Bingnan1,2,LIU Pengliang1,3,CUI Feng1,3,WANG Haoyu1,3

(1.China Coal Research Institute,Beijing 100013,China;2.Beijing Science and Technology Research Institute of Land Reclamation and Ecological Restoration,China Coal Technology and Engineering Group,Beijing 100013,China;3.Coal Mining Research Institute Co.,Ltd.,China Coal Technology and Engineering Group,Beijing 100013,China)

Abstract:Coal mine filling mining technology plays a pivotal role in solid waste disposal,control of coal mining subsidence,improvement of resource recovery rate and construction of ecological mines.Since the beginning of the 20th century,the world’s mine filling and mining technology has a century of development history.According to data analysis and the types of filling materials,the filling mining technology in the 20th century experienced four development stages:dry waste filling,water sand filling,low-concentration tailings cemented filling and paste filling.The filling coal mining technology of China at that time,the application and development process of the main filling process such as water sand filling and gangue self-sliding filling were reviewed.Since the 21st century,China’s backfill mining technology has achieved rapid development,forming three types of filling materials:solid,paste,and ultra-high water,and two types of filling technologies applied to fully-mechanized and continuous mining faces.The types of solid waste utilization,the filling effect,the degree of mechanization,and the overall technical level have been greatly improved.The filling materials and their preparation and transportation,and the characteristics of the filling process of the working face were summarized.In particular,the characteristics of the filling of the fully-mechanized mining face and the production efficiency constraints were analyzed.It is proposed to reduce the time of various filling links in terms of new equipment research and development,temporary roof protection technology,and efficient sealing measures for filling spaces.Finally,combined with the practical results,from the aspects of filling coal mining capacity,surface subsidence coefficient,cost of filling mining,resource recovery rate and technical application conditions,five types of filling coal mining methods including comprehensive mining with solid filling,comprehensive mining with paste filling,comprehensive mining with ultra-high water filling,solid filling continuous mining and paste filling continuous mining were analyzed.This provides a basis for each mine to choose its own filling method.

Key words:backfill mining; solid filling; paste filling; ultra-high water filling; filling material; filling technology

中图分类号:TD823

文献标志码:A

文章编号:0253-2336(2020)09-0039-09

移动扫码阅读

胡炳南,刘鹏亮,崔 锋,等.我国充填采煤技术回顾及发展现状[J].煤炭科学技术,2020,48(9):39-47.doi:10.13199/j.cnki.cst.2020.09.004

HU Bingnan,LIU Pengliang,CUI Feng,et al.Review and development status of filling coal mining technology in China[J].Coal Science and Technology,2020,48(9):39-47.doi:10.13199/j.cnki.cst.2020.09.004

收稿日期:2020-05-22 责任编辑:朱恩光

基金项目:国家科技重大专项资助项目(2016ZX05068002-003);中国煤炭科工集团公司科技创新创业资金专项资助项目(2018-TD-MS-024)

作者简介:胡炳南(1960—),男,浙江永康人,研究员,博士。E-mail:bingnanhu@sohu.com

通讯作者:刘鹏亮(1980—),男,河北石家庄人,副研究员,博士研究生。E-mail:274966405@qq.com