瓦斯灾害是煤矿生产的主要灾害,也是煤矿安全治理难度较大的灾害[1-2]。 瓦斯抽采是防治煤矿瓦斯灾害事故的根本措施,抽采瓦斯钻孔封孔质量以及有效抽采周期决定了矿井瓦斯抽采的效果,而瓦斯抽采率又是衡量抽采效果的重要技术参数之一,因此抽采瓦斯钻孔的有效封孔技术是提高抽采率至关重要的环节[3-7]。 采用传统固态封堵方法,在瓦斯抽采初期其浓度一般较高,但随着瓦斯抽采系统的延续,在有效地应力、解吸瓦斯、抽采负压等综合作用下,抽采钻孔围岩裂隙迅速发育、扩展,封孔段与钻孔壁或其围岩拓展裂隙形成“漏气”通道,导致抽采后期孔口抽采浓度急剧下降,严重影响煤层瓦斯抽采率[8-12]。 传统的一次封孔方法对于钻孔周围产生的裂隙只能进行一次性的封堵,难以对钻孔周围中后期产生的裂隙进行封堵。 近年来,在一次封孔的基础上发展了以固体粉料为代表的正压充填裂隙的二次封孔技术来封堵钻孔周围的裂隙,虽然解决了一定问题,但是该技术的实现过程耗时长,专门的二次封孔设备需要多人配合完成,增加了生产成本,尤其是对于水含量较大的煤层钻孔,干态粉料极易遇湿结块,难以进行有效输送并实现理想的封堵效果[13-16]。 综上,传统封孔方法都是采用的“固封气”思路,即采用固体材料封堵瓦斯钻孔,进行瓦斯的负压抽采,但“固封气”方法无法有效解决钻孔周边新生裂隙的封堵问题,同时也不可能进行二次补救。 因此,瓦斯抽采钻孔的封孔问题仍然是一个技术难点。 根据相关研究表明[17]:进入抽采系统中的空气有80%是通过瓦斯抽采钻孔周围的裂隙吸入的,如果钻孔的空气吸入量减少1/2~1/3,钻孔的瓦斯流量就会增加1.5~2.0 倍。
针对煤矿瓦斯抽采钻孔周围煤岩体裂隙易受采动影响变化的特点,笔者提出“液封气”思路,在传统的“两堵一注”封孔方式基础上的实现瓦斯抽采钻孔非凝固恒压浆液封孔的技术方法,巧妙利用浆液流动特性实现在孔内及裂隙中的顺利运移,同时利用非凝固浆液在静止状态下体现的机械强度来实现裂隙的封堵,彻底解决了瓦斯抽采过程中新生裂隙难以封堵的问题,有效提高了瓦斯钻孔抽采浓度[18-20]。 进一步研制了自动定量添加注浆封孔装置,可以完全实现无人条件下对抽采瓦斯钻孔封孔状况进行自动监测,一旦钻孔周围有裂隙产生,压力下降则装置可以自动启动配浆、补浆工作,保证封孔段内浆液始终保持一种恒压状态,实现瓦斯钻孔的动态封堵过程,提高钻孔的瓦斯抽采浓度并延长有效抽采时间。
依据上述思路,笔者首先对非凝固材料在不同水灰比条件下的各种物理性能进行了研究,然后针对非凝固浆液长期保持流体状态这一特性,研发了一种智能控制瓦斯抽采钻孔非凝固恒压浆液封孔装置,实现了自动配浆、补浆作业,简化了井下工人的工作。 最后在煤矿对新的材料和装置进行了工程应用试验,结果表明:瓦斯抽采浓度提高1.6 倍,同时抽采时间延长2倍,证明该工艺技术具有良好的应用前景。
非凝固恒压浆液封堵技术的难点在于合适浆液的研制,根据实际矿井现场分析,浆液必须具备以下几个特性:要保持长时间不脱水,具有流动扩散性,抽采周期内一直保持均一稳定以及成本低廉、绿色无害等。 笔者主要研究了浆液水灰比对非凝固浆液流动度、析水率和封堵性的影响。
复合材料的主要材料为钠基膨润土和高岭土,其黏度系数大于 1 500 Pa·s,pH 值为 6.5 ~8.5,烧失量小于10%。 辅材的选择为粉煤灰、三聚磷酸钠和硅酸盐水泥的混合。 在不破坏无机复合材料性能的情况下,利用辅材颗粒密度较大的性质,增强其对微小裂隙的封堵效果。 图1 为注浆材料在干燥和与水混合后的外观特征。
图1 非凝固浆液材料在干燥和与水混合后状态
Fig.1 Non solidified slurry material before and after wetting
为了对非凝固封孔材料在不同水灰比条件下各种物理性能进行研究,笔者首先对非凝固材料在水灰比(质量比)分别为 5 ∶1~20 ∶1 的流动度、析水率进行了测试,然后根据测试结果选取流动度大,析水率小的浆液作为基液,测试其对微小裂隙的封堵效果。
非凝固浆液在不同水灰比条件下的流动度测试结果如图2 所示,水灰比为 5 ∶1 和 6 ∶1 时,浆液呈现出糊状;流动性极差。 水灰比为7 ∶1 时,浆液呈现半糊状,已经具有了一定的流动性,但流动性较差。 水灰比不小于8 ∶1 时,浆液不呈现出糊状,流动度随着水灰比的增大而增大。 当水灰比处于15 ∶1~18 ∶1时,浆液流动度随着水灰比的增加而快速增长,当浆液水灰比大于18 ∶1 后,浆液流动度增长速率缓慢,在水灰比为20 ∶1 时,浆液流动度为45.3 cm。
图2 不同水灰比下浆液流动度
Fig.2 Slurry fluidity under different water-cement ratios
图3 为不同水灰比条件下非凝固材料析水率测试结果。 从表中可以看出,随着无机复合浆液水灰比的增大,浆液析水率在逐渐增大,当浆液水灰比从5 ∶1 增加到 20 ∶1 时,浆液析水率增加了 5.5%,这也反映了非凝固材料本身很好的悬浮稳定性。 由于浆液需要长期滞留在钻孔和周边的缝隙中,为了确保浆液的稳定,取析水率小于2%的配比方案。
图3 不同水灰比下浆液析水率
Fig.3 Water yield of slurry under different water-cement ratio
根据浆液析水率测试结果,应选择水灰比不大于15 ∶1 的浆液;根据浆液流动度测试结果,浆液在5 ∶1 到 7 ∶1 之间存流动度非常差,所以排除。 考虑不同水灰比条件下的浆液析水率和流动度2 个方面的因素后,非凝固材料浆液水灰比确定为8 ∶1、10 ∶1、12 ∶1 和 14 ∶1。
浆液封堵性测试为,制作一定水灰比的浆液200 mL,将其静置5 min 后倒在325 目(0.045 mm)的纱网中,观察浆液在纱网中的滞留情况,并将从纱网中流失掉的浆液进行回收并测量其体积,计算其占浆液总体积的比例。 制作水灰比分别为8 ∶1、10 ∶1、12 ∶1 和 14 ∶1 的浆液各 200 mL,测试其封堵特性,结果见表1,随着浆液水灰比的增大,滞留在了纱网中的浆液占比逐渐变少。 根据封孔浆液在微小裂隙中所起到的作用即滞留在微小缝隙中对瓦斯进行封堵,同时在一定压力下也能够向更加微小的裂隙中进行渗透扩散的要求,水灰比为8 ∶1 的浆液虽然在纱网中的滞留体积百分比最大,达到了92.3%,但其流动度偏低,在压力较小时难以向微小裂隙扩散,而水灰比为12 ∶1 和14 ∶1 的浆液在纱网中的滞留体积百分比均未超过1/2,封堵性较差;最终选择水灰比为10 ∶1 的非凝固浆液。
表1 不同水灰比浆液在纱网中的滞留体积百分比
Table 1 Percentage of retention volume of slurry with different water-cement ratio in gauze
水灰比 8 ∶1 10 ∶1 12 ∶1 14 ∶1滞留体积百分比/% 92.3 65.4 45.2 33.1
非凝固绿色材料在井下使用过程中发现,因为需要分批次向注浆孔内输送浆液,所以工人在每个钻孔上投入的时间较之以前的封孔方式有所加长,为了减轻工人的劳动强度,笔者提供了一种智能控制瓦斯抽采钻孔非凝固恒压浆液封孔装置,可以完全实现无人条件下对抽采瓦斯钻孔封孔状况进行自动监测,一旦钻孔周围有裂隙产生,压力下降则装置可以自动启动进行配浆、补浆工作,保证封孔段内浆液始终保持一种恒压状态,实现瓦斯钻孔动态封堵过程,提高钻孔的抽采浓度并延长有效抽采时间,此产品已经在井下成功应用并取得煤安标志。
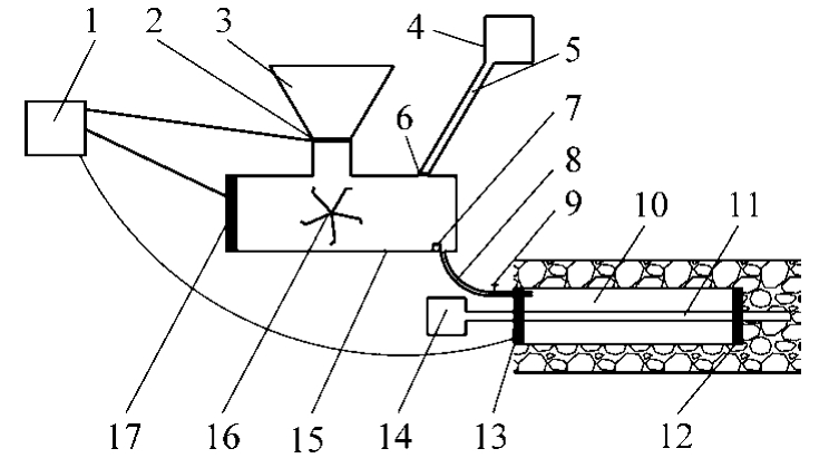
瓦斯抽采钻孔非凝固恒压浆液封孔装置如图4所示。 其工作原理为当压力传感器感知到封孔段浆液压力小于0.15 MPa 时,在智能控制器的程控之下,一定配比的非凝固材料和水加入到搅拌桶中进行搅拌,当浆液浓度达到要求时,推动活塞将浆液注入到注浆段中,完成封堵作业。
图4 非凝固恒压浆液智能封孔装置示意
Fig.4 Schematic diagram of non-solidified constant pressure slurry intelligent sealing device
1—智能控制器;2—电动阀门;3—料仓;4—水源;5—注水管;6—注水阀;7—浆液浓度检测器;8—注浆管;9—开关阀;10—主注浆孔;11—瓦斯抽采管;12—封孔器;13—压力传感器;14—负压收集装置;15—搅拌筒;16—搅拌叶片;17—推动活塞
浆料搅拌装置的料仓容积为15 L,置于搅拌桶上方,为不锈钢制成。 料仓和搅拌桶之间安装有电动阀门,通过电动阀门控制每次搅拌非凝固材料的量。 搅拌非凝固材料的用水取之井下供水管路中,通过防爆胶管连接。 浆液搅拌桶为不锈钢材质,容积30 L,当智能控制器控制料仓中的非凝固材料和供水管路中的水进入到搅拌桶中后,控制器即开始控制搅拌叶片进行搅拌,搅拌叶片转速为1 000 r/min,其与智能控制器连接,可以左右移动,为了使浆液搅拌得更加充分,设计采用六折叶圆盘涡轮式叶片。 浆液搅拌好后,通过设置在搅拌桶中的浆液浓度检测器检测合格后,通过推动活塞将浆液注入到瓦斯抽采钻孔的封孔段。
装置通过浆液浓度检测装置检测浆液的浓度,利用控制器智能控制粉料和水的配比,使浆液浓度始终保持在规定值,并利用推动活塞将混合后符合浓度要求的浆液以一定压力推至封孔段,通过压力传感器反馈封孔段的压强,当封孔段内压力下降到触发浆液补充压力值时,开始向封孔区间内补充浆液,直至重新达到所需的压强;如注浆压力不足,还可通过辅助注浆孔注浆向封孔段注浆。
为了考察非凝固材料在煤矿的实际应用效果,在河南能化集团城郊煤矿开展封孔试验,与目前煤矿使用的水泥基材料封堵的钻孔进行对比。
试验地点选在城郊煤矿21109 工作面回风巷中,本次试验共采用非凝固材料优化配置的浆液连续封堵20 个钻孔,钻孔孔径94 mm,孔间距1.5 m,钻孔长度100 m,封孔长度16 m。 封孔方式采用同时采用一套瓦斯抽采钻孔智能封孔装置对这20 个钻孔进行连续的压力检测和封堵作业。 将这20 个钻孔一个月内的瓦斯抽采数据进行汇总整理,钻孔平均瓦斯浓度变化情况如图5 所示。
图5 钻孔瓦斯抽采浓度变化曲线
Fig.5 Variation curves of borehole gas extraction concentration
根据试验结果,在1 个月的抽采期内,采用非凝固材料配合瓦斯抽采钻孔智能封孔装置的钻孔瓦斯平均体积分数为46.12%,而采用水泥基材料封孔的钻孔瓦斯平均体积分数为28.39%,前者是后者的1.62倍。 随着抽采时间的增加,2 种封孔材料封堵的钻孔瓦斯浓度均有所下降,但在为期1 个月的考察期内,采用非凝固材料配合智能封孔装置的钻孔瓦斯浓度均明显高于采用水泥基材料的钻孔瓦斯抽采浓度。 后期持续观测的结果也表明:瓦斯抽采体积分数持续维持在30%以上长达2 个月。 而采用水泥基材料封孔的钻孔瓦斯体积分数则早已降为10%以下。 按照目前瓦斯利用体积分数一般不低于30%的标准,则采用了非凝固材料配合瓦斯抽采钻孔智能封孔装置的钻孔瓦斯均可以很好地进行回收利用,不但能够保护井下工人的安全生产,还可以为矿上创造一定的经济效益;反观采用水泥基材料封孔的钻孔瓦斯体积分数在抽采10 d 以后就快速下降到30%以下,遗留在煤层中的瓦斯不但无法得到有效抽采,在后期的开采过程中还会威胁到煤矿工人的生命安全。
1)通过对非凝固材料进行流动度、析水率和封堵特性的研究,得到了非凝固浆液在井下使用的最佳水灰比为10 ∶1,改变了依靠经验确定浆液水灰比的缺陷,使非凝固浆液使用有了可靠的理论支撑。
2)针对非凝固浆液长期保压需要和减少井下工人劳动强度的考虑,研发了一套智能控制瓦斯抽采钻孔非凝固恒压浆液封孔装置,实现了自动配浆、补浆作业。
3)通过将固定配比浆液配合瓦斯智能封孔装置应用到井下,经过一个月的瓦斯抽采浓度观测,表明采用非凝固材料配合瓦斯抽采钻孔智能封孔装置的钻孔瓦斯明显高于采用水泥基材料封孔的瓦斯抽采浓度。
[1]CHENG J,QI C,LU W,et al.Assessment model of strata permeability change due to underground longwall mining[J].Environmental Engineering and Management Journal, 2019, 18(6): 1311-1325.
[2]CHENG J,LIU F,LI S.Model for the prediction of subsurface strata movement due to underground mining[J].Journal of Geophysics and Engineering,2017,14:1608-1623.
[3]孙志东.本煤层瓦斯抽采钻孔封孔技术研究[D].贵阳:贵州大学,2017.
[4]张婷婷.瓦斯综合抽采技术在综采工作面的应用研究[J].西部探矿工程,2019,31(10):165-166,170.ZHANG Tingting.Study on the application of gas comprehensive drainage technology in comprehensive mining face[J].Western Exploration Engineering,2019,31 (10): 165-166,170.
[5]林洪山.煤矿高瓦斯矿井煤层瓦斯抽采技术[J].技术与市场,2019,26(6):184.LIN Hongshan.Coal seam gas drainage technology in high gas mine[J].Technology and Market,2019,26 (6): 184.
[6]李 明.煤矿瓦斯抽采技术应用分析[J].江西煤炭科技,2019(2):183-185.LI Ming.Application analysis of gas drainage technology in coal mines[J].Jiangxi Coal Technology,2019 (2): 183-185.
[7]董登学.煤矿瓦斯抽采钻孔封孔技术探讨[J].科技视界,2019(8):177-178.DONG Dengxue.Discussion on sealing technology of coal mine gas drainage borehole[J].Science and Technology Horizon,2019(8): 177-178.
[8]CHENG J,QI C, LI S.Modelling mine gas explosive pattern in underground mine gob and overlying strata[J].International Journal of Oil,Gas and Coal Technology,2019,22(4):554-577.
[9]CHENG J,MEI J,PENG S,et al.Comprehensive consultation model for explosion risk in mine atmosphere-CCMER[J].Safety Science,2019,120:798-812.
[10]赵鑫磊.瓦斯抽采钻孔新型封孔方法的研究与应用[J].山东煤炭科技,2018(12):93-94,97.ZHAO Xinlei.Research and application of new sealing method for gas drainage drilling[J].Shandong Coal Technology, 2018(12): 93-94 ,97.
[11]赵旭生,刘延保,申 凯,等.煤层瓦斯抽采效果影响因素分析及技术对策[J].煤矿安全,2019,50(1):179-183.ZHAO Xusheng,LIU Yanbao,SHEN Kai,et al.Analysis of influencing factors of coal seam gas drainage effect and technical countermeasures[J].Safety in Coal Mines,2019,50 (1):179-183.
[12]王 宁,张天军,范京道,等.煤矿瓦斯抽采封孔质量检测技术与应用[J].煤炭技术,2019,38(8):87-89.WANG Ning,ZHANG Tianjun,FAN Jingdao,et al.Quality detection technology and application of coal mine gas drainage hole sealing[J].Coal Technology,2019,38 (8):87-89.
[13]刘小鹏.新型复合封孔材料的研制及应用[J].煤矿安全,2019,50(9):25-28,33.LIU Xiaoping.Development and application of new composite sealing material[J].Safety in Coal Mines,2019,50 (9): 25-28,33.
[14]李时宜,张青松,刘标懿,等.瓦斯抽采钻孔密封用天固封孔材料及工艺应用研究[J].矿业安全与环保,2019,46(3):44-47.LI Shiyi,ZHANG Qingsong,LIU Biaoyi,et al.Study on the application of Tian Gu sealing materials and technology for gas drainage drilling and sealing[J].Mining Safety and Environmental Protection,2019,46 (3): 44-47.
[15]王 超,张雷林,翟文杰,等.五轮山煤矿瓦斯抽采钻孔封孔工艺优化研究[J].煤炭技术,2019,38(5):99-101.WANG Chao,ZHANG Leilin,ZHAI Wenjie,et al.Study on optimization of gas drainage borehole sealing technology in Wulunshan coal mine[J].Coal Technology,2019,38 (5):99-101.
[16]杨会军,张 超,李志梁,等.新型瓦斯抽采钻孔密封材料性能实验研究[J].煤矿安全,2016,47(8):19-22.YANG Huijun,ZHANG Chao,LI Zhiliang,et al.Experimental study on the performance of new sealing materials for gas drainage boreholes[J].Safety in Coal Mines,2016,47 (8): 19-22.
[17]张喜峰.马兰煤矿顺层抽采钻孔瓦斯渗流数值模拟[J].煤,2019,28(8):103-105.ZHANG Xifeng.Numerical simulation of gas seepage in the borehole of the bedding drainage in Malan coal mine[J].Coal,2019,28 (8): 103-105.
[18]汤红枪,程健维,王文滨,等.瓦斯抽采钻孔非凝固恒压浆液封孔技术应用研究[J].煤炭工程,2019,51(2):45-48.TANG Hongqiang,CHENG Jianwei,WANG Wenbin,et al.Study on the application of non setting constant pressure slurry sealing technology in gas drainage drilling[J].Coal Engineering,2019,51 (2):45-48.
[19]施 宇,郝明跃,张加齐,等.瓦斯抽采辅助钻孔布孔方法及应用[J].现代矿业,2019,35(6):260-261.SHI Yu,HAO Mingyue,ZHANG Jiaqi,et al.Method and application of gas drainage auxiliary drilling hole arrangement[J].Modern Mining,2019,35 (6): 260-261.
[20]郝明跃,施 宇,张加齐,等.瓦斯抽采钻孔成孔和非凝固恒压浆液封孔方法及应用[J].现代矿业,2019,35(4):227-228.HAO Mingyue,SHI Yu,ZHANG Jiaqi,et al.Sealing method and application of gas drainage drilling and non setting constant pressure slurry[J].Modern Mining,2019,35 (4): 227-228.
Study on the properties of non-solidified materials and intelligent hole sealing device for gas drainage drilling