我国煤矿井下由于采掘装备的智能化程度不高,导致煤矿开采灾害多、用人多、伤亡多、效率低[1]。采煤机作为煤矿开采过程中的重要设备,实时地判断开采中采煤机的截割状态,从而制定滚筒自动调高策略,可以有效提高煤炭开采的质量和效率[2]。实现采煤机自动调高,解决滚筒高度的实时准确测量问题至关重要。目前,滚筒高度的测量方法主要有3种:①通过测量采煤机调高油缸伸缩量,将伸缩量换算为滚筒高度的变化。文献[3-4]讨论了在液压油缸中安装活塞伸缩量位移传感器测量滚筒高度的方法,这种方法传感器的安装和维修较为困难;②在摇臂上或滚筒内部安装位移传感器直接测量滚筒高度。对于采煤机的工况条件,这种方法实现较困难,同时对传感器的抗干扰能力和精度要求较高;③通过在摇臂销轴处安装光电编码器、可调电位器等角度传感器测量摇臂摆角,由摇臂摆角计算滚筒高度。文献[5-6]提出了一种安装在摇臂销轴处用于转换摇臂摆角的机械结构设计和改进方法,但该方法仅针对机械结构设计,没有涉及相应的角度传感器设计。文献[7-10]也讨论了类似的测量方法,其中文献[7-8]选用编码器、文献[9-10]选用电位计作为摇臂角度测量传感器。这类方法当机械结构与传感器设计不统一时会出现电缆干涉、空间不足、接口不适配、传感器磨损等问题。
近年来,基于巨磁阻效应的角度传感器以其所具有的耐污染、非接触测量、抗振动和抗噪声能力强、在恶劣环境下工作可靠等优点成为研究热点[11]。文献[12-13]设计的基于巨磁阻效应角度传感器,可用于汽车及电动机转轴角度位置的测量。文献[14]采用磁敏感应芯片MLX90316搭载STM32微控制器设计了一种多圈绝对角度传感器,拥有14位角度分辨率,可用于工业角位置测量;文献[15-16]分别针对GIS设备检查及异物清理机器人和工业伺服电动机的位置控制,设计了基于磁敏感应芯片TLE5012B的角度传感器。基于以上原因,笔者设计了基于巨磁阻效应采煤机摇臂角度传感器。角度传感器通过摇杆-旋转部件将采煤机摇臂摆动角度转换为磁性材料的旋转角度,以磁感应芯片为敏感元件实现角度的获取和转换,以单片机为核心的信号采集、处理和多种通信方式实现了采煤机摇臂角度智能化测量。
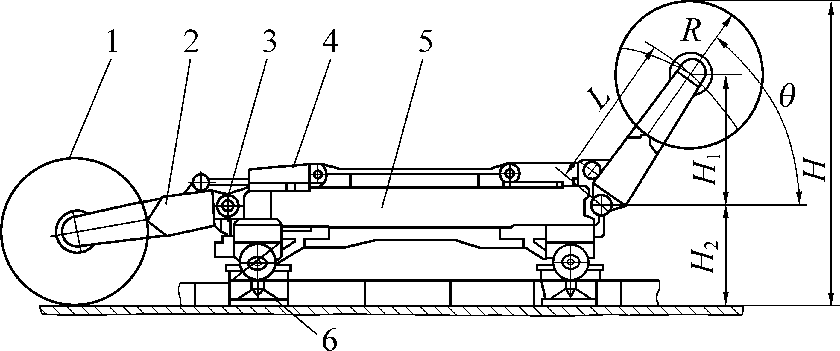
采煤机在工作过程中以牵引速度沿工作面推进,滚筒直接与煤层接触,横向切入煤壁[17],滚筒在煤壁所留的切口高度则为采煤机的截割高度。采煤机滚筒的调高是依靠摇臂绕其与机身铰接的销轴上下摆动实现的。采煤机结构如图1所示。

1—滚筒;2—摇臂;3—摇臂销轴;4—机身;5—调高油缸;6—滑靴
图1 采煤机结构
Fig.1 Structure of shearer
图1中摇臂摆角为θ,摇臂销轴中心到行星头中心的距离为L,滚筒半径为R,滚筒中心与摇臂销轴轴心垂直距离为H1,摇臂销轴轴心距截割地面的垂直距离为H2,其中L、R、H2皆为采煤机固定参数[18],截割煤层高度H为
H=H1+R+H2=Lsinθ+R+H2
(1)
由式(1)可知,摇臂摆动角度决定了滚筒高度(即截割高度)。
巨磁阻效应是一种量子力学效应,指磁性材料的电阻率在外磁场作用下发生明显变化的现象。它产生于由铁磁和非铁磁材料薄层交替叠合而成的层状薄膜结构中。基于巨磁阻效应的传感器磁敏感应材料主要包括参考层、普通层和自由层3层[19],其结构如图2所示。其中,参考层具有固定磁化方向的特性,且磁化方向不受外界磁场方向影响;自由层磁场方向随外界平行磁场方向的改变而改变;普通层为非磁性材料薄膜层,将2层磁性材料层分隔开。

图2 磁敏感应材料组成
Fig.2 Composition of magnetic sensitive material
磁敏感应材料的巨磁阻阻值由自由层和参考层之间磁场方向夹角决定,当自由层磁化方向和参考层磁化方向相同时,巨磁阻阻值最小,当自由层磁化方向和参考层磁化方向相反时,巨磁阻阻值最大。磁敏感应材料阻值变化率为
(2)
式中:φ为磁阻变化率;α为自由层和参考层之间磁场方向的夹角;kGMR为磁敏感应材料磁阻率系数。
采用巨磁阻磁敏感应材料实现采煤机摇臂角度的测量,需要将采煤机摇臂的摆动角度转换为磁敏感应材料外加磁场的旋转角度。笔者设计了如图3所示的摇杆-旋转部件,将采煤机摇臂角度转换为外加磁场的旋转角度。该装置主要由摇杆、旋转轴、底座、连接器和安装在旋转轴上的磁性材料等组成。
根据采煤机调高原理和摇臂结构可知,采煤机调高过程中,摇臂绕摇臂与机身铰接的销轴摆动,此处摇臂摆角为θ。摇杆-旋转部件底座固定于采煤机机身的摇臂销轴处,连接器与采煤机摇臂连接,摇杆以旋转轴为回转轴,实现摇杆与采煤机摇臂同步摆动,将采煤机摇臂摆动的角度转换为摇杆-旋转部件旋转轴的转动,同时带动安装于旋转轴上的磁性材料旋转。

图3 摇杆-旋转部件结构
Fig.3 Construction of a rocker-rotor
选用基于IGMR(Integrated Giant Magneto-Resistive)的芯片TLE5012B作为角度测量的磁感应元件。该芯片内部有2组电桥,每组电桥是由4个磁阻单元组成的全桥结构,每个磁阻单元都可以将感应到所处磁场的变化转化为自身电阻值的变化。全桥结构可以进行温度补偿并将信号进行放大,获得最大的灵敏度。2个全桥的输出电压,分别代表芯片内部参考层磁化方向与外界磁场夹角的余弦和正弦值,芯片内部电路将代表角度的电压转化为15位数字量,内部集成了CORDIC算法进行角度值处理[20],并将其存储在角度寄存器AVAL中。
角度传感器电路主要包括磁感应电路、单片机主控电路、RS485及WiFi通信电路、OLED输出显示及电源稳压电路等,角度传感器电路工作原理框图如图4所示。
磁感应芯片TLE5012B获取摇臂摆动角度的变化并转换为对应的数字信号;STM32F103C8T6型单片机通过SPI接口读取TLE5012B角度寄存器中的角度数据。单片机将读取的数据换算为对应的角度后通过OLED显示屏显示,同时可通过RS485总线或WiFi将角度信息发送至上位机或其他接收设备。WiFi通信模块选用板载ESP8266芯片,与单片机采用串口通信。ESP8266芯片内置 TCP/IP 协议,可实现串口与 WiFi 之间的转换[21]。稳压芯片采用AMS1117模块,输入电压为5 V,输出电压为3.3 V,稳压模块保证整个系统的电压稳定性,消除电压尖峰对器件的损害。为了便于安装和与机械部件配合,电路PCB板设计为圆形,TLE5012B芯片布置于PCB板中心位置。

图4 角度传感器电路工作原理框图
Fig.4 Working principle block diagram of angle sensor circuit
角度传感器由机械部件和电路部件配合实现摇臂角度测量。角度传感器装配方案如图5所示。磁敏感应芯片安装在圆形PCB电路板中心位置。旋转磁场由安装在旋转轴端头的圆形磁钢提供。旋转轴末端是圆形磁钢槽,槽的圆心与轴心重合,磁钢与磁钢槽采用过盈配合,以保证磁钢与轴的同轴度。传感器所用磁性材料为圆形径向充磁稀土永磁钢。轴上开设键槽用于和角度传感器摇杆连接。安装在旋转轴末端磁钢槽内的磁钢,正对着位于PCB板中心的磁敏感应芯片。

图5 角度传感器装配方案
Fig.5 Assembly plan of angle sensor
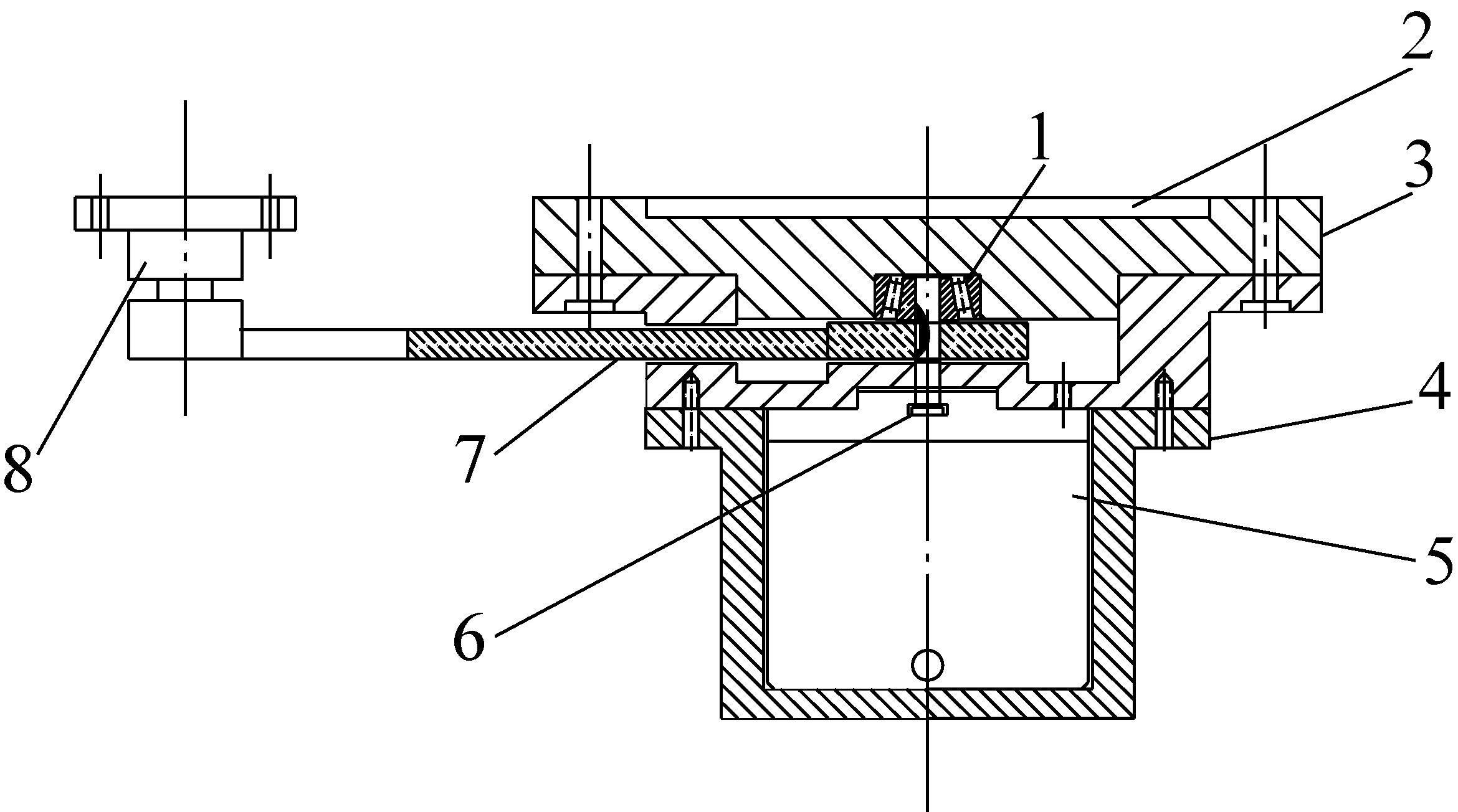
用于安装角度传感器电路板和与摇臂连接的机械部件结构如图6所示。底座3通过止口2定位,采用螺钉与采煤机机身联结,旋转轴6与摇杆7通过键连接周向固定,以圆锥滚子轴承1支撑。传感器防护壳4用于固定和保护传感器。连接器8通过螺钉与摇臂连接,摇臂带动摇杆摆动。PCB板采用铜柱固定于安装腔体内。OLED显示屏同样采用铜柱固定于传感器PCB板上。显示屏和PCB板之间留有一定空间,将WiFi模块直接焊接在PCB板上,使其与PCB板保留有一定空隙,便于散热。摇杆7与传感器伸出轴的连接腔开设120°的扇形槽,满足采煤机摇臂-25°~+45°的摆动量。传感器无方向性,可通用于左右摇臂。传感器电路由机械壳保护,与摇杆隔离开,并进行密封处理以减少油污、灰尘的进入。角度传感器及在采煤机上的实际安装实物如图7所示。

1—圆锥滚子轴承;2—止口;3—固定底座;4—传感器防护壳;5—传感器PCB安装腔;6—旋转轴;7—摇杆;8—连接器
图6 角度传感器结构示意
Fig.6 Structure schematic of angle sensor

图7 角度传感器安装实物
Fig.7 Physical diagram of angle sensor installation
角度传感器软件采用C 语言作为开发平台,由角度采集转换程序、液晶显示程序、串口通信程序、WiFi传输程序等组成,程序流程如图8所示。

图8 角度传感器软件程序流程
Fig.8 Program flow of angle sensor software
程序上电运行,端口初始化后,启动角度采集程序:单片机将主输出端(MOSI)配置为复用开漏方式,并向TLE5012B磁敏感应芯片发送角度寄存器读取指令,之后发送0FFFFH命令字。磁敏感应芯片接收到0FFFFH命令后,接管数据总线,通过DATA端向单片机主输入端(MISO)发送角度数据;单片机获取16位角度数据后,对其进行处理,提取15位有效值,存入寄存器并换算为0°~360°对应的角度;执行OLED显示程序,单片机通过并口将角度值传输至OLED屏进行实时显示;传感器数据发送受上位接收装置控制,接收到发送命令后,传感器通过RS485和WiFi两种传输方式将信号传输至上位机或接收装置,传感器与上位接收装置通信采用中断方式,由定时器控制采集时间和发送时间。
试验采用CPJ-3000A(Z)系列ø300 mm数字元式投影仪对角度传感器进行角度校准和静态特性分析。该仪器显示精度可达0.01′,轮廓测量误差小于0.08%。测试时将传感器放置在投影仪工作台上,传感器底座部分固定不动,摇杆动,由投影仪将摇杆位置投影到屏幕上。转动传感器摇杆确定一个角度,调整投影屏旋转微调手轮使投影屏上的坐标系与投影重合,在数显表读取当前角度,试验平台如图9所示。

1—投影屏;2—DC-300数显表;3—投影屏旋转微调手轮;4—物镜;5—工作台;6—角度传感器
图9 角度传感器试验平台
Fig.9 Experiment platform of angle sensor
试验中每调整1°测量1次,测量范围为0°~120°部分试验数据见表1。
试验数据以测量投影仪所测得的值为标准值,传感器输出值为测量值,标准值与测量值间的最大绝对误差、平均绝对误差、标准偏差、最大相对误差、平均相对误差分别由式(3)—式(7)计算,计算结果分别为0.23°、0.07°、0.06°、0.20%、0.06%。
Δμmax=|yi-xi|max
(3)
式中:yi为标准值;xi为测量值。

(4)
式中:
为平均绝对误差;n为样本数量。
表1 角度传感器试验测量数据
Table 1 Experimental measurement datas of angle sensor (°)

QTQCQTQCQTQCQTQCQTQC0025.024 725.0150.070 050.1875.162 075.11100.425 6100.205.250 95.1430.403 230.4055.150 555.1380.311 180.20105.231 9105.2810.244 010.2435.258 835.3160.010 560.0185.224 585.16110.271 6110.2015.333 015.2840.241 540.1665.560 565.5290.072 290.08115.395 0115.3220.231 120.2045.242 545.2270.150 670.0695.242 095.12120.155 5120.06
注:QT、QC分别为投影角度仪和角度传感器测量值;由于篇幅有限,表中只列出部分试验数据。

(5)
式中:s为数据标准偏差;Δμi为样本绝对误差。
(6)
式中:R为最大相对误差;Δμmax为最大绝对误差;Y为满量程120°。
平均相对误差为
(7)
根据测量数据绘制的角度传感器静态特性曲线如图10所示。

图10 角度传感器静态特性曲线
Fig.10 Static characteristic graph of angle sensor
由图10可得线性拟合结果为
y=0.999 4x-0.004 6
(8)
其中:y为角度传感器测量值;x为投影仪测量值。根据式(8)可得其灵敏度为0.999 4,经静态特性分析得非线性误差为0.13%。双滚筒采煤机摇臂摆动范围一般为-25°~45°,考虑到传感器摆动余量,本传感器设置最大摆动幅度为120°。
1)基于巨磁阻效应角度传感器可实现采煤机摇臂摆动角度在线自动测量,符合采煤机自动调高实际需求。
2)角度传感器以ARM单片机为核心,集角度测量、实时显示、WiFi和RS485传输等功能为一体,智能化程度较高。
3)试验结果表明:传感器在测量范围内精度可保证在0.24°,最大相对误差为0.20%,非线性度为0.13%,可实现较高精度的角度测量。
[1] 范京道.煤矿智能化开采技术创新与发展[J].煤炭科学技术, 2017, 45(9):65-71.
FAN Jingdao.Innovation and development of intelligent mining technology in coal mine[J].Coal Science and Technology,2017,45(9):65-71.
[2] 程园新,韩楠楠,丁恩杰,等.基于有效介质理论的煤岩界面识别方法研究[J].煤炭科学技术,2017,45(10):123-128.
CHENG Yuanxin,HAN Nannan,DING Enjie,et al,Study on recognition method of coal and rock interface based on effective medium theory[J].Coal Science and Technology,2017,45(10):123-128.
[3] 党景锋,高晓光,刘东航.基于油缸位移传感器的采煤机采高监测系统[J].煤矿机械,2017,38(5):120-121.
DANG Jingfeng,GAO Xiaoguang,LIU Donghang.Mining height monitoring system of shearer based on cylinder displacement sensor[J].Coal Mine Machinery,2017,38(5):120-121.
[4] 西安煤矿机械有限公司.采煤机摇臂全自动实时调高装置,CN201220240381.7[P].2012-12-05.
[5] 钱江泳.采煤机用摆角传感器的改进设计[J].煤矿机械,2016,37(3):123-124.
QIAN Jiangyong.Improved design of rocker angle sensor for coal mining machine[J].Coal Mine Machinery,2016,37(3):123-124.
[6] 杨 芸.新型采煤机摆角传感器的设计分析[J].煤炭技术,2017,36(6):232-233.
YANG Yun.Design and analysis on new type shearer’s angle sensor device[J].Coal Technology,2017,36(6):232-233.
[7] 林 江,盛 浩.编码器在采煤机滚筒高度控制中的应用[J].煤矿机械,2014,35(11):214-215.
LIN Jiang,SHENG Hao.Application of absolute-encoder in automatic control of shearer rocker arm[J].Coal Mine Machinery,2014,35(11):214-215.
[8] 神华集团有限责任公司,神华新疆能源有限责任公司.一种用于单滚筒短壁采煤机的摇臂采高检测系统,CN201620125746.X[P].2016-09-21.
[9] 王 琳,余 磊,齐仁德,等.采煤机截割高度传感器改造分析[J].煤矿机械,2017,38(12):92-94.
WANG Lin,YU Lei,QI Rende,et al.Modification analysis of shearer cutting height sensor[J].Coal Mine Machinery,2017,38 (12):92-94.
[10] 朱章章.采煤机截割高度传感器改造研究[J].江西煤炭科技,2016(1):102-106.
ZHU Zhangzhang.Study on transformation of cutting height sensor of shearer[J].Jiangxi Coal Science & Technology,2016(1):102-106.
[11] WOLFGANG Granig,STEPHAN Hartmann,BENNOKOPPL,et al.Performance and technology comparison of GMR versus commonly used augle sensor principles in automotive applications[C].Sina App Engine,2007.
[12] GIEBELER C,KUIPER A E T,SCHULZ G,et al.Robust GMR sensors for angle detection and rotation speed sensing[J].Sensors and Actuators A Physical,2001,A91(1/2):16-20.
[13] GRANIG Wolfgang,WEINBERGER Markus,REIDL Christian,et al.integrated GMR angle sensor for electrical commutated motors including features for safety critical applications procedia engineering[J].Elsevier,2010(9):1384-1387.
[14] 张从鹏,徐 兵,徐宏海.基于STM32的高精度多圈绝对角度传感器[J].仪表技术与传感器,2014(12):13-14,28.
ZHANG Congpeng,XU Bing,XU Honghai.High precision multi-circle absolute angular displacement sensor based on STM32[J].Instrument Technique and Sensor,2014(12):13-14,28.
[15] 周 秀,牛 勃,马飞越,等.基于TLE5012B的多圈绝对角度传感器设计[J].传感器与微系统,2017(11):90-92,95.
ZHOU Xiu,NIU Bo,MA Feiyue,et al.Design of multi-circle absolute angular sensor based on TLE5012B[J].Transducer and Microsystem Technologies,2017(11):90-92,95.
[16] 陈如意,周翟和,王 锋,等.基于TLE5012B的高精度多圈绝对式磁编码器设计[J].测控技术,2017,36(7):116-120.
CHEN Ruyi,ZHOU Zhaihe,WANG Feng,et al.Design of high precision multiloop absolute magnetic encoder based on TLE5012B[J].Measurement & Control Technology,2017,36(7):116-120.
[17] 李晓豁,李 婷,焦 丽,等.滚筒采煤机截割载荷的模拟系统开发及其模拟[J].煤炭学报,2016,41(2):502-506.
LI Xiaohuo,LI Ting,JIAO Li,et al,Development of cutting load simulation system and its simulation study on drum shearer[J].Journal of China Coal Society,2016,41(2):502-506.
[18] 刘 鹏,孟 磊,王 勃,等.基于位姿测量与煤层DEM的采煤机滚筒自动调高方法[J].煤炭学报,2015,40(2):470-475.
LIU Peng,MENG Lei,WANG Bo,et al.An automatic height adjustment method for shearer drums based on pose measurement and coal seam DEM[J].Journal of China Coal Society,2015,40(2):470-475.
[19] 何喜富.基于iGMR原理角度传感器TLE5012B应用指南[J].单片机与嵌入式系统应用,2015,15(3):74-77.
HE Xifu.Angle sensor based on iGMR principle TLE5012B application guide[J].Microcontrollers & Embedded Systems,2015,15(3):74-77.
[20] 薛凌云,孙世荣.基于CORDIC算法的磁编码器角度误差修正仿真研究[J].杭州电子科技大学学报:自然科学版,2016,36(1):75-79.
XUE Lingyun,SUN Shirong.The simulation research of magnetic encoder angle error correction based on improved CORDIC Algorithm[J].Journal of Hangzhou Dianzi University:Nature and Science Edition2016,36(1):75-79.
[21] 曹振民,陈年生,马 强,等.基于ESP8266的无线控制电路设计[J].工业控制计算机,2017,30(1):68-69.
CAO Zhenmin,CHEN Niansheng,MA Qiang,et al.Design of wireless control circuit based on ESP8266[J].Industrial Control Computer,2017,30(1):68-69.

移动扫码阅读