煤储层与常规油气资源相比较具有低压、低孔、低渗特点,煤层气径向钻完井技术是推动煤层气资源高效开发的有效完井增产工艺技术之一。美国在20 世纪80年代联合研制出利用高压水射流钻头通过特制井下转向器进行径向水平钻进的钻井系统。至20世纪90年代,基本形成了完整的装置与技术体系[1-2]。至1992 年美国利用该套系统在北美的未固结砂岩和石灰岩地层钻成的径向井已超过1 000口,并且能够在同一口井的同一深度向四周钻出多个径向水平井眼[3]。21 世纪初,美国研发了新型径向井技术,利用连续油管、高压软管、井下导向器等装置,成功实现了套管内开窗及径向钻进。1997年8月我国钻成了第1口径向水平井[4],随后在辽河油田、胜利油田、南阳油田、江苏油田和吉林油田[5-7]都进行过径向水平井钻井技术的现场试验。自2006年超短半径水平井钻井技术开始用在煤层气开发中,井眼尺寸约50 mm,进尺不超过50 m,均为裸眼完井[8-11]。近年来以柔性钻具为核心的T型水平井技术,可实现技术套管或生产套管内开窗侧钻小井眼水平井,现已实现ø139.7 mm 套管内侧钻ø112 mm井眼超短半径水平井,套管侧钻窗口仅20 cm,曲率半径1.80~2.50 m,水平段进尺约100 m[12]。由于常规管柱无法通过1.80~2.50 m的曲率半径井眼,现有工艺技术条件下柔性筛管无法下入至T型水平井井底,所以煤层气T型水平井均为裸眼完井。裸眼完井存在以下问题:①无法长期维持井壁稳定,排采过程易出现井壁坍塌,造成减产甚至停产;②煤粉的大量产出易造成频繁修井作业,影响正常排采作业。因此,笔者对煤层气T型水平井柔性筛管及泵送下入技术进行分析研究,以期解决上述问题,发挥煤层气T水平井工艺的技术优势,实现煤层气单井增产与稳产。
T型水平井核心技术为柔性钻具的设计研发,依靠柔性钻具完成在超短曲率半径内的钻压及扭矩的传递。T型水平井造斜弯曲井段全角变化率高达32.65(°)/m,常规油套管是高抗弯强度,无法满足下入要求,笔者选用钢制连续薄壁油管和柔性筛管作为完井管柱,形成双管柱结构的泵送下入工艺。该工艺外部管柱为柔性筛管,内部为钢制薄壁连续油管。外部柔性筛管能够降低与井壁之间的摩擦因数,减少下入过程中的摩擦力;内部钢制连续油管增强柔性筛管刚度。筛管下入前先在ø139.7 mm套管内下入ø101.6 mm油管,油管前端安装悬挂装置。内外管柱通过锚定与推送装置实现连接;柔性管柱通过丢手装置实现与ø73 mm油管暂时连接,通过Well Plan软件进行下入模拟分析,使用ø73 mm油管仅可将柔性管柱送入水平段,然后向ø73 mm油管内投球,通过丢手装置的液压丢手功能实现ø73 mm油管与柔性管柱的分离,并起出ø73 mm油管。
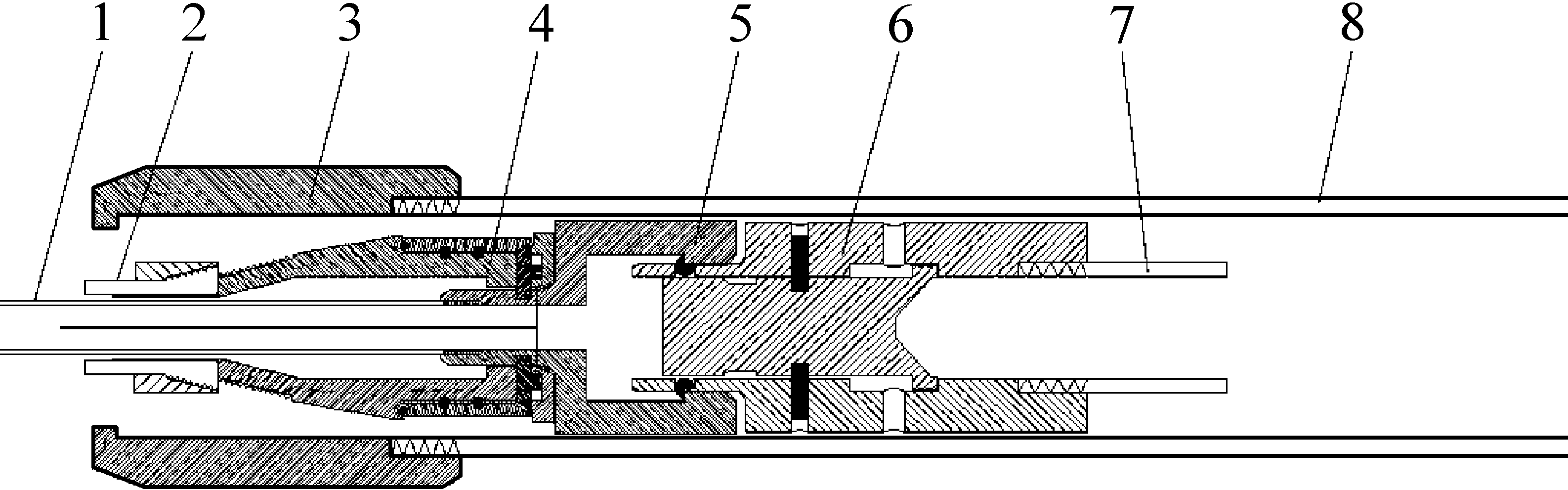
ø73 mm油管起出井筒后,开始柔性筛管泵送下入流程,该工艺基于井下管柱活塞效应原理[13-16],如图1所示,推送装置及密封引鞋的横截面相当于ø101.6 mm油管内部的“活塞”,管内流体作用在密封引鞋横截面上,形成的拉力能够使整个柔性管柱保持拉伸状态,避免管柱发生螺旋屈曲,同时密封引鞋处形成的水平轴向牵引力能够克服柔性管柱在弯曲井段及水平段的摩擦阻力,保证筛管下至井底位置。锚定装置离开ø101.6 mm油管后刀翼立即张开,并锚定在技术套管外的裸眼井壁,刀翼张开同时连接锚定装置与推送装置的可退式销钉复位,连续油管与柔性筛管完成脱离。脱离后的连续油管通过推送装置与ø101.6 mm油管前端悬挂装置接触,并悬挂于ø101.6 mm油管内部。ø101.6 mm油管上提过程中拖动连续油管向上移动,实现拖动洗井作业,消除钻井液对储层的伤害,提高单井产能。
基于T型水平井超短曲率半径、井身结构数据对筛管进行优选,优选钢制薄壁连续油管与柔性管作为柔性筛管的原管,基于T型水平井井眼轨迹及井身结构数据,利用Well Plan软件对连续油管及柔性管规格进行优选。优选原则:①管柱可以通过T型水平井弯曲井段,且不发生塑性屈服;②基于上述条件及井身结构数据,尽量选择较大尺寸的连续管柱,为地层流体提供稳定的流动通道。软件模拟发现, T型水平井弯曲井段不发生塑性屈曲的连续管、柔性管允许最大外径为31.75、63.00 mm,具体规格参数及性能见表1。按照优选原则优选外径63.00 mm的柔性管作为柔性筛管的原管。

T—ø101.6 mm油管内流体作用于推送装置的力;F—钢制薄壁连续油管内流体作用于密封引鞋的力
图1 柔性管柱泵送下入工艺技术原理
Fig.1 Technical schematic diagram of flexible pipe string pumping down
表1 柔性管规格及性能参数
Table 1 Flexible pipe specifications and performance parameters

项目钢制薄壁连续油管柔性管外径/mm31.7563.00内径/mm27.6952.40密度/(g·cm-3)7.70.9泊松比0.280.41屈服强度/MPa620.4228.00弹性模量/MPa2.1×105350
基于煤层气井煤粉产出及运移原理[17-18],利用煤粉颗粒的架桥原理[19]进行筛孔规格参数优化设计如下:

外径/mm63.00内径/mm52.40壁厚/mm5.3打孔类型圆形孔孔径/mm8密度/(个·m-1)20相位角/(°)90布孔方式螺旋分布
以华北地区浅煤层为例,分析筛管抵抗坍塌煤层的能力,地层倾角一般在5°以内,按照上部煤层整体垮塌的极端条件考虑,掉块最大宽度为筛管直径,则垮塌煤岩造成的压力F1为
F1=ρghDL
(1)
式中:ρ为煤岩密度,kg/m3;h为煤层厚度,m;D为筛管直径,m;L为掉落长度,m;g为重力加速度,取9.8 m/s2。
假设煤层厚度10 m、煤岩密度1 400 kg/m3、筛管外径0.063 m,不考虑地层挤压情况,作用在单位长度筛管上的最大压力为8.643 6 kN。实验室内对柔性筛管制样(长度150 mm)进行平板外载荷性能试验,破坏载荷22.05 kN,屈服载荷11.56 kN,如图2所示。试验证明优化设计后的筛管能够满足支撑井壁稳定的要求。

Ftc—总延伸载荷,kN;Fpc—非比例延伸载荷,kN;Fbc—最大外载荷,kN
图2 柔性筛管平板外载荷试验曲线
Fig.2 Test curve of external load on flexible screen plate
柔性筛管泵送下入工艺特殊,需要专用的井下工具才能完成T型水平井柔性筛管的泵送下入及洗井作业。主要井下工具包括:锚定装置、悬挂装置、丢手装置、密封引鞋等,如图3所示。通过一系列的井下工具的装配组成柔性筛管双层管柱结构,实现柔性筛管下入及洗井一体化工艺,实现维护井壁稳定,消除钻井液对储层的伤害,为T型水平井增产及稳产提供了保障。

1—ø31.75 mm钢制薄壁连续油管;2—ø63.0 mm柔性筛管;3—悬挂装置;4—锚定装置;5—推送装置;6—丢手装置;7—ø73.0 mm油管;8—ø101.6 mm油管
图3 柔性筛管泵送下入工具装配示意
Fig.3 Flexible screen pump down tool assembly drawing
2.2.1 锚定装置
锚定装置主要包括打捞槽、可退式销钉、伸缩式刀翼(4个)、柔性筛管锁紧装置等,如图4所示。该工具通过锁紧装置实现与柔性筛管的连接,该工具与推送装置通过可退式连接,工具内部可通过中心连续油管,如图5所示。该装置随柔性完井管柱下入ø101.6 mm油管至开窗位置,在油管内部时刀翼处于收缩状态,当该工具脱离ø101.6 mm油管后刀翼会自动张开并锚定于套管外的裸眼井壁上,防止内层连续油管起出时连带柔性筛管上行。锚定装置刀翼张开同时,可退式销钉解除内外双层管柱的连接状态,内层连续油管通过推送装置与悬挂装置配合悬挂于ø101.6 mm油管前端,并伴随油管起出井筒。该工具的打捞槽口用于处理复杂情况,主要针对筛管下入过程中发生异常需要起出时,使用小油管连接专用捞矛进行打捞。

1—锁紧装置;2—伸缩式刀翼;3—可退式销钉
图4 锚定装置结构示意(锚定前)
Fig.4 Structural diagram of anchoring device (before anchoring)
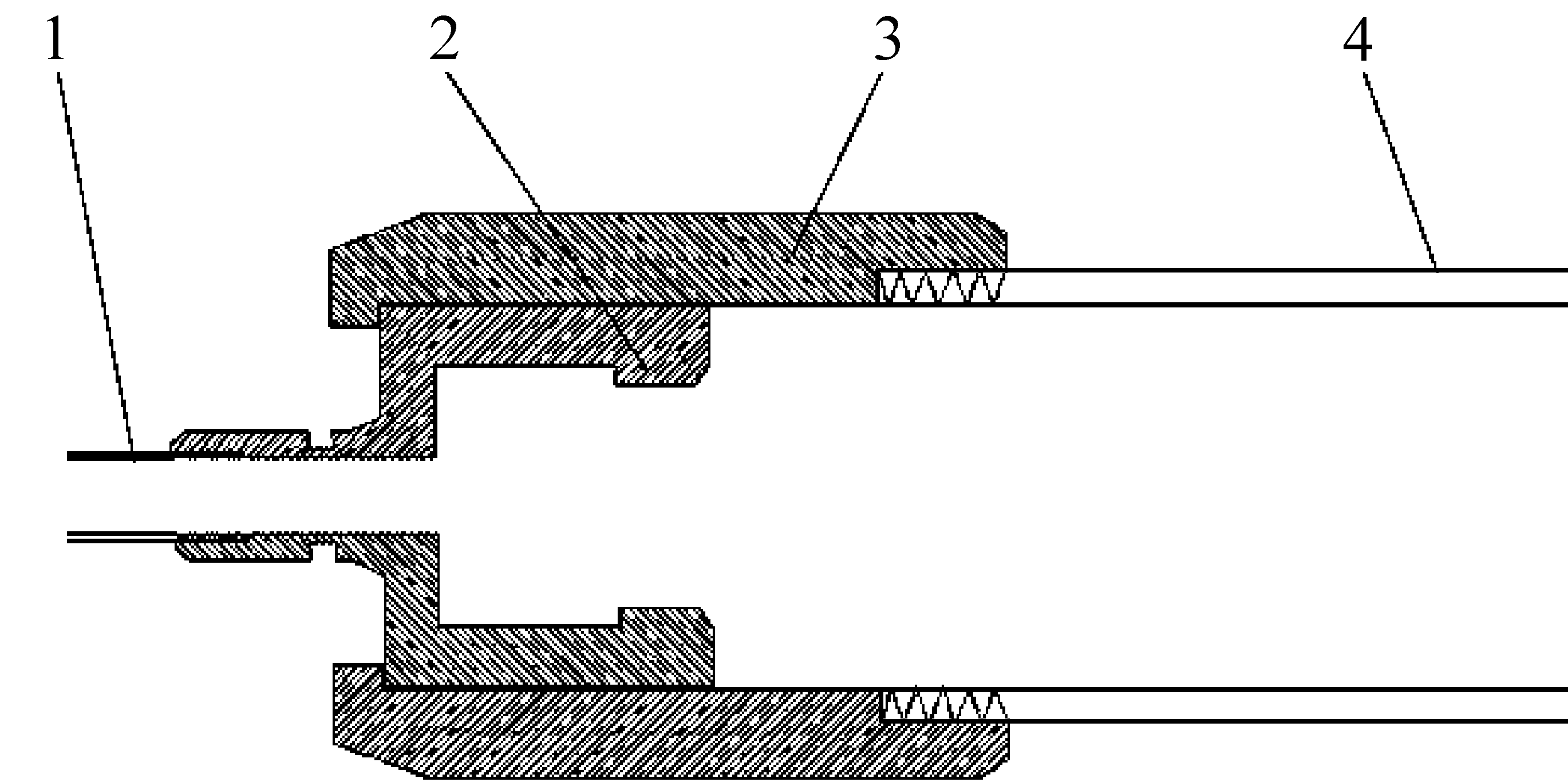
2.2.2 推送装置与悬挂装置
悬挂装置安装在ø101.6 mm油管前端,通过丝扣与油管连接;推送装置安装在柔性筛管柱末端,泵送前通过丢手装置与ø73 mm油管连接。悬挂装置安装在外部油管底部,通过丝扣与外部油管连接;推送装置安装在柔性筛管柱末端,泵送前通过丢手装置与ø73 mm连接。柔性筛管下入过程中推送装置与锚定装置通过可退式销钉连接,锚定装置刀翼张开后,可退式销钉退回锚定装置中,实现与推送装置的分离。连续油管通过推送装置悬挂于ø101.6 mm油管底部,上提管柱拖动连续油管进行洗井作业。推送装置上端面设计有打捞槽,出现异常时可使用专用捞矛对连续油管进行打捞。

1—连续油管;2—推送装置;3—悬挂装置;4—ø101.6 mm油管
图5 推送装置与悬挂装置结构示意
Fig.5 Schematic diagram of push device and suspension device structure
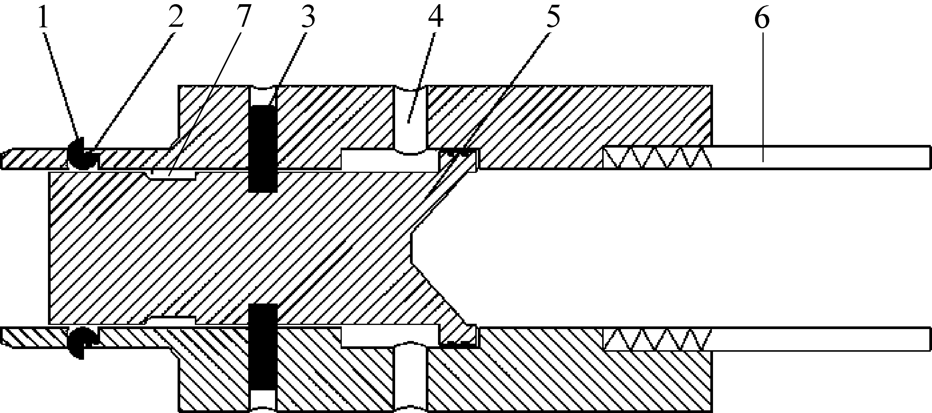
2.2.3 液压丢手装置
柔性筛管与连续油管连接完毕后的双层管柱,需要使用油管将其送至套管开窗位置,然后利用丢手装置实现上部油管与下部柔性完井管柱的分离,起出油管后开始泵送下入操作。专用丢手装置,主要结构包括球形卡块、销钉、泄压孔、滑套、球座等部件,如图6所示。该工具与推送装置通过球形卡块连接,通过丝扣与ø73.0 mm油管连接。使用油管柱将柔性管柱送至水平着陆位置,准确核实下入深度,注意观察悬重变化,避免完井管柱发生螺旋弯曲或者自锁,然后向ø73.0 mm油管内部持续注入流体,流体作用于与滑块后端形成压力并传递至销钉形成剪切力,随流体持续注入作用于销钉的剪切力持续增加,当剪切力增加至销钉能够承受的极限值后销钉被剪切断,滑块从滑动行程腔后端下行至前端,对接槽孔随着滑块滑动至球形卡块所在位置,复位弹簧从压缩状态伸长至欠压缩状态并推动球形卡块进入对接槽孔,液压丢手装置与连接器的分离,通ø73.0 mm油管起出液压丢手装置,然后进行柔性完井管柱泵送下入操作。

1—卡扣;2—弹簧;3—销钉;4—泄压孔;5—滑套(带球座);6—ø73 mm油管;7—对接槽孔
图6 液压丢手装置结构示意
Fig.6 Schematic diagram of release device structure
2.2.4 密封引鞋
为了减少完井管柱下入过程中的阻力,设计了专用引鞋,采用高强度塑料引鞋,摩擦因数低,引鞋与柔性筛管采用锁紧装置与柔性筛管连接,保证密封,靠近引鞋1 m长度的柔性管不打孔。引鞋内部设计凹槽,凹槽侧壁上安装有密封圈用于引鞋与连续油管之间的密封,如图7所示。

1—圆弧端面;2—腔体;3—密封圈;4—柔性筛管;5—连续油管
图7 密封引鞋结构示意
Fig.7 Schematic diagram of sealing shoe guide structure
基于柔性筛管泵送下入工艺的特殊性,针对性地制定工艺流程,对以后的现场试验及应用起到指导作用(图8)。该工艺基本流程如下:①悬挂装置连接在ø101.6 mm油管前端,将油管柱下至上层套管开窗位置;②使用专用注入设备向ø101.6 mm油管内部下入ø63.0 mm柔性筛管,达到设计长度后割断柔性筛管;③使用专用注入设备向ø63.0 mm柔性筛管内部下入ø31.73 mm连续油管,根据柔性筛管长度确定连续油管长度;④地面连接锚定装置与推送装置,先将推送装置下端与内部连续油管连接,再将锚定装置与外部柔性筛管连接,最后安装丢手装置;⑤丢手装置安装完毕后,连接ø73.0 mm油管输送柔性完井管柱,在管柱进入裸眼井眼之前确定下入深度,下钻速度控制在5~9 m/min,注意观察悬重变化,防止下入速度过快造成柔性管柱屈曲;⑥将柔性完井管柱送至T型水平井着陆点位置后,向ø73.0 mm油管持续注入流体液压丢手程序,丢手后推送装置与上部油管脱离,起出油管准备泵送下入程序;⑦开泵时钻井泵柴油机钻转速控制在500~800 r/min,排量控制在10~12 L/s,在送入过程中注意观察泵压变化,当柔性筛管下至设计位置后,锚定装置脱离ø101.6 mm油管后刀翼张开,同时,推送装置与锚定装置之间可退销钉复位,柔性筛管与连续油管脱离,地面表现为泵压突降;⑧井口上提ø101.6 mm油管柱,拖动连续油管进行洗井作业,洗井完毕后起出所有管柱;⑨下入专用捞矛对套管内的液压卡瓦斜向器解封并提出井口。

图8 T型水平井柔性筛管完井工艺流程示意
Fig.8 Schematic diagram of flexible screen completion process for T-shaped horizontal well
1)国内外首次创新提出煤层气T型水平井柔性筛管泵送下入完井工艺技术,提出柔性筛管泵送下入完井工艺技术机理,设计柔性管柱结构及配套泵送下入工具,形成柔性筛管泵送下入可操作技术方法,弥补超短半径(1.8~2.5 m)水平井筛管完井工艺技术空白。
2)该项工艺实现柔性筛管下入及拖动洗井一体化,冲刷井壁上的残余泥饼,清洗井筒煤岩储层,消除完井液造成的储层伤害,有利于释放煤层气水平井原始产能;柔性筛管可长期支撑煤岩掉块及控制煤粉,长期维持稳定的排采通道,为煤层气产出提供保障。该工艺为实现煤层气的增产、稳产提供稳定畅通的井眼条件。
[1] DICKINSON W, ANDERSON R R, DICKINSON R W. The ultrashort-radius radial system [J]. SPE Drilling Engineering, 1989,4(3):247-254.
[2] 迟焕鹏,李根生,黄中伟, 等.水力喷射径向水平井技术研究现状及分析[J].钻采工艺,2013,36(4):119-124.
CHI Huanpeng, LI Gensheng, HUANG Zhongwei,et al.Research status and analysis of hydraulic jet radial horizontal well technology[J].Drilling & Production Technology,2013,36(4):119-124.
[3] 胡博仲, 董福洲, 李子丰.小井眼钻采技术[M] .北京:石油工业出版社, 1997:3-4.
[4] 孟昭君,颜世华,赵正均.2BZ-40/12型脉冲式煤层注水泵的应用[J].煤矿安全,2006,37(9):37-39.
MENG Zhaojun,YAN Shihua,ZHAO Zhengjun. Application of 2BZ-40/12 type impulse coal seam water injection pump[J].Safety in Coal Mines,2006,37(9):37-39.
[5] 赵振保.变频脉冲式煤层注水技术研究[J].采矿与安全工程学报,2008,25(4):486-489.
ZHAO Zhenbao.Study of technology of variable-frequency pulse water infusion into coal seam [J].Journal of Mining & Safety Engineering,2008,25(4):486-489.
[6] 李 波,张景松,姚宏章,等.高压脉动水力锤击煤层注水技术研究[J].矿业安全与环保,2011,38(2):14-16,19.
LI Bo,ZHANG Jingsong,YAO Hongzhang,et al. Research on seam water infusion technology by high-pressure pulse water hammer [J]. Mining Safety and Environmental Protection,2011,38(2):14-16,19.
[7] 林凤波,尚庆春,薛 玲,等.水力开窗径向水平井孔技术研究与试验[J].石油勘探技术,2002,30(5):25-26.
LIN Fengbo,SHANG Qingcun,XUE Ling, et al.Research and experiments on cutting windows by water-jetting techniques[J].Petroleum Drilling Techniques, 2002,30(5):25-26.
[8] 鲜保安,夏柏如,张 义,等.开发低阶煤层气的新型径向水平井技术[J].煤田地质与勘探,2010,38(4):25-28.
XIAN Baoan, XIA Bairu, ZHANG Yi,et al.Technical analysis on radial horizontal well for development of coalbed methane of low coal rank [J]. Coal Geology & Exploration, 2010,38(4):25-28.
[9] 侯玉品,张永利,章梦涛,等.超短半径水平井开采煤层气的探讨[J].矿山机械,2005,33(6):10-11.
HOU Yupin, ZHANG Yongli, ZHANG Mengtao, et al. Discussion of exploration of coal bed methane with ultra-short radius horizontal well[J].Mining & Progress Equipment, 2005,33(6):10-11.
[10] 张 义,鲜保安,赵庆波,等.超短半径径向水平井新技术及其在煤层气开采中的应用[J].中国煤层气,2008,5(4):20-24.
ZHANG Yi, XIAN Baoan, ZHAO Qingbo,et al. Study on new technologies of ultra-short radius radial horizontal wells and application in coal-bed methane development[J].China Coalbed Methane,2008,5(4):20-24.
[11] 鲜保安,孙 平,肖乾华.短半径径向水平井技术开发煤层气可行性分析[C]// 2008年煤层气学术研讨会论文集.北京:地质出版社,2008:286-292.
[12] 杨 刚,孟尚志,李 斌,等.深部煤层气T型水平井钻井技术[J].煤炭科学技术,2018,46(6):189-194.
YANG Gang, MENG Shangzhi, LI Bin,et al.Drilling technology of T-shaped well in deep coalbed methane[J].Coal Science and Technology,2018,46(6):189-194.
[13] 胡永雄,王乐顶,贾正发,等.井下作业中管柱上窜案例分析及应对措施[J].天然气与石油, 2017,35(6):54-58.
HU Yongxiong,WANG Leding, JIA Zhengfa,et al. Case analysis and response measures of string channeling in downhole operation[J].Natural Gas and Oil,2017,35(6):54-58.
[14] 李旭阳. 井下作业管柱轴向变形的理论计算及应用研究[D].西安:西安石油大学,2017.
[15] 李春颖. 高压注水工艺管柱优化研究[D].荆州:长江大学,2017.
[16] 潘 登.测试井管柱力学计算[D].成都:西南石油大学,2009.
[17] 曹立虎,张遂安,张亚丽.煤层气水平井煤粉产出及运移特征[J].煤田地质与勘探,2014,42(3):31-35.
CAO Lihu, ZHANG Suian,ZHANG Yali. Investigation of coal powder generation and migration characteristics in coalbed methane horizontal well[J]. Coal Geology & Exploration,2014,42(3):31-35.
[18] 刘寒月.煤层气井煤粉产出机理及运移规律研究[D].阜新:辽宁工程技术大学,2017.
[19] 毕延森,鲜保安,张晓斌,等.煤层气水平井玻璃钢筛管完井工艺技术[J].煤炭科学技术,2016,40(8):47-51.
BI Yansen,XIAN Baoan,ZHANG Xiaobin,et al. Fiber reinforced plastic screen pipe completion technology of coalbed methane horizontal well[J]. Coal Science and Technology,2016,40(8):47-51.