高级检索

空间约束下的巷道修复机反铲工作装置优化设计

Optimal design of working device for roadway repairing machine under space constraints

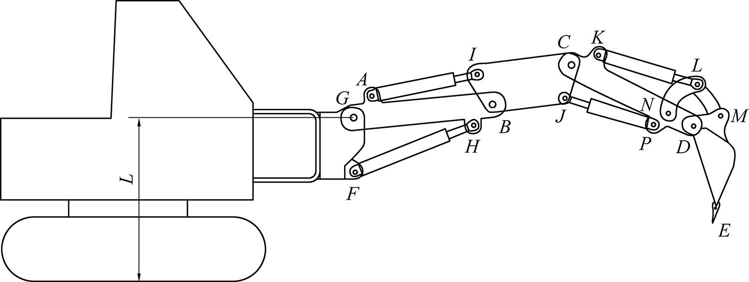
  • 摘要: 针对煤矿井下巷道修复机在有限巷道高度下的卸料高度要求,确定了反铲工作装置的三节臂结构形式。基于Denavit-Hatenberg 齐次变换矩阵建立了工作装置的运动学模型,推导了铲斗齿尖在坐标系中的位置表达式,建立了反铲工作装置的空间约束关系。以提高整机挖掘力为目标,以巷道修复机工作空间限制为约束条件,采用遗传算法对工作装置进行优化设计。优化结果表明,与经验参数相比较,反铲工作装置的挖掘力提高9.4%;动臂缩短8.9%,中间臂增加47.9%,斗杆缩短18.7%,工作装置总长缩短3.6%,节约了成本;空间约束对设计变量及挖掘力的影响显著。

     

    Abstract: In view of the unloading height requirements of the coal mine underground roadway repairing machine under the limited roadway height, the structure of backhoe working device was determined. The kinematic model of the working device was established based on the Denavit-Hatenberg homogeneous transformation matrix. The position expression of the bucket tooth tip in the coordinate system is derived, and the spatial constraints of backhoe working devicewere determined. Aiming at improving the digging force of the whole machine, and using the working space limitation of the roadway repairing machine as a constraint condition, the genetic algorithm was used to optimize the working device. The optimization results show that the excavation force of the backhoe working device increases by 9.4%; the length of boom is shortened by 8.9%, the length of intermediate arm increases by 47.9%,the length of arm is shortened by 18.7% and the total length of the working device is shortened by 3.6% to cost savings. It is clear that space constraints have significant effects on design variables and digging forces.

     

/

返回文章
返回