高级检索

孔隙型含水岩层中封水衬砌的水力荷载试验研究

Study on hydraulic load test of waterproof lining in pore type water-bearing rock

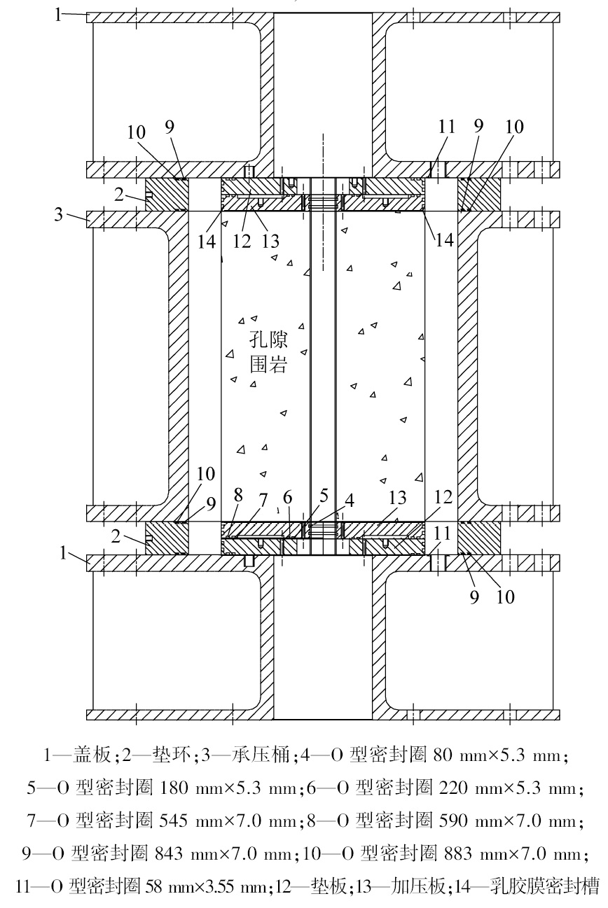
  • 摘要: 地下水是影响地下工程安全的重要隐患,在孔隙含水岩层中,由于目前的注浆技术无法有效封堵孔隙水,故高压孔隙水的不利影响尤为显著。为研究岩层孔隙水对封水衬砌上的水力荷载,掌握水力荷载与影响因素之间的变化规律,通过模型试验的方法,以金属圆管作为封水衬砌模型,以配制的多孔材料为孔隙围岩模型,获取不同孔隙水压作用下衬砌的应变数据,反算作用于衬砌的水力荷载,并分析了水力荷载与围岩孔隙率及围岩与衬砌接触状态的关系。研究结果发现:①当围岩与衬砌未发生剥离时,高压孔隙水的影响较小;②孔隙水压影响系数约为2倍围岩孔隙率,水力荷载显著小于孔隙水压;③当围岩与衬砌逐步发生剥离时,高压孔隙水影响急剧增大。结果表明:①高压孔隙水对封水衬砌的荷载作用与衬砌和围岩的接触状态有关,接触面积越大,直接与衬砌接触的孔隙水作用面积越小,孔隙水压的影响就越小,因此,降低接触面孔隙率,避免接触面发生剥离,高压孔隙水的荷载作用可控制在较低水平;②采用微膨胀混凝土、降低围岩的空帮时间、进行壁后注浆等设计、施工措施,加强衬砌与围岩的联结强度,提高衬砌与围岩间的相互作用力,可以降低接触面发生剥离的风险,进而把高压孔隙水的影响控制在较低水平。

     

    Abstract: Groundlwater is a great rik in the construction of underground engineering. In pore water bearing rmock , because of poor pluggingresult of the grouting technology , the advese effects of high-pressure pore water is paticularly significant. To research the hydlraulic loadon the waterproof lining sumroundedl in pore waler bearing rock, a modlel test which waterprof lining was simulated by a metal tube and thesuroundling rock was substitutel by a porwus similar material was carriedl out. The hydraulic load was calculated by the measured strain data of the similar lining under different pore water pressure. Also, the relationship between the hydlraulic load and the pormosity of sutround-ing rock as well as the contact state between surroundling rock and the lining were analyzed. T'he results show that when the suroundingrock and lining are fully in contact, the hyraulic load on the waterproof lining is significantly smaller than the pore water pressure , the in-fluence coefficient of pore walter presure is about twice of the rock pomsity.After the lining gradually peels off the surroundling rock , hy-draulic load increases rapilly and the load value can reach the value of the pore water presure.F urthermore, the hydraulic load is negr-tive correlation of the contact ratio between waterproof lining and the surounding mock.Therefore , reducing the porosity and avoiding thestripping of contact surface can decrease the hydraulic loal. Fimally , the design principle of the waterproof lining in pore water bearingrock is put forwardl , that improving the bond strength between the lining anmd the surroundling ock to increase the interaction of them canreduce the risk of the construction of underground engineering.

     

/

返回文章
返回