高级检索

松软破碎煤体取制样与剪切试验系统研制及应用

Development and application of sample preparation and shear test system for soft crushed coal

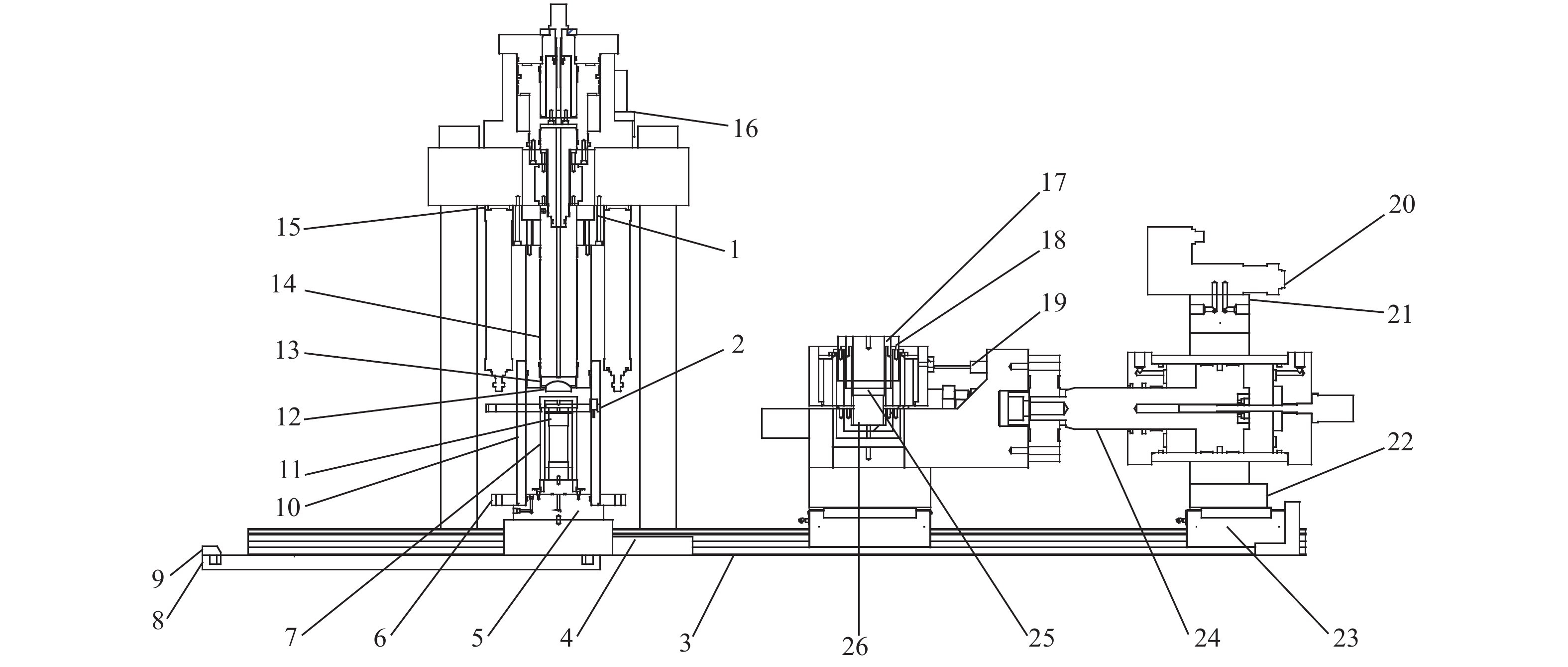
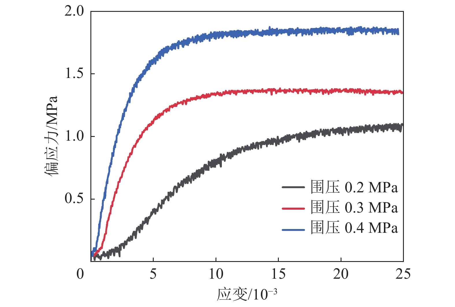
  • 摘要: 研究松软破碎煤体力学性质对巷道支护和煤与瓦斯突出预测等工作具有重要意义,但当前缺乏有效的松软破碎煤体取样、制样及力学特性分析装置。为此,研发了一套松软破碎煤体取制样与剪切试验系统,主要由取样装置、制样装置和力学特性参数测试系统组成,各部分具有以下主要功能与特点:①取样装置中的单动三管取芯器包含脑袋总成、外管总成及内管总成3部分,内外管间设置稳定环,保证内外管同心,内管总成腔体内部设置衬管用于储存煤心,取芯钻进时内管不随外管旋转;当钻取的煤心充满衬管后,退出取芯器,拆卸取出衬管,将煤心连同衬管一并取出并进行封装。取样装置灵活、轻便、易拆装携带。②制样装置包含脱模仪、切割机、冰箱、热风枪4部分,脱膜仪用于脱去煤心外层衬管,切割机、冰箱和热风枪用于对煤心进行切割、冷冻和热缩;制作标准煤心试件分为打孔润湿、冷冻切割和热缩脱模3个步骤,采用端头局部冷冻切割、脱模与热缩均匀同步等技术,实现多种标准尺寸试件制备,制样方法完善、成功率高。③力学特性参数测试系统包含主体结构、伺服油源控制装置和软件系统3部分,能实现限制性及非限制性直剪试验功能,主要用于开展松软破碎煤体标准试件不同法向应力下直剪试验、不同围压下三轴压缩试验。整体设计结构简单、操作方便。研究利用单动三管取芯器获取松软破碎煤体,利用脱模仪等制样装置将其制备成标准试件,进而在力学特性参数测试系统上分别开展松软破碎煤体标准试件在0.04、0.05、0.06、0.07、0.08、0.09 MPa法向应力下的直剪试验和0.2、0.3、0.4 MPa围压下的三轴压缩试验,并求得两种试验条件下松软破碎煤体的黏聚力和内摩擦角等抗剪强度参数,其中直剪试验求得的黏聚力和内摩擦角为0.125 kPa和37.2°,三轴压缩试验求得的黏聚力和内摩擦角为0.121 kPa和36.4°。结果表明,该套系统具有较好的实用性和可靠性,为研究松软破碎煤体力学特性提供了较好的试验平台和方法。

     

    Abstract: The study of mechanical properties of soft crushed coal is of great significance for roadway support and prediction of coal and gas outburst, but there is a lack of effective equipment for sampling, sample preparation and mechanical properties analysis of soft crushed coal. Therefore, a set of sample preparation and shear test system for soft crushed coal was developed, which was mainly composed of sampling device, sample preparation device and mechanical property parameter test system. The main functions and characteristics of each part was as following. ① The single-action three-tube coring device in the sampling device was comprised of 3 parts of head assembly, outer tube assembly and inner tube assembly. A stability ring was arranged between the inner and outer tube to ensure that the inner tube and the outer tube were concentric. A liner was arranged inside the inner tube assembly cavity to store coal cores, and the inner tube does not rotate with the outer tube during coring and drilling. When the drilled coal core was full of liner, then the coring device was withdrawn. The liner was disassembled and taken out, and the coal cores and liner were taken out and packaged together. The sampling device was flexible, portable and easy to disassemble and carry. ② The sample preparation device was comprised of 4 prats of stripping instrument, cutting machine, refrigerator and hot fan. The stripping instrument was used to strip the outer lining pipe of coal core. Cutting machine, refrigerator and hot fan was used to cut, freeze and heat shrink coal core. The production of the standard coal core sample is divided into 3 steps of punching and wetting, freezing and cutting, heat shrinking and stripping. Adopting the technology of partial freezing and cutting at the end, and synchronizing the demolding and heat shrinkage uniformly to achieve the sample preparation with various standard size, with perfect sample making method and high success rate. ③ The mechanical property parameter test system was comprised of 3 parts of main structure servo oil source control device and software system, which can realize restrictive and non-restrictive straight shear test function. It was mainly used to carry out straight shear test under different normal stress and triaxial compression test under different confining pressure of soft crushed coal standard specimen. The overall design structure was simple and convenient to operate. A single action three-tube corer was used to obtain soft crushed coal, and a sample preparation device such as a demolding instrument was used to prepare them into standard specimen in this study. Then the straight shear test and triaxial compression test of soft crushed coal standard specimen by using the mechanical property parameter test system were conducted under normal stress of 0.04, 0.05, 0.06, 0.07, 0.08, 0.09 MPa and confining pressure of 0.2, 0.3, 0.4 MPa, respectively. The shear strength parameters such as cohesion and internal friction angle of soft crushed coal was obtained under the two test conditions. The cohesion and internal friction angle obtained from straight shear test were 0.125 kPa and 37.2°, and those obtained from triaxial compression test were 0.121 kPa and 36.4°, respectively. The results show that the system has great practicability and reliability, and provides a better test platform and method for studying the mechanical characteristics of soft crushed coal.

     

/

返回文章
返回